Інгулецький гірничо-збагачувальний комбінат
ПАТ Інгулецький гірничо-збагачувальний комбінат — підприємство з видобутку і збагачення залізняку Інгулецького родовища, розташованого в південній частині Криворізького залізорудного басейну. Серед споживачів продукції найбільші металургійні підприємства України: «Запоріжсталь», «Маріупольський металургійний комбінат ім. Ілліча», «Азовсталь». На зовнішньому ринку споживачами продукції є металургійні заводи Східної Європи і Китаю.
| ИнГОК | |
|---|---|
|
Логотип | |
| Тип | Дочірнє підприємство |
| Форма власності | дочірнє підприємство |
| Галузь | Гірнича справа |
| Засновано | 1965 |
| Штаб-квартира | Кривий Ріг, Україна |
| Ключові особи | Олександр Миколайович Герасимчук |
| Продукція | залізорудний концентрат |
| Холдингова компанія | Метінвест |
| ingok.metinvestholding.com | |
| |
Розробляє Інгулецьке родовище залізистих кварцитів. На підприємстві використовується циклічно-потокова технологія видобування руди з використанням автомобільно-конвеєрного транспорту. Балансові запаси руди – 1,2 млрд т.[1]
З 2007 року «ІнГЗК» належить «Смарт-холдингу» російського підприємця Вадима Новинського, що входить до «Метінвест Холдинг». «Метінвест» входить до «Систем Кепитал Менеджмент» Ріната Ахметова.
Історія
9 лютого 1961 року в радянських ЗМІ повідомлялося, що у місті Кривий Ріг розпочато будівництво Інгулецького гірничо-збагачувального комбінату.
Побудований в 1966 на базі Інгулецького родовища залізистих кварцитів. Підприємство засновано у квітні 1965 року. 30 червня 1965-го введена в експлуатацію перша черга комбінату потужністю видобутку залізної руди у 7,2 млн т і виробництва залізорудного концентрату з часткою заліза 64,4 % в кількості 3,05 млн т. У 1975 році введено в експлуатацію останню 3-ю чергу комбінату.
Включає: кар'єр, дробарну, збагачувальну фабрики, корпус флотації, залізничніий цех, цех технологічного автотранспорту, автотранспортний цех, цех технологічного водопостачання і шламового господарства та ряд допоміжних цехів (підрозділів ).
Інгулецьке родовище розташоване в південній частині Криворізького залізорудного басейну і представлене пластовим покладом (потужність від 100 до 1000 м, довжина 2,5 км, ширина 1,2 км). У геологічній будові родовища беруть участь породи криворізької серії (граніти і залізисті кварцити протерозою), перекриті осадовими породами — глинами, піском, вапняками кайнозою. Потужність перекриваючих порід 30-40 м. За мінералогічним складом розрізняють руди силікатно-магнетитові, магнетитові, магнетито-силікатні роговики, магнетитові і гематито-магнетитові джеспіліти. Запаси руди Інгулецького родовища бл. 1,6 млрд т при середньому вмісті Fe 32,4 %.
Розробка родовища ведеться кар'єрним способом. При відкритих роботах розкриття родовища здійснюють постійними внутрішніми траншеями. Система розробки — транспортна з вивезенням пустих порід у зовнішні відвали. Глибина кар'єру 426 м (станом на 2013 р.). Проектна 500 м, щоправда іде мова про розробку потужностей до 600 м. Розкриття — вертикальними стовбурами.

Система розробки поповерхове обвалення з відбійкою руди веєрними свердловинами. Використовується повторна розробка раніше втрачених руд. Гірничотранспортне обладнання — прохідницькі комплекси, бурові каретки, вантажні машини, контактні електровози. Вилучення руди в процесі видобутку — 98 %, розубожування — 2 %. Збагачення багатих руд-сортуванням, бідних (залізисті кварцити) — методом мокрої магнітної сепарації. Вилучення заліза при збагаченні 88 %. Окиснені залізисті кварцити, що попутно добуваються складуються окремо. Розкривні породи використовуються для будівництва гребель, виробництва щебеню.
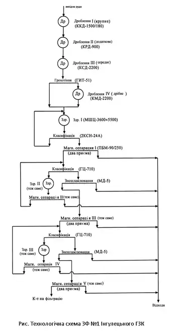
На початку XXI ст. сировинною базою комбінату є залізисті кварцити Інгулецького родовища, що знаходяться у південній частині Криворізького залізорудного басейну. Родовища відробляються відкритим способом, максимальний розмір куска підірваної руди 1200 мм. Стан запасів на 01.01.2003 р. по кар'єрам ІнГЗКа: розкритих запасів 196,7 млн т, підготовлених до розкриття 25,4 млн т, готових до виїмки 7,9 млн т, забезпеченість до виїмки запасами 2,9 млн т сировини на місяць. В середньому ІнГЗКа видобуває 30,7 млн т руди на рік. Основним методом збагачення є магнітний у слабкому полі. Технологічна схема збагачувальних фабрик № 1, 2 включає 4 стадії підроблення, 3 стадії подрібнення і 4-5 стадій магнітної сепарації. У кожній стадії отримуються відходи, а промпродукт переробляється далі. Як операція попереднього збагачення застосовується суха магнітна сепарація у слабкому полі. На фабриці № 3 застосована схема самопомелу руди; передбачено дроблення сировини до 300 мм, дві стадії подрібнення і три стадії магнітної сепарації, що виконується в 2-3 прийоми. В цілому по комбінату у результаті повного циклу збагачення із руди з масовою часткою загального заліза (Fe заг) 32,6-36,7 % отримують концентрат з масовою часткою Fe заг 63,8-63,9 %, вологістю бл. 10 %. Руди належать до категорії важко збагачувальних. З метою доводки концентрату до високоякісних сортів на комбінаті введена перша черга флотації магнетитового промпродукту. В середньому на рік комбінатом випускається близько 12,4 млн т концентрату. На комбінаті встановлені дробарки типу ККД 1500/180; КРД 900/100; КСД 2200; КМД 2200; на збагачувальних фабриках — млини МШР 3,6 х 4,0; МШР 4,5 х 5,0; МШЦ 3,6 х 5,5; магнітні сепаратори типу ПБМ-120/300; вакуум фільтри Ду-100. Питомі витрати електроенергії станом на 01.01.2003 р. на 1 т концентрату 140,8 кВтּгод. Перспективний проект — застосування флотації, як методу дозбагачення концентрату на повну потужність комбінату, поряд з реорганізацією і переоснащенням збагачувального виробництва для підвищення якості товарної продукції, можливість будівництва на комбінаті потужностей з прямого відновлення сталі.
Видобуток у кар'єрі 70 млн т рудної маси щорічно. ГЗК виробляє 14 млн т залізорудного концентрату.
Чисельність персоналу — 4931 осіб.[1]
Середня заробітна плата (до стягнення податків на рівні працівника) — 135 тис. грн на рік.[1]
Об'єми виробництва концентрата
Примітки
Джерела
- Гірничий енциклопедичний словник : у 3 т. / за ред. В. С. Білецького. — Д. : Східний видавничий дім, 2004. — Т. 3. — 752 с. — ISBN 966-7804-78-X.
- Інститут історії України
- Інгулецький ГЗК почав експортувати залізнорудний концентрат до Мексики. http://uprom.info/. Національний промисловий портал. 7 липня 2018. Процитовано 7 липня 2018.
- Метінвест отримає вісім кар’єрних самоскидів Caterpillar 785C на Інгулецький ГЗК. http://uprom.info/. Національний промисловий портал. 9 червня 2017. Процитовано 30 липня 2018.
- Криворізькі металурги отримали нове обладнання Українського виробництва. http://uprom.info/. Національний промисловий портал. 16 листопада 2018. Процитовано 17 листопада 2018.
