Автоматичне регулювання процесами масляної агломерації
Автоматичне керування процесами масляної агрегації
Загальна характеристика об'єкта керування
Всі різновиди процесу селективної масляної агрегації (СМА) незалежно від їх апаратурного забезпечення представляють у вигляді двох послідовно протікаючих етапів:
- А. Власне масляна селекція (вугілля);
- В. Агрегатування виділеного вугілля у флокули, агломерати або гранули.
Реалізація цих етапів може здійснюватися як автономно, так і в одному робочому об'ємі (за виключенням процесу по «амальгамному» механізму).
Основним каналом управління процесом СМА, дозволяючим впливати на крупність вугільних агрегатів, їх міцність, ступінь вилучення органічної маси з вихідного вуглевміщаючого продукту, зольність продуктів агломерації, кількість залишкових масел у воді є витрати масла-зв'язуючого. В залежності від прийнятої цільової функції, вихідного продукту, технологічної схеми алгоритм системи дозування зв'язуючого має різні складові, але головним принципом є пряма пропорційна залежність кількості подаваємого в процес масла від зовнішньої питомої поверхні вугілля.
Важливим параметром управління процесу СМА вугілля, який визначає ефективність етапу «А», є концентрація водневих йонів (рН-суспензії). Раціональне значення водневого показника середовища залежить від марки вилучаємого вугілля, фізико-хімічних властивостей мінеральної складової суспензії і може бути стабілізовано з допомогою системи автоматичного регулювання (САР) по відхиленню.
Вміст твердого в суспензії розглядається як регулюємий параметр в процесі «амальгування» i як стохастичне збурення у інших різновидах СМА (де в силу високого ступеню самовирівнювання процесу допускається його варіювання в межах 20…40% від оптимального). Для САР витратами зв'язуючого зміна вмісту твердого в суспензії розглядається як випадкове збурення.
Об'ємне навантаження (по пульпі) на технологічні апарати у всіх ви-падках СМА виконує функцію вхідного регулюємого параметру. САР цим параметром є системою по відхиленню. В той же час для САР витратами зв'язуючого зміна об'ємного навантаження є збуренням.
Зміна зольності та гранулометричного складу вихідної вугільної сировини належать до важливих стохастичних збурень, які можна зменшити попереднім усередненням вихідного матеріалу.
Ступінь турбулізації суспензії на всіх етапах процесу відіграє суттєву роль, задається на певному, наперед визначеному раціональному рівні і визначається конструктивними параметрами апарату агломерації (грануляції). Як правило, оперативно не регулюється.
Основними критеріальними вихідними параметрами процесів СМА є зольність відходів і концентрату, вологість концентрату, а в деяких випадках і його крупність, адгезійна здатність (липкість), міцність.
Керування процесом СМА за принципом «по відхиленню» наштовхується на такі труднощі: відсутність надійно діючих датчиків для оперативного контролю вихідних параметрів і складність реалізації подібних систем в силу значної інерційності об'єкта управління по більшості каналів і відсутності інваріантності дії локальних САР. У зв'язку з цим, при розробці схеми автоматизації процесів СМА максимально використовується принцип компенсації стохастичних збурень і стабілізації з допомогою локальних сис-тем регулювання «по відхиленню» не вихідних, а проміжних параметрів, які тісно корелюють з вихідними.
Згідно з цими положеннями, нижче описані пропонуємі схеми автоматизації двох технологій СМА — по «амальгамному» та «коалесцентному» механізмам.
Автоматизація «амальгамних» процесів СМА вугілля

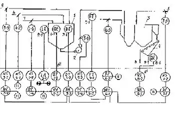
Схема установки масляної грануляції вугілля (рис.) включає технологічне обладнання: ємкість для приготування суспензії (1), насос (2), двокаскадний апарат грануляції (3), обезводнюючий грохот (4), а також елементи автоматики. Схема автоматизації включає такі системи керування, контролю і регулювання:
- 1. Стабілізації рН-суспензії;
- 2. Контролю рівня суспензії;
- 3. Регулювання густини суспензії на етапі «А»;
- 4. Регулювання витратами вихідного вугілля;
- 5. Регулювання об'ємного навантаження на процес;
- 6. Дозування зв'язуючої рідини;
- 7. Регулювання густини суспензії на етапі «В»;
- 8. Контролю зольності відходів СМА.
Система автоматичного регулювання рН суспензії (САР-1) працює за принципом «по відхиленню» i складається з елементів: датчик рН(1-1), перетворювач для дистанційної передачі інформації (1-2), вторинний прилад (1-3), регулятор із задатчиком (1-4), пускова апаратура (1-5), виконавчий механізм з регулюючим органом (1-6) на тракті живлення регулятора середовища — розчину гідроксиду натрію.
САР-1 близька до інваріантної, основне збурення можливе з боку об'ємного навантаження. Проведені аналітичні дослідження подібної системи показали, що задовільний перехідний процес забезпечується Пі-законом регулювання при запасі стійкості по модулю і фазі відповідно 0,6 та 45 °. Найбільш відповідальною є система САР-6, яка працює в режимі систе-ми стеження з корегуємим коефіцієнтом передачі. Вхідний сигнал системи формується в блоці множення (6-1), де здійснюється розрахунок навантажен-ня на процес по твердому продукту. Вхідна інформація на функціональний блок поступає з реєструючих вторинних приладів вмісту твердого в суспензії (3-3) та її об'ємних витрат (5-3). Регулюючий блок (6-2) має задатчик (Н) для зміни питомих витрат зв'язуючого в залежності від зольності і грануломет-ричного складу вихідного вугілля. В подібному режимі компенсації збурень працює і САР-7, призначена для стабілізації густини суспензії на другому каскаді гранулятора. Вхідний сигнал тут також знімається з блоку навантаження по твердому продукту (6-1), пропорційно якому з заданим коефіцієнтом (задатчик Н) регулятор (7-1) дозує воду в процес. Треба зауважити, що реалізація САР-7 утруднена в зв'язку з технічною складністю оперативного контролю густини суспензії, що містить вугільно-масляні структури. Інші системи автоматичного регулювання (САР-3, САР-5) працюють за принципом «по відхиленню» i включають ті ж функціональні елементи, що і САР-1.
Автоматизація «коалесцентних» процесів СМА вугілля

На рис. показана раціональна схема автоматизації процесів СМА по «коалесцентному» механізму. Вихідна суспензія характерна випадковими значеннями вмісту твердої фази (переважно в межах 150–250 г/л) та змінним гранулометричним складом. Ці фактори розглядаються як збурення. Узагальнена схема включає такі системи:
- — контролю вмісту класу 0-0,1 мм;
- — САР рН-суспензії;
- — контролю густини суспензії;
- — САР об'ємного навантаження;
- — САР витрат зв'язуючої речовини;
- — контролю рівня суспензії;
- — контролю зольності відходів.
На відміну від вище розгляненої схеми автоматизації тут передбачається складна багатоконтурна САР витрат зв'язуючого. Основний вхідний сигнал цієї САР, як і раніше, формується у функціональному блоці (5-1) у вигляді величини відображаючої навантаження по твердому продукту. Регулюючий блок (5-2) поряд з цим сигналом одержує інформацію про вміст в суспензії тонких класів від вторинного приладу (1-3), який за допомогою корегуючої ланки змінює вихідний сигнал керування теристорним перетворювачем (5-3). Останній змінює частоту обертання ротора двигуна (5-4), тобто регулює продуктивність шестерневого насосу подачі зв'язуючого (5).
Література
- Білецький В. С., Сергеев П. В., Папушин Ю. Л. — Теорія і практика селективної масляної агрегації вугілля — Донецьк: Грань. — 1996. — 264 с.
- Папушин Ю. Л., Білецький В. С. Основи автоматизації гірничого виробництва. — Донецьк : Східний видавничий дім, 2007. — 168 с. — ISBN 978-966-317-004-6.