Апарати захисту
Апара́т за́хисту — електричний апарат, який автоматично відключає електричне коло, що підлягає захисту, при ненормальних режимах[1].
Призначення
Ненормальні режими роботи, що є характерними для електричних кіл (мереж), такі: коротке замикання, перевантаження, наявність струмів витоку, зниження напруги, імпульсні перенапруги.
Апарати захисту призначені для запобігання пожежонебезпечним наслідкам ненормальних режимів роботи, а саме:
- розплавлянню і загорянню ізоляційних матеріалів;
- розплавлянню металу провідників і розлітанню крапель, нагрітих до високої температури;
- тривалому горінню електричної дуги, температура якої може сягати +4000 ºС;
- обриву ділянок електропроводки в результаті динамічного впливу струмів КЗ;
- передчасному старінню ізоляції.
Класифікація
Апарати захисту класифіковані за видом аварійного режиму, від наслідків якого здійснюється захист електричної мережі, за принципом дії, за ступенем захисту оболонки.
Класифікація апаратів захисту за видом аварійного режиму, від наслідків якого здійснюється захист електричної мережі:
- захист від КЗ (здійснюється за допомогою плавкого запобіжника, автоматичного вимикача з розчіплювачем струмів КЗ — електромагнітним, комбінованим або напівпровідниковим);
- захист від перевантажень (здійснюється за допомогою плавкого запобіжника (за малих перевантажень — ненадійно), теплового реле, автоматичного вимикача з розчіплювачем струмів перевантаження — тепловим, комбінованим або напівпровідниковим);
- захист від струмів витоку (здійснюється за допомогою ПЗВ);
- захист від зниження напруги (здійснюється за допомогою автоматичного вимикача з мінімальним або нульовим розчіплювачем напруги);
- захист від імпульсних перенапруг (здійснюється за допомогою ПЗІП).
Захист від КЗ повинні мати всі електричні мережі.
Захист від перевантажень повинні мати мережі житлових будинків і споруд громадського призначення, службово-побутових приміщень промислових підприємств, торгових установ, електромережі у вибухо- та пожежонебезпечних зонах. Силові мережі повинні мати захист від перевантажень, тільки якщо за умовами технологічного процесу може статися тривале перевантаження провідників.
Захист від струмів витоку за допомогою улаштування ПЗВ є обов'язковим для електричних мереж житлових будинків, будівель та споруд громадського призначення.
Захист від перенапруг, викликаних розрядами блискавки, рекомендується виконувати шляхом встановлення ПЗІП в електричних мережах на межах зон захисту від вторинних дій блискавки.
Класифікація апаратів захисту за принципом дії:
- роз'єднання кола в результаті розплавляння струмоведучого елемента (плавкий запобіжник);
- роз'єднання кола в результаті спрацьовування електромагніту (автоматичний вимикач з електромагнітним розчіплювачем);
- роз'єднання кола в результаті безпосереднього або непрямого нагрівання і вигинання біметалевого елемента апарата захисту (автоматичний вимикач з тепловим розчіплювачем, теплове реле);
- роз'єднання кола за допомогою напівпровідникового силового приладу (автоматичний вимикач з напівпровідниковим розчіплювачем);
- роз'єднання кола за досягнення (перевищення) диференційним струмом заданої величини струму (пристрій захисного відключення, керований диференційним струмом (ПЗВД));
- шунтування електричного кола при виникненні імпульсної перенапруги (ПЗІП).
Класифікація апаратів захисту за ступенем захисту оболонки
За ступенем захисту оболонки апарати захисту повинні відповідати умовам навколишнього середовища. Апарати захисту у вибухозахищеному виконанні не випускаються. Як правило, апарати захисту встановлюються в розподільних пристроях, захисна оболонка (або вибухозахист) яких повинна відповідати умовам навколишнього середовища.
Типи
Запобіжники

Плавкий запобіжник — електричний комутаційний апарат одноразової дії, який при розплавлянні одного або декількох спеціально спроектованих та розрахованих елементів (плавких вставок) розмикає електричне коло, в яке він включений, відключаючи струм, величина якого перевищує задане значення протягом достатньо тривалого часу.
Плавкий запобіжник є історично першим та найбільш поширеним апаратом захисту. Плавкий запобіжник надійно захищає електричне коло від КЗ та великих перевантажень, ненадійно — від малих перевантажень. Технічні вимоги до плавких запобіжників регламентуються національним стандартом ДСТУ IEC 60269-1.
Плавкий запобіжник складається з трьох основних частин: корпуса (призначений для монтажу складових елементів плавкого запобіжника), контактів (призначені для вмикання плавкого запобіжника в монтажну панель) і плавкої вставки (чутливий елемент). Деякі плавкі запобіжники оснащуються покажчиком спрацювання (індикатором), який дозволяє візуально визначати стан (цілісність) плавкої вставки.
Принцип дії плавкого запобіжника базується на виділенні тепла струмом, що проходить по плавкій вставці. У нормальних умовах це тепло розсіюється в навколишнє середовище. Якщо кількість виділеного тепла перевищує кількість відведеного тепла, то його надлишок викликає підвищення температури вставки і вона перегоряє (плавиться або спрацьовує).
Корпус плавкого запобіжника виготовляється з негорючих полімерних матеріалів, скла, кераміки. Більшість плавких запобіжників виготовляється із закритим корпусом. Плавкі запобіжники із закритим корпусом можуть бути з наповнювачем і без нього. У плавких запобіжниках з наповнювачем електрична дуга, що виникає при розплавлянні плавкої вставки, гаситься в порошкоподібному або зернистому наповнювачі, а у плавких запобіжниках без наповнювача — внаслідок високого тиску газів у корпусі.
Автоматичні вимикачі
Автоматичний вимикач (автомат) — електромеханічний комутаційний апарат багаторазової дії, спроможний вмикати, проводити та вимикати струми при нормальному стані електричного кола, а також вмикати, проводити протягом заданого часу й автоматично вимикати струми у визначених ненормальних режимах роботи електричного кола. Технічні умови до автоматичних вимикачів регламентуються національним стандартом ДСТУ 3025.
Автоматичні вимикачі за номінальної напруги та номінальної сили струму до 100 А повинні витримувати не менше 1500 вмикань, за номінальної сили струму від 100 до 630 А — 1000 вмикань, вище 630 А — 500 вмикань.
Автоматичний вимикач складається з таких основних частин: корпус, кришка, дугогасна камера, механізм керування, механізм вільного розчіплювання, розчіплювач (автоматичний вимикач може мати декілька розчіплювачів).
Теплові реле

Теплові реле застосовуються для захисту від перевантажень. Достатньо часто теплові реле для захисту від перевантажень електричних двигунів вбудовуються у магнітні пускачі.
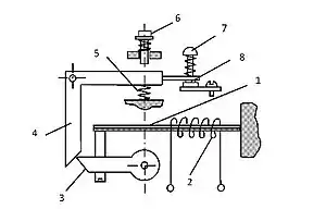
Чутливим елементом теплового реле є біметалева пластина, що нагрівається струмом (подібно тепловому розчіплювачу автоматичного вимикача). Нагрівання біметалевої пластини може здійснюватися від спеціального нагрівального елемента, що вмикається паралельно біметалевій пластині (аналогічно тепловому розчіплювачу непрямої дії), або від струму в самій біметалевій пластині (розчіплювач із безпосереднім нагрівом), або комбіновано (розчіплювач зі змішаним нагрівом).
При проходженні струму перевантаження по нагрівальному елементу 2 біметалевої пластини 1 теплового реле її незакріплений кінець вигинається униз (у бік металу з меншим коефіцієнтом лінійного поширення) і звільняє засувку 3, яка, у свою чергу, звільняє важіль 4. Важіль 4 під дією пружини 5 повертається проти стрілки годинника і розмикає контакти 8. Кнопка 6 призначена для ручного повертання важеля 4 у вихідне положення. Гвинт 7 є регулювальним.
Пристрої захисного автоматичного вимикання живлення
Захисним автоматичним вимиканням живлення в електроустановках називається автоматичне розмикання одного або кількох лінійних (фазних) провідників і, у разі потреби, нейтрального провідника, яке виконується з метою електробезпеки[2].
Захисне автоматичне вимикання живлення забезпечується за допомогою ПЗВ. Технічні вимоги до ПЗВ регламентуються стандартом ГОСТ 12.4.155.
ПЗВ не тільки забезпечує електробезпеку, але й запобігає пожежам. ПЗВ здійснює вимикання споживачів електричної енергії при виникненні струмів витоку, величина яких є значно меншою за струму КЗ. Тому ПЗВ запобігає нагріву провідників — тобто забезпечує пожежну безпеку.
Диференційні автоматичні вимикачі
Диференційний автоматичний вимикач (диференційний автомат) поєднує в одному апараті автоматичний вимикач та ПЗВ, тобто здійснює захист як від КЗ та перевантаження, так і від струмів витоку. Характеристики диференційного автомата поєднують у собі характеристики відповідно автоматичного вимикача та ПЗВ.
Пристрої захисту від імпульсної перенапруги
В електричних мережах може виникати імпульсна (короткочасна) перенапруга, викликана, наприклад, розрядом блискавки або перехідним процесом при комутації. Захистом електричних мереж від впливу перенапруги є улаштування ефективної системи заземлення, вирівнювання потенціалів та улаштування ПЗІП.
Пристрій захисту від імпульсної перенапруги (ПЗІП) — пристрій, призначений для обмеження перехідних перенапруг і для відводу імпульсного струму. Випускаються ПЗІП одноразової та багаторазової дії.
Див. також
Примітки
- п. 3.1.2 ПУЕ
- визначення приведено в п. 1.7.42 ПУЕ
Джерела
- Кулаков О. В., Росоха В. О. Електротехніка та пожежна профілактика в електроустановках : підручник. — Харків : Національний університет цивільного захисту України, 2012.
- Правила улаштування електроустановок. — 4-те вид., перероб. і доп. — Х. : Вид-во «Форт», 2011. — 736 с.
- Довідник сільського електрика / за редакцією кандидата технічних наук В. С. Олійника. — 3-тє видання, перероблене і доповнене. — Київ : Вид-во «Урожай», 1989. — 264 с.
- ДСТУ 2843-94. Електротехніка. Основні поняття. Терміни та визначення. Чинний від 1995-01-01. — Київ : Держспоживстандарт України, 1995. — 65 с.
- ДНАОП 0.00-1.32-01. Правила улаштування електроустановок. Електрообладнання спеціальних установок. — Київ, 2001.