Ареометр
Арео́метр (грец. αραιος — рідкий і μετρον — міра) — прилад для вимірювання густини рідин за виштовхувальною силою, яка діє на тіло, що частково або повністю занурене в рідину, і яка зрівноважена вагою тіла та (чи) грузилами відомої маси. Дія приладу базується на законі Архімеда.

Застосовують ареометри сталої маси і аерометри сталого об'єму, які можна застосовувати для вимірювання густин рідин (див. денсиметрія) та твердих тіл (за об'ємом витісненої рідини і масою тіла). Більш поширені перші.
Види
Денсиметр
Денсиметр — вимірювач густини розчинів. Це пристрій сталої ваги, проградуйований в одиницях густини, або ареометр для вимірювання концентрації розчинів у %.
Виготовляють їх із скляної трубки, в нижню частину якої кладуть баласт (ртуть, свинцевий дріб) для надання стійкого вертикального положення. Такий ареометр занурюється тим глибше, чим менша густина рідини. На трубці ареометра нанесена шкала, проградуйована при певній т-рі в г/см³ або в градусах Боме (°Be). В СРСР застосовували ареометри, шкала яких проградуйована в г/см³ при температурі +20 або +4 °С. В разі відхилення температури досліджуваної рідини від нормальної до показів ареометра застосовують температурну поправку за формулою:
D2 = D1 [1 — α (t2 — t1)], де D1 — покази А., t1 — температура, при якій проградуйовано ареометр, D2 — густина при t2, при якій проведено вимірювання, α — коефіцієнт розширення рідини.
Залежно від того, для вимірювання питомої ваги яких розчинів слугують ареометри, вони називаються: лактометри — для визначення жирності молока, спиртометри — для визначення вмісту винного спирту у воді, сахарометри — для визначення густини цукрових розчинів, алкалиметри — для лугів, ацетометри — для оцту, олеометри — для жирів, ареометри бурові тощо.[1]
Ареометр Боме
Ареометр Боме винайшов французький хімік Антуан Боме в 1768 році. Його застосовують для визначення густини розчину в градусах Боме (°Be). Градуси означають питому вагу розчину і відповідають відомим цифрам таблиць, які виражають питому вагу.[1] Нульова мітка шкали Боме відповідає густині води, а мітка 10°Be — густині 10 % розчину NaCl. Ареометр під власною вагою занурюється більше або менше в рідину, в залежності від її густини.[2] Ареометр Боме використовується для вимірювання щільності розчинів хлориду натрію (салінометр), крохмалю, сиропів, сірчаної кислоти, гідроксиду натрію.
Ареометр буровий
Ареометр буровий є приладом для вимірювання густини бурового розчину. Ареометр буровий має шкали для менших (800—1700 кг/м3) і більших (1700—2800 кг/м3) величин густини, а також шкалу поправок впливу густини води.
Густиномір з плаваючим поплавком

Густиномір з плаваючим поплавком являє собою ареометр постійної ваги. В густиномірах з плаваючим поплавком вимірюється глибина l занурення поплавка, яка зв'язана з шуканою густиною ρ рідини залежністю:
- ρ = М/(La — V — lS) + ρп
де М — маса поплавка без маси повітря у його об'ємі; L i S — довжина окружності і площа поперечного перетину стержня поплавка; V — об'єм поплавка (без стержня); а — капілярна постійна рідини; ρп — густина повітря.
Існує багато різновидів конструкцій густиномірів з плаваючим поплавком, які відрізняються за типом (механічні, електричні, пневматичні) і конструкцією (індуктивні, потенціометричні і т. ін.) перетворювачів для дистанційної передачі показників.
Схема густиноміра з плаваючим поплавком наведена на рис. 2.
Рідина по вхідній трубі 11 надходить у переливну судину 10, яка забезпечує постійний напір, а з відтіля по підвідної трубі 8 — у основну судину 4, яка також має переливний пристрій. Необхідна швидкість потоку встановлюється за допомогою діафрагми 9 та взаємного зміщення судин по вертикалі. Для корекції показників на зміну температури в схему включений термометр опору. Вплив температури на густину рідини компенсують також приєднанням до поплавку пристрою у вигляді сильфону заповненого рідиною з тим же коефіцієнтом об'ємного розширення, що й досліджувана.
Основні недоліки густиномірів з плаваючим поплавком: громіздкість (з-за значної висоти); залежність показань від капілярних властивостей рідини і швидкості потоку; необхідність відкритого корпуса пристрою. Густиноміри з плаваючим поплавком мають погрішність показань від ± 0,2 до ± 2 % (залежно від типу приладу).
Густиномір з зануреним поплавком

Файл:Густиномір4.png Густиномір з зануреним поплавком являє собою ареометр постійного об’єму. В густиномірах з зануреним поплавком вимірюється діюча на нього виштовхуюча сила F, яка зв’язана з шуканою густиною рідини залежністю:
ρ = F/Vg
де F – об’єм поплавка; g – прискорення вільного падіння.
В таких густиномірах виключений або зведений до мінімуму вплив капілярних властивостей рідини. Основним джерелом погрішності приладів цього типу є динамічна дія потоку рідини на поплавок (в окремих конструкціях вона також зведена до мінімуму).
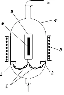
Виштовхуюча сила, що діє на поплавок урівноважується силою ваги поплавка 5 (рис. 3) і визначеної частини каліброваних ланцюжків 1.
При збільшенні густини рідини виштовхуюча сила зростає і поплавок спливає, доти сила ваги ланцюжків не врівноважить приріст виштовхуючої сили.
В поплавок вроблений сердечник 6 з феромагнітного матеріалу, а вимірювальна камера приладу поміщена в середину котушки індуктивного датчика переміщень 3, за допомогою якого здійснюється реєстрація і передача показань. Границі вимірювань приладу регулюють зміною поплавка і ланцюжків.
Висока чутливість приладу дозволяє використовувати його для малих діапазонів вимірювань (5 кг/м3 і більше).
Поплавковий густиномір з пневматичним перетворювачем

Поплавковий густиномір з пневматичним перетворювачем (рис. 4) працює за принципом врівноважування сил. Частина рідини, що протікає по трубопроводу, безперервно надходить у вимірювальну камеру приладу. Рідина тече знизу уверх уздовж верхньої половини поплавка і зверху униз уздовж його нижньої половини, що забезпечує мінімальну дію потоку на поплавок.
Коромисло врівноважується противагою так, щоб переміщення поплавка уверх починалося при його зануренні у рідину, густина якої відповідає нижньої межі вимірювань приладу. При вимірюваннях коромисло утримується у вихідному положенні рівноваги за допомогою пневматичного перетворювача типу сопло-заслінка і системи зворотного зв'язку, що складається з мембранної коробки, що передає силу, яка пропорційна тиску на штовхач.
Регулювання нижньої межі вимірювань здійснюється зсувом вантажу регулятора, зміна верхньої межі і діапазону вимірювань — за рахунок відповідного вибору розмірів поплавка і мембрани, а також їхніх відстаней від осі повороту коромисла. Найменший досяжний діапазон вимірювань складає 50 кг/м3, верхня межа вимірювань приладу практично на обмежена.
Див. також
Література
- Мала гірнича енциклопедія : у 3 т. / за ред. В. С. Білецького. — Д. : Донбас, 2004. — Т. 1 : А — К. — 640 с. — ISBN 966-7804-14-3.
- Українська радянська енциклопедія : у 12 т. / гол. ред. М. П. Бажан ; редкол.: О. К. Антонов та ін. — 2-ге вид. — К. : Головна редакція УРЕ, 1974–1985.
Джерела
- Фишер Г. Практіческий мыловаръ. Практическое руководство къ фабрикаціи всЂхъ сортовъ мыла / Издательство: Петроградъ: Изданіе В. И. Губінскаго. Переводъ В. Дмитріева. — 1914, С.: 240 (с:229)
- Спижевский И. Батареи и аккумуляторы для радиоприемников. Колхозная радиобиблиотека — М.: Жургазоб'единение, 1937. С.:66 (с.:45)