Будівельне креслення
Будіве́льне кре́слення — підрозділ технічного креслення, у якому розглядаються прийоми і правила виконання та оформлення будівельних креслеників (креслеників об'єктів будівництва).

Будівельними креслениками називають кресленики з приналежними до них текстовими документами, що містять проеційовані зображення споруди або її частин та інші дані, необхідні для її спорудження, а також для виготовлення будівельних виробів та конструкцій.
Зміст та види будівельних креслеників
Зміст та оформлення будівельних креслеників, масштаби, що застосовуються, та умовні позначення на креслениках у значній мірі залежать від виду будівельних об'єктів, а також від призначення самих графічних документів.
Різноманітні будівельні об'єкти (будівлі та споруди) залежно від призначення поділяють на чотири основні групи:
- житлові та громадські будівлі, що об'єднуються спільною назвою — цивільні будівлі; до громадських будівель належать гуртожитки, клуби, лікарні, школи, різні адміністративні будівлі;
- промислові будівлі — будівлі фабрик, заводів та інших виробничих організацій, будівлі гаражів, електростанцій, котелень тощо;
- сільськогосподарські будівлі — будівлі для утримання худоби і птиці, для ре¬монту та зберігання сільськогосподарської техніки, склади та сховища продукції тощо;
- інженерні споруди — це об'ємні, площинні або лінійні наземні, надземні або підземні будівельні системи, що складаються з несучих та в окремих випадках огороджувальних конструкцій і призначені для виконання виробничих процесів різних видів, розміщення устаткування, матеріалів та виробів, для тимчасового перебування і пересування людей, транспортних засобів, вантажів, переміщення рідких та газоподібних продуктів тощо[1]; до інженерних споруд належать мости, тунелі, шляхові естакади, набережні, різноманітні гідротехнічні та земляні споруди, промислові печі, резервуари тощо.
За призначенням будівельні кресленики поділяються на дві основні групи: кресленики будівельних виробів, за якими на заводах будівельної індустрії, домобудівних комбінатах виготовляють окремі частини будівель та споруд, і будівельно-монтажні кресленики, за якими на будівельному майданчику монтують та зводять будівлі та споруди.
При виконанні та оформленні будівельних креслеників слід керуватись Державними стандартами.
Стадії проектування
Житлові, громадські та промислові будівлі зводять за затвердженими проектами та кошторисами. До складу проекту входять: кресленики, необхідні для провадження загальнобудівельних та спеціальних робіт і для монтажу обладнання, пояснювальна записка та кошторис, що визначає фінансову вартість будівництва й окремих видів робіт. Проекти і кошториси складають спеціальні проектні організації та інститути на підставі завдань організацій-замовників.
Відповідно до ДБН А.2.2-3-2014[2] проектування об'єктів:
- І та ІІ категорій складності виконують у дві стадії: техніко-економічний розрахунок (ТЕР) та робочий проект (РП) або в одну стадію: робочий проект (РП);
- III категорії складності проектування здійснюється в дві стадії: проект (П); робоча документація (Р);
- IV та V категорій складності проектування виконується у три стадії: техніко-економічне обґрунтування (ТЕО); проект (П); робоча документація (Р).
Техніко-економічне обґрунтування (розрахунок)
Техніко-економічне обґрунтування (розрахунок) розробляється на підставі вихідних даних для об'єктів виробничого призначення та лінійних об'єктів інженерно-транспортної інфраструктури, які потребують детального обґрунтування відповідних рішень та визначення варіантів і доцільності будівництва об'єкта. Техніко-економічний розрахунок застосовується для технічно нескладних об'єктів виробничого призначення та лінійних об'єктів інженерно-транспортної інфраструктури.
Техніко-економічне обґрунтування (розрахунок) обґрунтовує основні проектні рішення, потужність виробництва, номенклатуру та якість продукції, якщо вони не задані директивно, кооперацію виробництва, забезпечення сировиною, матеріалами, напівфабрикатами, паливом, електро- та теплоенергією, водою і трудовими ресурсами, включаючи вибір конкретної ділянки для будівництва, вартість будівництва та основні техніко-економічні показники.
Проект
Проект (перша стадія проектування) призначений для розгляду та оцінювання архітектурно-планувальних і конструктивних рішень, питань інженерного обладнання та організації будівництва, його кошторисної вартості та основних техніко-економічних показників з метою визначення можливості та доцільності будівництва запроектованого об'єкта і прийняття рішення щодо затвердження проекту. Затверджений проект є основою для розробки робочої документації з кошторисами.
Проектна документація розроблені та затверджені у встановленому порядку текстові та графічні матеріали, якими визначаються містобудівні, об'ємно-планувальні, архітектурні, конструктивні, технічні, технологічні рішення, а також кошториси об'єктів будівництва.
До складу проекту будівлі входять: пояснювальна записка, плани підвалу, типового і неповторювального поверхів, фасади, розрізи, монтажні кресленики з маркуванням індустріальних виробів, кошториси, техніко-економічні показники тощо. До складу проекту входить також схема генерального плану ділянки забудови із нанесенням проектованих та існуючих будівель.
Робоча документація
Робочу документацію з кошторисами (друга стадія проектування) створюють на основі затвердженого про¬екту. При одностадійному проектуванні усі будівельні кресленики є робочими.
До складу робочої документації на будівництво входять: архітектурно-будівельні кресленики будівлі (плани, фасади і розрізи) та, якщо необхідно, елементи планів, плани секцій і фрагменти фасадів; кресленики і схеми розташування фундаментів, перекриттів, стін, даху; кресленики конструктивних елементів — вузлів і деталей; кресленики санітарно-технічних пристроїв та благоустрою території.
Робочий проект
Робочий проект зі зведеним кошторисним розрахунком вартості служить як для розгляду і затвердження проектного рішення, так і для провадження будівельно-монтажних робіт. Робочий проект суміщений з робочою документацією; до його складу входять проектні матеріали, згадані вище.
Більшість промислових, житлових і громадських будівель, а також багато інженерні споруди будують за типовими проектами, що сприяє індустріалізації будівництва, поліпшенню його якості і значно знижує витрати на проектно-кошторисні роботи. До складу типового проекту входять усі робочі кресленики з пояснювальною запискою й кошторисом вартості будівництва.
Назви й маркування будівельних креслеників
Будівельні роботи поділяють на загально будівельні і спеціальні. До загально будівельних належать усі роботи з будівництва самої будівлі, з оздоблювальними включно; до спеціальних — роботи з улаштування водопостачання і каналізації, опалення і вентиляції, газопостачання, електроосвітлення, телефонізації, благоустрою. Відповідно до такого поділу будівельних робіт робочі кресленики поділяються на окремі частини або комплекти. Кожному такому комплекту (за ДСТУ Б А.2.4-4:2009) присвоюють назву і особливу марку, яку і проставляють на кожному кресленику цього комплекту в основному напису. Марка складається із великих початкових літер назви даної частини проекту. Назва і марки окремих комплектів робочих креслеників[3]:
| Найменування основного комплекту робочих креслень | Марка | Примітка | Найменування основного комплекту робочих креслень | Марка | Примітка | |
| Технологія виробництва | ТХ | — | Тепломеханічні рішення котельних | ТМК | — | |
| Технологічні комунікації | ТК | При об'єднанні робочих креслень всіх технологічних комунікацій | Гідротехнічні рішення | ГР | — | |
| Генеральний план та споруди транспорту | ГТ | При об'єднанні робочих креслень генерального плану та споруд транспорту | Антикорозійний захист конструкцій будинків, споруд | АЗ | — | |
| Генеральний план | ГП | — | Антикорозійний захист технологічних апаратів, газоходів і трубопроводів (обладнання) | АЗО | — | |
| Архітектурні рішення | АР | Робочі креслення можуть бути об'єднанні з основним комплектом марки АР або АБ | Електрохімічний захист від корозії | ЕЗК | — | |
| Архітектурно-будівельні рішення | АБ | При об'єднанні робочих креслень архітектурних рішень та будівельних конструкцій | Теплова ізоляція обладнання і трубопроводів | ТІ | — | |
| Інтер'єри | АІ | — | Автомобільні дороги | АД | — | |
| Конструкції бетонні (залізобетонні) | КБ | — | Залізничні колії | ЗК | — | |
| Конструкції бетонні (залізобетонні), вироби | КБ, В | — | Споруди транспорту | ТР | При об'єднанні робочих креслень автомобільних, залізничних та інших шляхів | |
| Конструкції металеві | КМ | — | Вертикальний транспорт | ВТ | — | |
| Конструкції металеві деталізовані | КМД | — | Зовнішні мережі водопостачання | ЗВ | — | |
| Конструкції дерев'яні | КД | — | Зовнішні мережі каналізації | ЗК | — | |
| Водопровід і каналізація | ВК | — | Зовнішні мережі водопостачання і каналізації | ЗВК | При об'єднанні робочих креслень зовнішніх мереж водопостачання та каналізації | |
| Опалення, вентиляція і кондиціювання повітря | ОВ | — | Тепломеханічні рішення теплових мереж | ТМ | — | |
| Оцінка впливу на навколишнє середовище | ОВНС | — | Газопостачання зовнішнє | ГПЗ | — | |
| Повітропостачання | ПП | — | Зовнішнє електроосвітлення | ЕЗ | — | |
| Пилевидалення | ПВ | — | Електропостачання | ЕП | — | |
| Холодопостачання | ХП | — | Проект організації будівництва | ПОБ | — | |
| Газопостачання (внутрішні пристрої) | ГПВ | — | Кошторисна документація | К | — | |
| Силове електрообладнання | ЕМ | — | Виробничо-екологічний моніторинг | ВЕМ | — | |
| Електротехнічні рішення | ЕТР | При об'єднанні робочих креслень електрообладнання та електроосвітлення | Вишукування | В | — | |
| Електричне освітлення (внутрішнє) | ЕО | — | Пожежогасіння | ПГ | — | |
| Системи зв'язку | СЗ | — | Пожежна сигналізація | ПС | — | |
| Радіозв'язок, радіомовлення і телебачення | РТ | — | Охоронна та охоронно-пожежна сигналізація | ОС | — | |
| Автоматизація ... | А... | Три крапки замінюють найменуванням та маркою відповідного основного комплекту робочих креслень | План ліквідації аварійних ситуацій | ПЛА | — | |
| Автоматизація комплексна | АК | При об'єднанні робочих креслень різних технологічних процесів та інженерних систем | — | — | — |
Примітка. За необхідності можуть бути призначені додаткові марки основних комплектів робочих креслень.
До числа робочих креслеників різних марок входять і монтажні кресленики — схеми розташування, на яких спрощено показане взаємне розташування збірних елементів і поставлені марки окремих елементів.
Кресленики, за якими на заводах чи будівельних полігонах виготовляють будівельні конструкції, називаються заготівельними.
Кресленики, що повністю відображають планування приміщень збудованої будівлі, її розміри та будівельні конструкції, називають виконавчими.
Кресленики будівель, створені на основі обмірювань, проведених на натурі, називають обмірювальними.
Модульна координація розмірів будівлі


Основою типізації і стандартизації в проектуванні, виробництві будівельних виробів і будівництві служить модульна координація розмірів у будівництві (МКРБ), яка являє собою зібрання правил координації розмірів об'ємно-планувальних і конструктивних елементів будівель і споруд, будівельних виробів і обладнання на базі модуля[4].
Модулем називають умовну одиницю вимірювання, що використовується для координації розмірів будівель і споруд, їх елементів, деталей та будівельних виробів.
Основним (базовим) модулем називають модуль, прийнятий за основу призначення інших, похідних від нього модулів. Величина основного модуля дорівнює 100 мм і позначається літерою М.
Похідним модулем (укрупненим або дробовим) називається модуль, що кратний основному або складає частину основного. Укрупненим модулем (мультимодулем) називають виробничий модуль розміром більшим від основного у ціле число разів: 3М, 6М, 12М, 15М, 30М і 60М (відповідно 300, 600, 1200, 1500, 3000 та 6000 мм). Дробовим модулем (субмодулем) називають похідний модуль, розміром меншим від основного: 1/2М, /5М, 1/10М, 1/20М, 1/50М і 1/100М (відповідно 50, 20, 10, 5, 2 та 1 мм).
Об'ємно-планувальним елементом називають частину об'єму будівлі, що характеризується прогоном, кроком і висотою поверху. Планувальний елемент являє собою горизонтальну проекцію об'ємно-планувального елемента. Висота поверху будівлі визначається розміром від рівня підлоги даного поверху до рівня підлоги поверху, розміщеного вище. Висота поверху в одноповерхових промислових будівлях дорівнює відстані від рівня підлоги до нижньої грані несучої конструкції на опорі. Розміщення об'ємно-планувальних елементів будівель і споруд у просторі здійснюється за допомогою модульної тривимірної просторової координаційної системи модульних площин.
МКРБ передбачає використання прямокутної системи. Відстань між цими площинами приймають кратними основному чи похідному модулю. Лінії перетину модульних площин являють собою модульні координаційні осі. Ці осі проводять на плані по основних несучих конструкціях будівлі чи споруди. Координаційні осі використовують у будівництві при розбивці споруди на місцевості.
Відстань між координаційними (розбивочними) осями в плані називають кроком. Крок може бути поздовжнім і поперечним. Відстань між координаційними осями в напрямку, що відповідає напряму основної несучої конструкції перекриття, називають прогоном. Прогін може збігатися з кроком
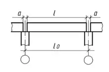
Конструктивним елементом будівлі називають окрему самостійну конструкцію, наприклад, панель перекриття, залізобетонний ригель тощо. Розміри конструктивних елементів поділяють на координаційні та конструктивні. Координаційним розміром l0 є модульний розмір, що визначає границі координаційного простору в одному напрямку.

Конструктивним розміром є проектний розмір l будівельної конструкції, виробу. Конструктивний розмір може бути меншим або більшим від координаційного. Усі розміри об'ємно-планувальних і конструктивних елементів повинні бути кратними модулю.
Основні правила оформлення будівельних креслеників
Масштаби
Масштаби креслеників обирають відповідно до ГОСТ 2.302-68[5] з врахуванням вимог ДСТУ Б А.2.4-7:2009[6].
Архітектурно-будівельні робочі кресленики житлових і громадських будівель виконують у таких масштабах:
- Плани поверхів, підвалу, фундаментів і покрівлі, фасади будівель, монтажні плани поверхів і перекриттів 1:100, 1:200
- Розрізи, плани секцій, фрагменти планів і фасадів 1:50; 1:100
- Вироби і вузли 1:2; 1:5; 1:10; 1:20
Архітектурно-будівельні робочі кресленики виробничих будівель у конструкторській документації виконують у таких масштабах:
- Плани поверхів, розрізи, фасади, плани покрівлі і підлог 1:200; 1:400
- Плани підземних конструкцій і допоміжних приміщень, схеми розташування перегородок і заповнення віконних отворів 1:100; 1:200
- Фрагменти планів, розрізів, фасадів 1:50; 1:100
- Вироби і вузли 1:2; 1:5; 1:10; 1:20
Якщо зображення на аркуші виконані у різних масштабах, то над кожним зображенням вказують відповідний масштаб.
Лінії
На будівельних креслениках використовують типи ліній згідно з ГОСТ 2.303-68[7]. Товщина ліній для всіх зображень, виконаних в одному і тому ж масштабі, повинна бути однаковою. Проте на будівельних креслениках є певні особливості у використанні деяких типів ліній. На плані й розрізі будівлі видимі контури обводять лініями різної товщини. Товстішою лінією наводять ділянки стін, що потрапили в січну площину. Контури ділянок стін, що не потрапили в січну площину, наводять тонкою лінією.
Розміри



Розміри на будівельних креслениках проставляють у відповідності з ДСТУ ГОСТ 2.307:2013[8] з урахуванням вимог системи проектної документації для будівництва ДСТУ Б А.2.4-7:2009. Розміри проставляють у міліметрах без вказання одиниць вимірювання і, як правило, у вигляді замкненого ланцюга. При проставлянні розмірів в інших одиницях (см, м) роблять необхідні примітки у кресленні. Розмірні лінії обмежуються не стрілками, а засічками.
Засічки — це короткі штрихи довжиною 2…4 мм, які проводять під кутом 45° з нахилом вправо до розмірної лінії. Товщина лінії засічки дорівнює товщині суцільної основної лінії, прийнятої на даному кресленні. Розмірні лінії повинні подовжуватися за крайні виносні лінії на 1…3 мм. Розмірне число розміщують над розмірною лінією приблизно на відстані від 0,5 до 1 мм. Виносна лінія може подовжуватися за розмірну на 1…5 мм. При недостатній кількості місця для засічок на розмірній лінії, що складає замкнений ланцюг, засічки дозволяється замінювати на крапки.
Відстань від контуру кресленика до першої розмірної лінії рекомендовано витримувати не менше За 10 мм. Проте в практиці ця відстань дорівнює 14…21 мм. Відстань між наступними паралельними розмірними лініями повинна становити не менше за 7 мм, а від розмірної лінії до кола координаційної осі — 4мм
За наявності в зображенні ряду однакових елементів, розміщених на однакових відстанях один від одного (наприклад, координаційних осей внутрішніх стін), розміри між ними наносять лише спочатку і в кінці ряду і наносять сумарний розмір між крайніми елементами у вигляді добутку числа елементів на величину повторюваного розміру
Числові позначки

Позначки рівнів (висота, глибина) на планах, розрізах фасадах показують відстань по висоті від рівня поверхні, прийнятої за умовний «нуль». За нульовий рівень найчастіше приймають рівень підлоги першого поверху. Позначку рівня показують умовним знаком у вигляді розгорненої стрілки з поличкою. При цьому стрілку виконують основною лінією довжиною 2…4 мм, проведеною під кутом 45° до виносної лінії чи лінії контуру. Лінію виноски виконують суцільною тонкою лінією. Розмір h рекомендовано приймати від 2 до 6 мм залежно від розмірів креслення. Довжина полички знаходиться в межах від 10 до 15 мм. Якщо біля одного зображення розміщуються один над одним кілька знаків рівнів, вертикальні лінії позначок рекомендовано розташовувати на одній вертикальній прямій, а довжину горизонтальної полички виконувати однаковою.
Нульову позначку наносять без знака. Позначки вище нульової — зі знаком «+», нижче нульової — зі знаком «-». Умовну нульову позначку позначають так: 0,000. На будівельних кресленнях позначки рівнів вказують у метрах, з трьома десятковими знаками, відділеними від цілого числа комою. На планах розмірне число позначки наносять у прямокутнику, контур якого виконано суцільною тонкою лінією, або на поличці лінії-виноски. Перед розмірним числом вказують знак плюс або мінус

Уклони
Уклон контурів і ліній на розрізах і схемах позначають відповідно до ДСТУ ГОСТ 2.307:2013 знаком , гострий кут якого направлено в бік уклону, і після якого наносять розмірне число. Позначення уклону наносять над лінією контуру або на полиці лінії-виноски. Уклон площини вказують стрілкою, над якою наносять величину уклону у відсотках або у вигляді відношення висоти до довжини
Основний напис

Основний напис для оформлення проектної та робочої документації на зведення будинків та споруд різного призначення виконується згідно зі стандартом ДСТУ Б А.2.4-4:2009[3].
У графах основного напису наносять: 1 — позначення документа, в тому числі розділу проекту, основного комплекту робочих креслеників, наприклад, 1234-11-АР, де 1234 — номер проекту або шифр об'єкта будівництва; 11 — номер будинку за генеральним планом; АР — марка комплекту робочих креслеників; 2 — найменування об'єкта будівництва, до складу якого входить будинок (споруда); 3 — найменування будинку (споруди); 4 — найменування зображень, що розміщені на даному аркуші; 5 — умовне позначення стадії проектування; 6–порядковий номер аркуша (на документах, які складаються з одного аркуша, графу не заповнюють); 7 — загальне число аркушів документа (графу заповнюють тільки на першому аркуші); 8 — найменування організації, яка розробила документ; 9 — характер виконаної роботи (розробив, перевірив ….); 10–12 — прізвища та підписи осіб, указаних у графі 9, та дату підписання. 13-17 — графи таблиці змін при внесенні змін до інформації.
Див. також
Примітки
- ДК 018—2000 Державний класифікатор будівель та споруд.
- ДБН А.2.2-3-2014 Склад та зміст проектної документації на будівництво.
- ДСТУ Б А.2.4-4:2009 Основні вимоги до проектної та робочої документації.
- ДСТУ Б В.1.3-3-2011 Модульна координація розмірів у будівництві. Загальні положення.
- ГОСТ 2.302-68 ЕСКД. Масштабы.
- ДСТУ Б А.2.4-7:2009 СПДБ. Правила виконання архітектурно-будівельних робочих креслень.
- ГОСТ 2.303-68 ЕСКД. Линии.
- ДСТУ ГОСТ 2.307:2013 Єдина система конструкторської документації. Нанесення розмірів і граничних відхилів (ГОСТ 2.307-2011, IDT.)
Джерела
- Михайленко В. Є. Інженерна та комп'ютерна графіка: підруч. для студ. вищ. навч. закл. [текст] / В. Є. Михайленко, В. В. Ванін, С. М. Ковальов — 3-тє вид. — К.: Каравела, 2003. — 344с.
- Будівельне креслення: навчально-методичний посібник та завдання до виконання графічної і самостійної роботи для студентів усіх форм навчання з курсу «Інженерна графіка» для студентів напряму «Будівництво» / Укладачі: А. І. Пік, В. І. Ковбашин. — Т.: Вид-во ТНТУ імені Івана Пулюя, 2014. — 68 с.
- ДСТУ Б А.2.4-4:2009 СПДБ. Основні вимоги до проектної та робочої документації.