Вертикальний фільтр-прес типу ФПАКМ
Вертикальний фільтр-прес типу ФПАКМ — належить до діафрагмових фільтр-пресів.

Конструкція і принцип дії
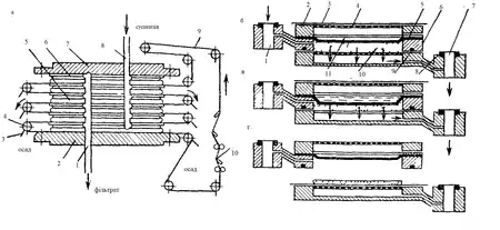
Вертикальний фільтр-прес типу ФПАКМ складається (рис.1,а) з упорної 5 і натискної 2 рам, проміжних фільтрувальних 6 і опорної 7 плит, горизонтально розташованих на вертикальних стрижнях – стягувачах. Між фільтрувальними плитами 6 проходить нескінченна фільтрувальна стрічка 9, що огинає направляючі ролики 4. Стрічка натягується спеціальним пристроєм, а регенерується в спеціальній камері після очищення. Колектори 8 і 1 призначені відповідно для подачі суспензії і відведення фільтрату.
Фільтрувальна плита 2 (рис.1,б) перекривається перфорованим листом 4, вкритим фільтрувальною тканиною 3. допомогою ножових пристроїв. Між плитою і рамою 6 укладається гумова діафрагма 5.
Прес-фільтр працює періодично. Повний цикл роботи фільтра складається з таких основних операцій. Вихідну суспензію під тиском подають по колектору 1 в простір 10, обмежений гумовою діафрагмою і фільтрувальною тканиною. Частинки твердого утримуються на поверхні тканини, а фільтрат проходить через шар осаду і тканину і видаляється з плити по колектору 7. Після закінчення певного часу припиняють подачу суспензії і в простір 11 між днищем плити і діафрагмою подають під тиском воду (рис. 1, в).
В результаті подачі води діафрагма розтягується і відбувається відтискання осаду, тобто витискування води з пор між частинками. Після відтискання осаду плити розсовують (рис. 1, б), внаслідок чого осад звільняється. Для видалення осаду включають привод, що переміщає фільтрувальну тканину. Осад знімається при огинанні тканиною направляючих роликів. Потім плити зсовують. Кільцева прокладка 8 і гумовий шнур 9 служать для герметизації плит і колекторів. Після ущільнення плит цикл операцій фільтрування повторюють. Тривалість повного циклу фільтрування залежить від гранулометричного складу фільтрованого матеріалу і змінюється від 3 до 200 хвилин. Робота фільтр-преса повністю автоматизована.
До переваг вертикальних фільтр-пресів відносять: простоту конструкції апаратів, значну площу фільтрування, можливість використання великих (до 2 МПа) перепадів тиску на фільтрувальній перегородці, мінімальний вміст твердого у фільтраті і відносно низьку вологість отримуваних опадів.
Питома продуктивність прес-фільтрів коливається від 5 до 25 кг/(м2•год) залежно від концентрації твердого, характеристики крупності матеріалу і режиму фільтрування.
Технічна характеристика автоматичного камерного фільтр-преса ФПАКМ наведена у таблиці

Див. також
Література
- Мала гірнича енциклопедія : у 3 т. / за ред. В. С. Білецького. — Д. : Донбас, 2004. — Т. 1 : А — К. — 640 с. — ISBN 966-7804-14-3.
- Білецький В. С., Смирнов В. О. Технологія збагачення корисних копалин ((посібник з грифом Мінвузу). — Донецьк: Східний видавничий дім, 2004. — 272 с. (друге видання — 2009 р.)