Внутрішньопластовий вибух
Внутрішньопластовий вибух — метод підвищення нафтовилучення з продуктивного пласта.

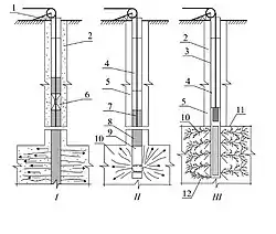
Продуктивний пласт можна розкрити внутрішньопластовим вибухом, при якому вибухові речовини нагнітаються в породний масив енергією самого вибуху (рис.). Для цього свердловина заповнюється необхідним об'ємом вибухової речовини, герметизується цементною пробкою, і заряд у верхній частині запалюється (схема І). Тут створюється високий тиск від утворених порохових газів, які ін'єктують у пороховий пласт частину вибухових речовин, розташованих у межах продуктивної зони. При поширенні фронту горіння вздовж пластової ділянки свердловини починають займатися і ін'єктуватись у пласт вибуховими речовинами, посилюючи при цьому розрив пласта (схема ІІ). У разі недостатнього тиску газу в зоні горіння передбачається допоміжне руйнування привибійної зони зарядом бризантної дії, який відділяється від основного інертним заповнювачем. Додатковий заряд вибухових речовин забезпечує в початковий період горіння розрив пласта з утворенням розкритих тріщин.
На рис. (схема ІІІ) показаний ефективний метод створення розгалужених тріщин утворенням вибухових речовин безпосередньо у зоні вибуху за допомогою хімічних реакцій невибухових композицій з подальшим порушенням детонації цих речовин. Для цього частина свердловини в зоні пласта заповнюється реагентами (одним з них може бути вода, іншим — карбід кальцію, розміщений в капсулі, що вибухає відрізком детонуючого шнура). Після запалювання в зоні реакції ацетилену збільшується тиск і ацетилен нагнітається в тріщинно-поровий простір гірських порід. При досягненні тиску 2–4 МПа ацетилен детонує із значним виділенням теплоти, що посилює утворення тріщин.
Література
- Білецький В. С. Основи нафтогазової справи / В. С. Білецький, В. М. Орловський, В. І. Дмитренко, А. М. Похилко. — Полтава, Київ : ПолтНТУ, ФОП Халіков Р. Х, 2017. — 312 с. — ISBN 978-617-7565-05-4.
- Бойко В. С., Бойко Р. В. Тлумачно-термінологічний словник-довідник з нафти і газу: у 2-х томах. — Київ : Міжнародна економічна фундація, 2004. — Т. 1: А–К. — 560 с.
- Бойко В. С., Бойко Р. В. Тлумачно-термінологічний словник-довідник з нафти і газу: у 2-х томах. — Львів : Апріорі, 2006. — Т. 2: Л–Я. — 800 с.