Віброзанурювач

Віброзанурювач — машина, яка призначена для занурення залізобетонних труб, колодязів, пальових елементів в піщані і глинисті грунти і витягування з нього паль (шпунтів, труб тощо).

Принцип дії

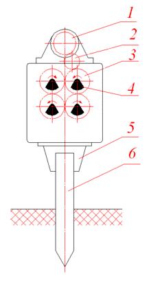
1 — електродвигун або гідромотор; 2 — проміжна шестерня; 3 — синхронізуючі шестерні; 4 — дисбаланс; 5 — наголовник; 6 — паля

Принцип дії віброзанурювача заснований на ефекті тиксотропії: різкого зниження опору зануренню пальового елемента при вібрації.

Віброзанурювач здійснює роботу в комплексі з віброізоляторами і вантажопідйомним механізмом. Як вантажопідйомний механізм може бути використаний підйомний кран, копер. Крім того, віброзанурювач може працювати з екскаваторами (з відповідними технічними параметрами).

При обертанні дисбалансів 4 на їх вісь кріплення діє відцентрова сила і віброзанурювач отримує вібруючий рух, який передається пальовому елементу 6 через наголовник 5. Дисбаланси приводяться в обертання електродвигуном 3 (або гідромотором) через механічну передачу (або безпосередньо від валу двигуна). Симетрично розташовані дисбаланси синхронно обертаються в різні боки для врівноваження радіальних навантажень.

Посилання

This article is issued from Wikipedia. The text is licensed under Creative Commons - Attribution - Sharealike. Additional terms may apply for the media files.