Гребкова вакуумна сушарка
Гребкові вакуум-сушарки - один із засобів реалізації вакуумного сушіння матеріалів.

Загальний опис
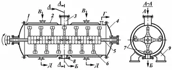
У гребкових вакуум-сушарках процес сушіння проходить під вакуумом при перемішуванні матеріалу за допомогою гребків (рис. ). Сушарка має нерухомий циліндричний корпус, обладнаний паровою сорочкою, зовні сорочка вкрита шаром теплоізоляції. У центрі сушарки встановлений вал із гребками, поверненими під кутом відносно осі вала. Вал приводиться в рух від електродвигуна через черв'ячну передачу й обертається із частотою 5 – 8 об/хв, передбачена можливість автоматичного перемикання напрямку обертання валу. При обертанні вала в один бік матеріал переміщається від периферії до центру, при обертанні в інший бік – у зворотному напрямку, що поліпшує процес сушіння, полегшує завантаження й вивантаження матеріалу. Для руйнування грудок матеріалу, що висушується, усередині камери розміщують довгі труби, що вільно перекочуються по внутрішній поверхні корпусу.
Після подачі теплоносія в сорочку й прогрівання сушарки вклю-чають мішалку, через завантажувальний люк завантажують вологий мате-ріал, а потім герметизують сушарку. Затим включають у роботу вакуум-насос, створюють у сушарці необхідне розрідження й подають у сорочку перегріту пару потрібного тиску (до 0,5 МПа). Після цього починається процес сушіння, що проходить із інтенсивністю 6 – 8 кг вологи/год. на 1 м3 простору сушильної камери. Під час сушіння відбирають пробу матеріалу, що висушується, після закінчення сушіння припиняють подачу теплоносія в сорочку, прохолоджують продукт, скидають вакуум і при працюючій мішалці вивантажують продукт через розвантажувальний люк. Після закінчення вивантаження зупиняють мішалку й проводять підготовчі роботи для виконання повторної операції сушіння.
Сушарки даного типу придатні для висушування матеріалів підвищеної хімічної чистоти, чутливих до високих температур, а також для сушіння токсичних і вибухонебезпечних речовин.
Джерела
- Білецький В.С., Олійник Т.А., Смирнов В.О., Скляр Л.В. Техніка та технологія збагачення корисних копалин. Частина ІІІ. Заключні процеси. – Кривий Ріг: Криворізький національний університет. 2019. 220 с.