Гіпербарфільтр
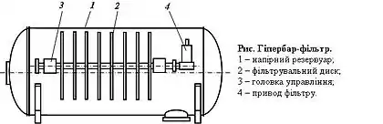
Гіпербарфільтр — комбінований фільтр, який поєднує дію вакууму і надлишкового тиску.


Гіпербарфільтр. «Збагачувальна фабрика «Свято-Варваринська»

Гіпербарфільтр. «Збагачувальна фабрика «Свято-Варваринська». Ракурс.
Конструкція
Конструктивно розповсюджений варіант, який включає дисковий вакуум-фільтр розташований у напірному резервуарі.
Застосування і характеристики
Застосовується при фільтруванні тонкодисперсних матеріалів в схемах збагачення вугілля, бокситів, мідних і свинцевих руд, у харчовій промисловості. Продуктивність по мінеральному концентрату 140—240 т/год. Якщо при вакуумній фільтрації досягається вологість кеку (осаду) 11-13 %, то на цьому ж матеріалі гіпербарфільтри показують результат по вологості 8,5-9 %. Вміст твердого у фільтраті — 3 г/л.
Фірма-виробник — ANDRITZ (Австрія).
- Стандартні робочі характеристики гіпербаричних фільтрів (HBF).
.png.webp)
Див. також
Література і джерела
- Гіпербарфільтр/ ANDRITZ hyperbaric disc filter HBF
- Смирнов В. О., Білецький В. С., Шолда Р. О. Переробка корисних копалин (монографія). Донецьк: Східний видавничий дім. 2013. 600 с.
- Білецький В. С., Олійник Т. А., Смирнов В. О., Скляр Л. В. Техніка та технологія збагачення корисних копалин. Частина ІІІ. Заключні процеси. — Кривий Ріг: Криворізький національний університет. 2019. — 232 с.
This article is issued from Wikipedia. The text is licensed under Creative Commons - Attribution - Sharealike. Additional terms may apply for the media files.