Девід Едвард Г'юз
Девід Едвард Г'юз (англ. David Edward Hughes; 16 травня 1831 — 22 січня 1900) — валлійський і американський винахідник.
| Девід Едвард Г'юз | |
|---|---|
| англ. David Edward Hughes | |
![]() | |
| Народився |
16 травня 1831[1][2][…] Лондон, Сполучене Королівство |
| Помер |
22 січня 1900[1][3][…] (68 років) Лондон, Сполучене Королівство |
| Місце проживання |
Бардстаун Боулінг-Грін |
| Країна |
|
| Діяльність | музикант, винахідник, фізик, музикознавець |
| Alma mater | Spalding Halld |
| Членство | Лондонське королівське товариство |
| Відомий завдяки: | мікрофон |
| Брати, сестри | Joseph Tudor Hughesd |
| Нагороди | |
У 1838 році семирічний Г'юз із батьками переселився в Сполучені Штати Америки. Цікаво, що в дитячі і юнацькі роки його талант проявився не в науці і техніці, а в музиці. Тому після закінчення коледжу Св. Йосипа в місті Бардстаун (штат Кентуккі) Хьюз спочатку був учителем музики, потім зайнявся природничими науками і з 1851 року викладав фізику в коледжі Бардстауна. У 1853 році Хьюз залишив вчителювання і переїхав у Бовлінґ-Ґрін (штат Кентуккі), де більшість свого часу присвятив науково-технічній творчості, заробляючи на життя і досліди приватними уроками музики. З 1853 року Г'юз працював над винаходом друкуючого телеграфного апарату. В удосконаленні апарату йому допомагав Джордж Фелпс (George May Phelps). В 1856 році апарат Г'юза вперше було застосовано для зв'язку між містами Вустер і Спрінгфілд, штат Массачусетс. У 1860-х роках апарат Г'юза отримав широке поширення у всій Європі.
.jpg.webp)
(з експозиції Музею науки)
Г'юзу належить також винахід мікрофона (1877 рік), індуктивних ваг і сонометра. На честь винахідника Лондонське королівське товариство заснувало медаль Г'юза, що присуджується з 1902 року.
У 1878—1880 роках Г'юз здійснив прийом та передачу електромагнітних хвиль на відстань до 500 м. Передавачем була індукційна котушка, приймачем було поєднання телефону та мікрофона власної конструкції.
Мікрофон Г'юза

_1990%252C_MiNr_3332.jpg.webp)
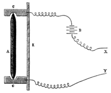
Винайдений Г'юзом у 1877 році мікрофон складався з загостреної на кінцях вугільної (графітової) палички (A, див. рисунок), яка підтримувалася у вертикальному положенні двома вугільними стаканчиками (C), прикріпленими до тонкої платівки (K). Стаканчики за допомогою дротів (X іY) з'єднувалися з батареєю (B) і слуховою трубкою (на рисунку не показана). Дана конструкція і її подальші модифікації увійшли в історію під назвою паличкових мікрофонів[4].
Механічні коливання, що виникають у вугільній паличці під впливом звуку, впливають на електричний опір у місцях контакту палички зі стаканчиками. При пропусканні постійного струму в електричному колі виникає змінна напруги, що передається на слуховий апарат.
Нагороди
1880 році Г'юза обрано членом Королівського товариства, яке в 1885 році нагородило його медаллю «на знак визнання оригінальних відкриттів у галузі фізичних наук, зокрема, електрики і магнетизму, та їхнього застосування».
Примітки
- Німецька національна бібліотека, Державна бібліотека в Берліні, Баварська державна бібліотека та ін. Record #117054771 // Німецька нормативна база даних — 2012—2016.
- Find a Grave — 1995.
- SNAC — 2010.
- Ж. Дари. Электричество во всех его применениях, с многочисленными иллюстрациями. С.-Петербург, типография А. С. Суворина, 1903 год. (рос.)
