Деемульсатор
Деемульсатор (рос. деэмульсатор, англ. demulsifier;нім. Deemulgator m, Emulsionsspalter m, Spalter m, Emulsionsentmischer m, Emulsionsspalter m) — установка для відокремлення нафти від води.
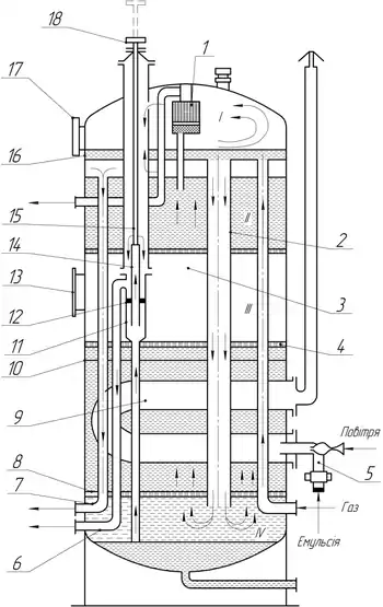
Підігрівачі-деемульсатори СП-100 і СП-1000

Підігрівачі-деемульсатори СП-100 і СП-1000 широко застосовуються для обезводнення нафти на невеликих родовищах. Залежно від кількості нафти, що надходить на обезводнення, передбачають від одного до десяти підігрівачів-деемульсаторів. Підігрів нафтової емульсії у цих апаратах здійснюється за рахунок передачі тепла від жарової труби, у якій спалюють газ. За принципом роботи підігрівачі-деемульсатори СП-100 і СП-1000 практично не розрізняються. Розглянемо більш детально конструкцію підігрівача СП-1000. Підігрівач-деемульсатор СП-1000 (рис. ) є вертикальною циліндровою посудиною, внутрішня порожнина якої розділена глухою перегородкою на два відсіки І і ІІ. У відсіку І відділяється основна кількість газу, що надходить разом з емульсією в апарат, а у відсіку II підігрівається нафтова емульсія, розділяється на нафту й воду, які роздільно видаляються з апарату. Газ, який відділився у результаті нагріву нафтової емульсії у відсіку ІІ надходить у відсік І та разом з основною кількістю газу виводиться з апарата.
Підігрівач-деемульсатор працює таким чином. Нафтова емульсія разом з незначною кількістю вільного газу вертикальною трубою, установленою у середині апарата, надходить у верхній відсік І, де розливається по глухій перегородці. У результаті утворення тонкої плівки емульсії на цій перегородці поліпшуються умови для відділення основної кількості газу, після чого емульсія по вертикальній зливній трубі перетікає під розподільні решітки . Тут нафтова емульсія змінює напрям руху і підіймається вгору, проникаючи через перфорацію решітки й утворюючи висхідні потоки, які проходять через шар гарячої пластової води, що нагрівається за рахунок спалювання газу в жарових трубах . Рівень гарячої води в апараті підтримується вище за жарові труби. Цівки висхідної емульсії звичайно швидко розпадаються на краплі, розміри яких близькі до розмірів отворів розподільних решіток.
Після проходження шару гарячої води краплі емульсії потрапляють у проміжний шар , утворений краплями води на межі розділу «вода-нафта». При проходженні емульсії через шар гарячої води глобули води, що виявилися на поверхні крапель емульсії, переходять у воду. Але особливо сильний вплив на процес руйнування емульсії надає, ймовірно, проходження її через проміжний шар.
Тиск в підігрівачі-деемульсаторі типу СП-2000 сягає рівня 1 МПа, а температура – до +50ºС. При цьому вкрай важливою характеристикою його роботи є повна герметичність корпусних деталей, що вимагає обов’язкового проведення випробувальних заходів.
Див. також
Джерела
- Мала гірнича енциклопедія : у 3 т. / за ред. В. С. Білецького. — Д. : Донбас, 2004. — Т. 1 : А — К. — 640 с. — ISBN 966-7804-14-3.
- Світлицький В. М., Кривуля С. В., Матвієнко А. М., Коцаба В. І. Машини та обладнання для видобування нафти і газу: Довідковий посібник. — Харків: КП «Міська друкарня», 2014. — 352 с.
- Бойко В. С., Бойко Р. В. Тлумачно-термінологічний словник-довідник з нафти і газу: у 2-х томах. — Київ : Міжнародна економічна фундація, 2004. — Т. 1: А–К. — 560 с.
- Бойко В. С., Бойко Р. В. Тлумачно-термінологічний словник-довідник з нафти і газу: у 2-х томах. — Львів : Апріорі, 2006. — Т. 2: Л–Я. — 800 с.