Джон Амброз Флемінг
Джо́н Амбро́з Фле́мінг (англ. Sir John Ambrose Fleming; нар. 29 листопада 1849, Ланкастер — пом. 18 квітня 1945, Сідмут) — англійський вчений в галузі радіотехніки й електротехніки, член Лондонського королівського товариства (1892). Він відомий як винахідник лампи з термокатодом — першої електронної лампи, що отримала назву «кенотрон» або «електровакуумний діод», у 1904 році. Він також запропонував мнемонічне правило правої руки, що використовується в математиці й електроніці.
| Джон Амброз Флемінг | |
|---|---|
| англ. John Ambrose Fleming | |
![]() Портрет (1890) | |
| Народився |
29 листопада 1849 Ланкастер, (Англія) |
| Помер |
18 квітня 1945 (95 років) Сідмут (Девон, Англія) |
| Країна |
|
| Діяльність | винахідник, фізик, інженер, викладач університету |
| Alma mater |
Університетський коледж Лондона Імперський коледж Лондона |
| Галузь | фізика, електротехніка |
| Заклад |
Університетський коледж Лондона Університет Ноттінгема Кембриджський університет General Electric |
| Посада | president of the Royal Television Societyd |
| Вчителі | Джеймс Клерк Максвелл |
| Відомі учні | Балтазар ван дер Пол |
| Членство | Лондонське королівське товариство |
| Відомий завдяки: | Електровакуумний діод (вентиль Флемінга) |
| Нагороди |
Медаль Г'юза (1910) Медаль Фарадея (1928) Медаль пошани IEEE (1933) |
Походження
Він був старшим з семи синів священика — конгрегаціоналіста Джеймса Флемінга (помер в 1879 році) і його дружини Марі Енн, і хрещений 11 лютого 1850. Батько був побожним християнином, і одного разу проповідував у храмі Святого Мартіна в Лондоні на тему докази воскресіння. У 1932 році разом з Дугласом Дьюаром і Бернаром Акворт він допомагав в організації Руху Еволюційного Протесту. Не маючи дітей, він заповідав велику частину своєї нерухомості християнським благодійним організаціям, особливо тим, які допомагали бідним. Він був хорошим фотографом, писав акварелі, брав участь у сходженнях в Альпах.
Ранні роки
Амброз Флемінг народився в Ланкастері, отримав освіту в школі й Університетському коледжі Лондона. Він виборов стипендію коледжу Святого Іоанна в Кембриджі у 1877 році та відвідував лекції у декількох університетах, включаючи Університет Кембриджа, Університет Ноттінгема та Університетський коледж Лондона, де він став згодом першим професором електротехніки. Він був також консультантом компаній Безпровідної Телеграфії Марконі, Swan, Ferranti, Телефон Едісона, і пізніше, компанії General Electric. У 1892 році Флемінг представив важливу працю по теорії електричних трансформаторів для Інституту інженерів х електротехніки у Лондоні.
Освіта і сімейне життя
Флемінг почав відвідувати приватну школу у віці близько десяти років. Улюбленим предметом була геометрія. До цього мати займалась з ним, і він знав майже напам'ять книгу під назвою «Керівництво до знань для дітей» — популярну книгу для щоденного читання. Навіть у дорослому віці він цитував її. Його шкільна освіта продовжилась в університетському коледжі, де він досягнув успіхів у математиці, але з латині зазвичай був серед найостанніших в класі.
Ще дитиною він поступово ставав інженером. В 11 років він мав власну майстерню, де будував моделі катерів і двигунів. Він навіть побудував свій власний фотоапарат, зберігаючи інтерес до фотографії усе життя. Можливість стати інженером була за межами фінансових ресурсів сім'ї, але він досяг своєї мети шляхом чергування навчання з оплачуваною роботою.
У 1870 Флемінг отримав степінь бакалавра в університетському коледжі і став студентом хімічного факультету Королівського Наукового коледжу в Лондоні (тепер Імперіал коледж). Тут він вперше вивчив будову батареї Алессандро Вольта, котра стала темою його першої наукової роботи. Це була перша робота, яку він доповів у новому Фізичному Товаристві Лондона (тепер Інститут Фізики), а згодом її було опубліковано на сторінках його праць. Фінансові проблеми знову заставили його працювати, і влітку 1875 року він став науковим співробітником у громадській школі, заробляючи 400 фунтів на рік. Його власні наукові дослідження продовжувались, почалось листування з Джеймсом Максвеллом з Кембриджського університету. Накопичивши 400 фунтів й отримавши грант на 50 фунтів на рік, Флемінг у жовтні 1877 у віці 27 років знову став студентом, цього разу у Кембриджі. Він визнавав, що лекції Максвелла були важкими йому для розуміння. Максвелл, за його словами, часто «віддає перевагу парадоксальним та алегоричним способам вираження думок». З часом Флемінг став відвідувати лише ці лекції. Після закінчення навчання він знову отримав ступінь в галузі фізики та хімії, цього разу ступінь Почесного Першого Класу. Невдовзі він отримав ступінь доктора, далі протягом року перебував на службі у Кембриджському університеті як демонстратор з прикладної механіки до призначення на посаду першого професора фізики й математики в Університеті Ноттінгема, яку він покинув менше ніж за рік.
11 червня 1887 року він оженився на Кларі Ріплі (1856–1917), дочці Вальтера Пратта, адвоката з м. Бас. 27 липня 1928 року женився вдруге на молодій популярній співачці Олів'є Франкс (нар.1898), дочці Георгія Франкса, Кардіффського бізнесмена.
Наукова діяльність та досягнення

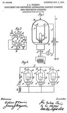
В листопаді 1904 він винайшов випрямляч на двоелектродній електронній лампі, який він назвав осциляторний вентиль. Пізніше він запатентував свій винахід. Винахід має також назви: лампа з термокатодом, вакуумний діод, кенотрон, термоіонна лампа, вентиль Флемінга. Верховний суд Сполучених Штатів пізніше визнав патент недійсним внаслідок неприйнятних обмежень, і, крім того, з причини того, що на момент подачі заявки запропоновані технології вже були відомі. Такого роду винаходи, на базі електровакуумних ламп, розглядалися на зорі електроніки. Проте, діоди Флемінга використовувалися в радіоприймачах і радарах протягом багатьох років, і тільки через 50 з лишком років вони були замінені твердотільними елементами.
У 1906 році американець Лі де Форест додав в електронну лампу керувальну «сітку» і створив радіочастотний детектор, що отримав назву аудіон, але Флемінг звинуватив його у копіювання своїх ідей. Прилад де Фореста невдовзі був доопрацьований ним і Едвіном Армстронгом й застосований у першому електронному підсилювачі, а сама лампа названа тріодом. Тріод мав дуже важливе значення у справі створення віддаленого телефонного і радіозв'язку, радарів і перших електронних цифрових обчислювальних машин (механічні й електромеханічні обчислювачі, що існували на той час, використовували інші технології). Флемінг вніс також вклад в галузі фотометрії, електроніки, безпровідного зв'язку (радіо) та електричних вимірювань.
Флемінг отримав титул сера у 1929 році. Помер у своєму будинку в Сідмуті у 1945 році.
Флемінг був нагороджений Медаллю пошани IRE в 1933 році за «помітну роль, яку він відіграв у справі впровадження фізичних та інженерних принципів у радіотехніці». Його вклад у розвиток електронних комунікацій і радари мав життєво важливе значення для перемоги у другій світовій війні.
Примітки
Джерела
- Храмов Ю. А. Физики: Биографический справочник. — Киев: Наукова думка, 1977. — 512 с. (рос.)
- John Fleming. Biography на сайті «IEEE Global History Network» (англ.)
- Department of Electronic & Electrical Engineering, UCL — сайт компанії, де вперше було створено вентиль Флемінга (англ.)
- Sir John Ambrose Fleming — на сайті Department of Electronic & Electrical Engineering (англ.)
