Диференціатор
Диференціа́тор, диференціюва́льний при́стрій — аналоговий функціональний блок у АОМ структурного типу. [1]

Характеристики
Залежність між вхідною і вихідною величининами можна представити у вигляді формули:
- ,
де — вихідна величина, — вхідна, — коефіцієнт передачі.
Напруга на виході для ідеального диференціатора обчислюється за формулою:
- ,
де — вихідна напруга, — вхідна.
Ідеальний диференціатор здатний формувати вихідний сигнал, пропорційний до швидкості зміни вхідного. На практиці застосовуються схеми диференціаторів, що реалізують операцію диференціювання наближено, через обмежену швидкодію, лінійність і діапазон вихідної напруги активних елементів схеми.
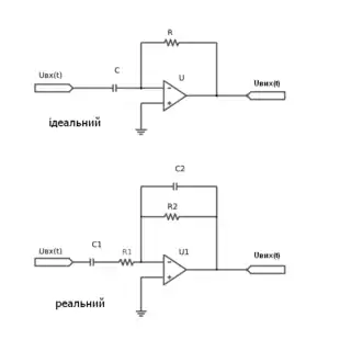
Принципова схема
Схема ідеального диференціатора являє собою конденсатор, включений на вхід операційного підсилювача, в ланцюг зворотного зв'язку якого включений резистор.
Примітки
- Словник з кібернетики / Під редакцією академіка В. С. Михалевича. — 2-е. — 751 с. — (С48) — 50000 прим.