Електромагнітна муфта
Електромагні́тна му́фта — спеціальний пристрій (муфта), що здійснює управління передачею обертання із вхідного вала на вихідний за допомогою електромагнітних полів. Електромагнітна муфта, у якої обертальний момент передається в результаті взаємодії магнітної системи, яка встановлена на одному валу, зі струмами, індукованими в елементах, розташованих на другому валу носить назву «індукційна муфта»[1].

Область застосування електромагнітних муфт: замикання і розмикання кінематичних ланцюгів без припинення обертання, пуск, реверсування і гальмування приводів верстатів.
Загальний опис
Розрізняють електромагнітні муфти сухого і в'язкого тертя і муфти ковзання[2].
Муфти сухого тертя — здійснюють передачу потужності з одного вала на другий через диски тертя.
Муфти в'язкого тертя і муфти ковзання (асинхронна муфта) використовують електромагнітні взаємодії напівмуфт для їх зв'язку.
Окрему групу становлять електромагнітні порошкові муфти, в яких з'єднання між провідною і відомою частинами здійснюється за рахунок підвищення в'язкості сумішей, що заповнюють зазор між поверхнями зчеплення напівмуфт при збільшенні магнітного потоку в цьому зазорі. Головним компонентом таких сумішей є феромагнітні порошки, наприклад карбонільне залізо.
Застосування електромагнітних муфт має ряд переваг: дозволяє розділити пуск двигунів і механізмів, зменшити час пускового струму, усунути удари як в електродвигунах, так і в механічних передачах, забезпечити плавність розгону, усунути перевантаження, проковзування.
Крім того, зменшення пускових втрат у двигунах збільшує кількість допустиме число включень, що дуже важливо при циклічній роботі двигуна.
Електромагнітні муфти можна класифікувати за ознаками керованості та видом зв’язку і принципом керування.
Муфти бувають керовані та некеровані. Керовані електромагнітні муфти розрізняють за видом зв’язку, який буває:
- - через фрикційний зв’язок;
- - через електромеханічний зв’язок феропорошком;
- - через поле.
Також муфти з кожним із цих видів зв’язку розрізняють за принципом керування:
- - для зв'язку через поле: електростатичного керування,
ковзання (індукційні та асинхронні) і гістерезисні;
- - для електромеханічного зв’язку феропропорошком: з
електромагнітним та магнітним керуванням;
- - для фрикційного зв’язку: з електромагнітним та
магнітоелектричним керуванням.
Для швидкого вмикання, вимикання і реверсу приводних механізмів, а також для регулювання їх швидкості, обмеження моменту, який передається, використовують різні керовані муфти. До них належить велика група муфт з електричним керуванням (електромеханічних), в яких для передачі механічного моменту виконавчого механізму використовують електричний сигнал. Оскільки його потужність менша за ту, що розвивається на валу, який ведеться, то електромеханічну муфту можна розглядати як підсилювач з коефіцієнтом підсилення за потужністю. У муфті-підсилювачі електричний сигнал керує потужністю, яка передається від ведучого вала веденому. Керовані муфти за виглядом статичної характеристики швидкості обертання веденого валу та сигналом керування бувають релейними і аналоговими. Релейні після подачі сигналу керування жорстко з’єднують вали, а аналогові – гнучко. При гнучкому з’єднанні швидкість веденого вала пов’язана плавною залежністю з сигналом керування. За допомогою гнучкого з’єднання можна в деяких системах керування обійтись без керованих виконавчих двигунів. Приводи з керованими муфтами мають велику швидкодію через менший момент інерції муфт у порівнянні з виконавчими двигунами.
Керовані електромеханічні муфти використовують у регулювальних приводах в діапазоні потужностей від декількох ват до десятків мегават.
Окремі різновиди
Керовані електромагнітні муфти із фрикційним зв'язком

Фрикційні муфти в основному призначено для жорсткого з'єднання валів. Гнучке з'єднання за їх допомогою можливе лише через імпульсне керування, при якому частота обертання являє собою функцію скважності імпульсів напруги, що подаються на затискачі обмотки. Для фрикційних муфт, або електромеханічних муфт сухого тертя, з механічним зв'язком (рисунок 2), характерна більша різноманітність конструкцій і схем керування. На рисунку 1, а показано однодискову нереверсивну фрикційну муфту, яка складається з двох циліндричних напівмуфт. На ведучому валі 7 жорстко посаджена напівмуфта 4, яка є осердям електромагніта. Його якорем служить напівмуфта 2, яка з'єднана з веденим валом 1 посадкою ковзання і може пересуватися в осьовому напрямку. За допомогою кілець 6 та щіток на обмотку 5 подають управляючу напругу. Тягове зусилля, що утворюється, притягує якір 2 до осердя 4 і щільно притягує один до одного фрикційні диски 3 із матеріалів з високим коефіцієнтом тертя (сталь-сталь, чавун-чавун, бронза- бронза, чавун-бронза та ін.), через це і відбувається з'єднання валів.
Коли по обмотці не протікає струм, якір відтягується від осердя пружиною. Основною перевагою однодискової муфти є простота, проте з ростом обертального моменту, що передається, значно збільшуються її розміри (більший передавальний момент пов'язаний з необхідністю збільшувати зовнішній діаметр для збільшення площі контакту). При інших рівних умовах вони значно менші у багатодискових фрикційних муфтах.
Одну з конструкцій багатодискових фрикційних муфт показано на рисунку 2 б. Фрикційні диски 4 з'єднані шліцами внутрішнього кола з ведучим валом 1, а диски 5 за допомогою шліців на зовнішньому колі — з веденим валом 7. При відключеній обмотці 3 диски 4 і 5, які чергуються, ковзають один відносно одного. Подача напруги керування забезпечує притискання дисків один до одного через притягання до осердя 2 натискної шайби 6, яка є якорем електромагніта. Виникає зєднання між дисками, необхідне для передачі заданого моменту M. Обмотку фрикційної електромагнітної муфти звичайно підключають до постійної напруги (або змінної напруги через вмонтований випрямляч), щоб використовувати переваги електромагнітів постійного струму. При відносно низьких напругах немає потреби в другому струмопровідному кільці, оскільки один із полюсів джерела живлення подають на корпус муфти.
Керовані електромагнітні муфти із електромеханічним зв'язком феропорошком

Керовані електромагнітні муфти з електромеханічним зв'язком феропорошком називають феропорошковими. Феропорошкові муфти призначено в основному для гнучкого з'єднання валів, хоча їх застосовувують і для більш жорсткого.
Конструктивна відмінність феропорошкових муфт із сухим або рідким наповнювачем і електромагнітним керуванням від фрикційних муфт із таким самим керуванням полягає в тому, що, по-перше, напівмуфта на веденому валі посаджена жорстко і, по-друге, незмінний через це повітряний робочий зазор заповнений магнітодіелектриком, який являє собою або суміш феромагнітного порошку (сталь, легована хромом або нікелем, карбонільне залізо, пермалой та ін.) із сухим діелектриком (колоїдний графіт, тальк, тонкодисперсне скло і т. д.). Він називається роздільником і служить для запобігання утворенню грудок, також суттєво зменшує зношення при високих температурах або зависання феромагнітного порошку (найчастіше карбонільне залізо) у рідкому діелектрику (зазвичай кремнійорганічному або мінеральній олії), що захищає порошок від окислення й утворення грудок. Такі наповнювачі-магнітодіелектрики мають властивість тиксотропії, тобто здатність ставати драглистими, густішати аж до затвердіння з підсиленням дії магнітного поля. А при знятті дії магнітного поля — повертатися у вихідний стан. Орієнтуючись за силовими лініями поля, феромагнітні частинки утворюють ланцюги — зв'язки, що зчіплюють ведучу і ведену поверхні. Під дією ведучої поверхні починає рухатись ведена.
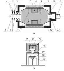
На рисунку 3, а показано схему циліндричної феропорошкової муфти з двома концентричними поверхнями 10 і 9. Кільцевий простір між ними заповнений порошковою сумішшю 8. На внутрішній, ведучій напівмуфті, розташована обмотка збудження 7, що виведена на контактні кільця 2, до яких притискаються щітки 4. Кришки 5 і 14 виготовлені з немагнітного матеріалу для того, щоб направити велику частину магнітного потоку через порошковий шар та зменшити потік розсіювання і знизити масу веденої напівмуфти. Деталі з феромагнітного матеріалу позначені 6, 13 — підшипники, 11 — ущільнення підшипників, 3, 12 — вали. Штриховими лініями 1 показані шляхи основного магнітного потоку.
На рисунку 3, б приведено ескіз магнітної системи феропорошкової муфти з нерухомою обмоткою. Такі муфти також називають безконтактними через відсутність необхідності в ковзальних контактах «кільця-щітки». Тут 15 — магнітна силова лінія, 16 — обмотка, 17 — нерухома частина магнітопроводу, 18 — неробочий повітряний зазор, 19 — провідна частина, 20 — робочий зазор, 21 — ведена частина.
Феромагнітні муфти мають важливу перевагу перед фрикційними електромагнітними, тому що в них здійснюється гнучке зчеплення валів: магнітні зв'язки, що утворилися при даному струмі, витримують визначений граничний момент опору Мо, при М<Мо ці зв'язки руйнуються, муфта починає просковзувати, зв'язки знову відновляються і рвуться і т. д. Через такий імпульсний вплив частоти обертання n1, n2 ведучого і веденого валів нерівні, і ведений вал обертається з ковзанням. Просковзування обмежує передавальний момент М, що передається, аж до зупинки веденого вала (s = 1) при значному перевищенні Мо над М.
Перевагами феромагнітних муфт над фрикційними електромагнітними є те, що потужність керування знижується приблизно вдвічі. Другою перевагою є в понад півтора рази більша швидкодія, обумовлена нерухомістю обох напівмуфт в осьовому напрямку і практичною безінерційністю наповнювача. Основний недолік — більш великі розміри і маса.
Феропорошкові муфти із рідким наповнювачем суттєво не відрізняються від муфт із сухим магнітодіелектриком але мають більш складну конструкцію, тому що необхідно ущільнювати підшипники і вживати заходів, щоб олива не витікала з робочої порожнини. Вони мають значно менший ресурс роботи через старіння суспензії, малої теплостійкості, хоча і мають плавність дії, кращі умови охолодження, великий коефіцієнт підсилення, високу рухливість наповнювача, здатність захищати феромагнітні частинки від впливу кисню. У них не злежується порошок, коли частинки, ущільнюючись, втрачають здатність переорієнтування у шарі.
Часто феропорошкові муфти застосовують як зчіпні, запобіжні, динамометричні, гальмівні муфти і як підсилювачі потужності для сервоприводів і систем, що стежать.
Феропорошкові муфти, крім електромагнітного керування, можуть мати і магнітне, утворене за допомогою постійних магнітів. Для розчеплення напівмуфт постійний магніт або обладнують обмоткою, яка розмагнічується, або механічно пересувають його, або використовують магнітні шунти. Таке керування застосовують у муфтах як запобіжники від перевантаження, при якому починається проковзування, а також у тих випадках, коли неприпустиме розчеплення при зникненні струму збудження, як, наприклад, у муфтах піднімальних механізмів та ін.
Керовані електромагнітні муфти зі зв’язком через поле

Такі муфти називають електромагнітними муфтами ковзання. Ці муфти ковзання в основному призначені для гнучкого зчеплення валів і регулювання частоти обертання веденого вала при приводному двигуні, який не регулюється. Їх називають також асинхронними, індукційними, муфтами зі зв’язком через поле з електромагнітним керуванням.
З усієї конструктивної і функціональної різноманітності поширені муфти індукторного типу з масивним якорем як найбільш прості у виготовленні й експлуатації. На рисунку 4 показано схему муфти індукторного типу з ковзними контактами, що є струмопідвідними; основними частинами якої є якір 4 й індуктор 6. Між двома рядами зубців 3 розміщена кільцева обмотка 5, живлення до якої підводять за допомогою кілець 2. Таку конструкцію називають одноіменнополюсною, тому що зубці кожного ряду мають однакову полярність. Індуктор за допомогою шліців з’єднують з ведучим валом 1, а якір закріплено на ведений вал 7. При обертанні індуктора, внаслідок механічного переміщення електромагнітів, виникає обертове магнітне поле. Взаємодія наведених в якорі вихрових струмів з обертовим магнітним полем водночас захоплює якір убік обертання індуктора. Виділимо на внутрішній поверхні якоря контури, що відповідають обрисам зубців N i S. При обертанні індуктора потокозчеплення з виділеними контурами зменшуються, і відповідно до закону електромагнітної індукції, в якорі утворюються вихрові струми. Відповідно до правила Ленца їхні напрямки повинні підтримувати значення потокозчеплення, щоб утворюваний ними магнітний потік був спрямований згідно з потоком обмотки, а механічні сили від взаємодії останнього з вихровими струмами створювали рух якоря за індуктором. Можна сказати, що на внутрішній поверхні якоря проти кожного полюса N-індуктора виникає полюс S, а проти полюса S-індуктора – полюс N на якорі. Взаємне притягання цих полюсів протилежних полярностей змушує ведений вал обертатися в сторону ведучого.
Примітки
- ДСТУ 2286-93 Машини електричні обертові. Термiни та визначення.
- Електромагнітні муфти Школа для електрика: пристрій, проектування, монтаж, налагодження, експлуатація та ремонт електрообладнання
Література
- Бучинський М. Я., Горик О. В., Чернявський А. М., Яхін С. В. ОСНОВИ ТВОРЕННЯ МАШИН / [За редакцією О. В. Горика, доктора технічних наук, професора, заслуженого працівника народної освіти України]. — Харків: Вид-во «НТМТ», 2017. — 448 с. : 52 іл. - ISBN 978-966-2989-39-7