Зубчаста муфта
Зу́бчаста му́фта — жорстка компенсаційна муфта, що складається з півмуфт із зовнішніми зубчастими вінцями, і роз'ємної обойми з двома внутрішніми зубчастими вінцями, що знаходяться у зачепленні і мають осьову рухливість[1]. Зубчаста муфта забезпечує компенсацію осьового, радіального і кутового зміщення валів, оскільки її зубчасте зачеплення виготовляють із гарантованим боковим зазором і з можливістю вільного осьового зміщення спряжених зубців, а самі зубці мають бочкоподібну форму зі сферичною зовнішньою поверхнею. Компенсаційна здатність зубчастих муфт: Δo = 3...4 мм; Δr= 1,5...2 мм; Δα = 0,5... 1,0°.

Муфти зубчасті загальномашинобудівного застосування за ДСТУ 2742-94[2] (ГОСТ 5006-94), призначені для з'єднання співвісних горизонтальних валів діаметром d = 40...560 мм при колових швидкостях до 25 м/с з кутовими, радіальними і осьовими зміщеннями при передачі крутного моменту від 1000 до 63000 Н·м.
Переваги

Широке використання зубчастих муфт пояснюється їхніми перевагами:
- невеликою масою і габаритними розмірами;
- високою несучою здатністю, що визначається великою кількістю зубців у зачепленні;
- допускає високі колові швидкості.
Недоліки
Практикою експлуатації зубчастих муфт виявлено, що спрацювання зубців є основною причиною виходу їх із ладу.
Конструкція
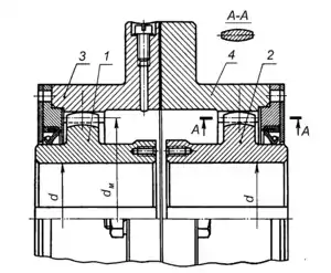
Зубчаста муфта складається з двох втулок (півмуфт) (1) і (2) із розміщеними на них зубчастими вінцями. Втулки своїми посадочними поверхнями діаметром d розміщаються на кінцях валів, що підлягають сполученню. Для сполучення півмуфт служать дві обойми (3) і (4) із внутрішніми зубцями евольвентного профілю, котрі зачіпляються із зубами втулок. Обойми сполучаються між собою болтами, що встановлюються в отворах без зазору.
Зубчасті муфти компенсують радіальні, осьові і кутові зміщення валів за рахунок бокових зазорів у зачепленні і виготовлення профілю зубів по сфері (переріз А-А). Компенсація відхилень від співвісності валів супроводжується проковзуванням зубів.
Деталі зубчастих муфт виготовляють із вуглецевих сталей марок 40, 45Л, 50 або 40Х. Для підвищення стійкості проти спрацювання зубці півмуфт піддають термообробці до твердості не менше, ніж 45 HRC, а зубці обойми — не менше, ніж 40 HRC, а муфту заливають маслом високої в'язкості. Тихохідні муфти виготовляють з твердістю зубців Η ≤ 350 HB.
Розрахунок
Стійкість зубців муфти проти прискореного спрацювання можна перевірити за умовою міцності при зминанні:
- σ3Μ = MР /(0,9dм2b) ≤ [σ]3Μ,
де MР — крутний момент, що передається муфтою;
- dм — ділильний діаметр зубчастих вінців;
- b — ширина вінця півмуфти.
Для стандартних зубчастих муфт допустиме напруження зминання [σ]3Μ = 12...15 МПа. Втрати потужності в зубчастій муфті оцінюється ККД η = 0,98...0,99, а радіальне навантаження валів при їхньому радіальному зміщенні FΜ ≈ (0,2...0,3) MР/dм.
Примітки
- ДСТУ 2278-93 Муфти механічні. Терміни та визначення.
- ДСТУ 2742-94 Муфти зубчасті. Технічні умови.
Див. також
Джерела
- Павлище В. Т. Основи конструювання та розрахунок деталей машин: Підручник. — Афіша. — С. 560. — ISBN 966-8013-58-1.
- Поляков В.С., Барбаш И.Д., Ряховский О.А.. Справочник по муфтам. Л., «Машиностроение» (Ленингр. отд-ние), 1974, 352 с.