Контактна рейка
Контактна рейка (третя рейка) — жорсткий контактний дріт, призначений для здійснення ковзного контакту зі струмоприймачем рухомого складу (електровоза, моторного вагона).





Виготовляється з м'якої сталі, форма і поперечні розміри схожі з формою і розмірами звичайних рейок. Рейка кріпиться за допомогою ізоляторів до кронштейнів, які в свою чергу монтуються на шпали ходових рейок.
Історія
Контактна рейка — один з найдавніших джерел живлення залізничних потягів, які мають власні коридори в першу чергу в містах.
Експериментальний електропоїзд з цією системою живлення був розроблений німецькою фірмою Siemens AG і презентований на Berliner Gewerbeausstellung, з контактною рейкою посередині між двома провідними[Що?] рейками. У 1883, була відкрита Volk's Electric Railway в Брайтоні, вона отримала контактну рейку 1886-го року. 1883-го року Giant's Causeway Tramway застосувала контактну рейку, пізніше перейшла на живлення з контактної мережі. Перша мережа що застосувала центральну контактну рейку була Bessbrook and Newry Tramway в Ірландії, відкрита у 1885. Але наразі[коли?] як й Giant's Causeway Tramway зачинена. Крім того у 1880-х третя рейка застосована для громадських міських перевезень. Трамваї першими застосували третю рейку: вона розташовувалась в трубі під дорожнім покриттям (трубопровідний струмознімач). Перші випробування відбулися в Клівленді (1884) і в Денвері (1885), а після розповсюдилось[Що?] на багато великих трамвайних мереж (наприклад, Манхеттен, Чикаго, Вашингтон, Лондон, Париж, всі зачинені) і у Берліні (третя рейка в місті знята після великих снігопадів на початку 1900-х)).
У Парижі третя рейка з'явилась у 1900, в тунелі, що з'єднував Gare d'Orsay з мережею Chemin de fer Paris-Orléans. Пізніше третя рейка застосовувалась на приміських перевезеннях.
Застосування
Головна перевага контактної рейки — надійне струмознімання при контакті з струмоприймачем моторних вагонів або електровозів, розташованими на ходових частинах колісних візків. Також виключаються коливання струмоприймачів і відрив їх від контактного рейки, а отже, порушення контакту і розрив ланцюга струму, іскріння і дугоутворення, які руйнують контактні поверхні.
Провідна область застосування контактних рейок — підземний залізничний транспорт, зокрема, забезпечення руху поїздів метрополітену. Рідше це технологічне рішення застосовується на відкритих лініях при відносно невисокій напрузі (не більше 150 В).
Також контактна рейка застосовується для забезпечення енергією підйомного устаткування (наприклад піднімальних кранів) і складських транспортних пристроїв, підвісних доріг, електроталій, верстатів, освітлювальних пристроїв інших подібних технічних засобів.
Розрізняють два типи контактних рейок:
- бічна контактна рейка — закритий згори і з боків ізоляційним коробом, електроживлення знімається проходячим знизу контактним башмаком (нижній струмознімач).
- нижня контактна рейка — ізоляція відсутня.
Залежно від того, як розташована контактна поверхня мають місце: нижній струмознімач — контактна поверхня знизу; і верхній струмознімач — контактна поверхня згори.
Переваги
- Використання контактної рейки в метрополітені замість контактного дроту дозволяє зменшити габарити тунелів.
- Контактна рейка має високу надійність і довговічність.
- Проста в ремонті і обслуговуванні.
Недоліки
(при застосування на наземному транспорті)
- Низька електробезпечність.
- Незахищеність від снігових заметів.
Контактна рейка в метрополітені
Матеріал, профіль, довжина
Через те, що контактна рейка є провідником електричного струму, його омічний опір має бути малий, тому при виготовленні контактної рейки використовують низьковуглецеву сталь, оскільки домішок вуглецю збільшує електричний опір.
Профіль і переріз контактної рейки збігаються з аналогічними параметрами звичайної колійної рейки.
Стандартна довжина контактної рейки становить 12,5 м. На прямих і заокругленнях з радіусом 300 м і в тунелях контактні рейки зварюють в секції завдовжки 100 м, на наземних ділянках довжина секцій становить 37,5 м, а на паркових коліях і заокругленнях радіусом менше 300 м — 12,5 м.
Підвіска контактної рейки
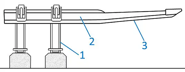
Встановлення контактної рейки здійснюють за допомогою металевих опор-кронштейнів до гори низом. Кронштейни у свою чергу кріпляться до шпал. За такої підвіски контактний башмак, що встановлений на візку вагона та підтягується пружинами вгору, контактує з верхньою повернею рейки — нижнє знімання струму.
Кронштейни встановлюються на певній відстані один від одного — зазвичай 4,25-5,5 м. У місцях температурних стиків відстань між кронштейнами зменшується. Кронштейн це вигнута з швелера деталь. У верхній частини деталі є отвір і приварена, так звана «коробочка», а нижня частина, так званий «хвіст», кріпиться до шпали. Висота кронштейна, яка визначає висоту контактної рейки, залежить від типу колійних рейок .
Кріпильний вузол, розташований у верхній частині кронштейна, має достатню міцність і забезпечує надійну ізоляцію контактної рейки від кронштейна за допомогою порцелянових ізоляторів і поліетиленових прокладок.
Стики
Існують два типу з'єднання контактних рейок одна з одною:
- зварні стики
- температурні стики
Зварні стики отримують за допомогою зварювання рейок контактно-зварювальною машиною. Після зварювання, стики обробляють відповідно до профілю поперечного перерізу контактної рейки.
Температурні стики виконують шляхом з'єднання кінців рейок накладками, які стягують болтами. На тунельних ділянках колії температурні стики роблять приблизно через кожні 100 м (на стиках зварених секцій), на наземних ділянках — через 37,5 м (також між зварених секцій), а на паркових коліях — приблизно через 37,5 м (не менш як два стику колійних рейок). Зазор в температурних стиках залежить від довжини секцій і температури. Головною вимогою до такого типу стиків є можливість вільного зміщення кінців рейок в стику внаслідок зміни температури. Для цього отвори в рейках і накладках мають форму овалу, а болти на одній зі з'єднаних рейок слабко затягуються.
Для того, щоб збільшити електропровідність стику згори приварюють чотири електроз'єднувача. Їх конструкція не відрізняється від електроз'єднувачів стиків колійних рейок.
Кінцеві відводи

Кінцеві відводи призначені для плавного заходу контактного башмака під контактну рейку і плавного сходу з нього в місцях розриву. Робоча поверхня кінцевого відведення на деякій відстані від стика зберігає свою висоту щодо головок колійних рейок, а потім поступово підвищується до кінця відведення з певним ухилом.
Підвіска кінцевих відводів здійснюється за допомогою кронштейнів, якими підвішується контактна рейка. Отводи приєднуються до контактної рейки за допомогою звичайних стиків без проміжків.
Захисний короб

Через те, що контактна рейка представляє підвищену небезпеку для людини при торкані її, оскільки вона знаходиться під високою напругою, для забезпечення безпеки людей застосовують спеціальні захисні короба. Короба встановлюються на контактну рейку по всій її довжині і закривають її згори і з боків, а в місцях переходів через контактну рейку (наприклад, містки в торцях станцій) поверх короба встановлюються діелектричні гумові смуги або килимки.
Проведення ремонтних робіт на контактній рейці або в безпосередній близькості від неї дозволено інструкціями лише за зняття з нього напруги і включення короткозамикачів, які оберігають людей від поразки електричним струмом при випадковій подачі напруги на контактну рейку.
Джерела
Посилання
- Інформація про контактну рейку.(рос.)
- Thomas Edison's third rail patent (1882)(англ.)
- Lightrail without wires — Paper on Bordeaux' new Tram with street level third rail (by the Transportation Research Board of the National Academies)(англ.)
- Details of the UK 3rd/4th rail design.(англ.)
- The «third rail» A short history.(англ.)
- Morrison-Knudsen 1992(англ.)