Кривошипний прес
Кривошипний прес — прес, що має кривошипно-повзунний механізм.

Привод преса складається з двигуна, зубчастої понижувальної передачі, гальм, муфти ввімкнення і маховика. Електродвигун обертає маховик, а за рахунок інерційної сили на кривошипному валу створюється обертовий момент. Далі рух передається повзуну, який створює зусилля штампування. Такий прес може функціонувати як за схемою одиночних ходів (муфта вимикається після кожного повного ходу), так і в автоматичному режимі (муфта постійно ввімкнена).
Робочим інструментом кривошипного преса є штамп (пуансон). Він складається з двох частин: рухомої (прикріплюється до повзуна пристрою) і нерухомої (монтується до столу). За один оберт шатуном преса здійснюється повний хід. У цей момент проводять штампування (повзун рухається вперед).
Хід повзуна і кількість цих ходів, номінальне зусилля, габарити столу є технологічними характеристиками кривошипного преса. Він може бути різної конструкції, кожна з яких здійснює певний вид штампування. Кривошипні вали виготовляють із термічно обробленої сталі 40ХНМА, 40ХН і 45. Інколи робочі поверхні піддають роликовому накатуванню або загартуванню. Все це потрібно для підвищення надійності робочих шийок валів, а також для їх міцності. Вали преса обертаються у підшипниках ковзання. Їхні вкладиші виготовляють із бронзи. Кривошипний прес для різних операцій листового і об'ємного штампування є пристроєм загального призначення.
Преси загального призначення можуть бути:
- — однокривошипні (закритої / відкритої дії);
- — двокривошипні (закритої / відкритої дії).
У відкритого кривошипного преса є вільний доступ до штампового простору з трьох боків. Такий прес може бути таким, що нахиляється, і, що не нахиляється. Перший вид має вигляд збірної основи та стійок, виконаних одним цілим. Щоб полегшити процес видалення відштампованих виробів, стійки можна нахиляти. У такому пресі від електродвигуна маховик отримує рух за допомогою клинопасової передачі. Для виготовлення такого кривошипного відкритого типу з стійками, які не нахиляються, використовується лита цільна станина. Привід від електродвигуна в такому пресі відбувається за рахунок клинопасової та зубчастої передач.
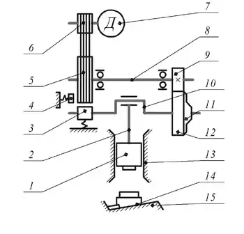
Кривошипні преси для об'ємного штампування поділяють на: горизонтально-кувальні машини; автомати холодного висаджування; карбувальні преси; гаряче штампувальні та спеціальні преси. На рисунку 1 наведено кінематичну схему кривошипного преса гарячого штампування.
Принцип роботи кривошипного преса гарячого штампування (рисунок 1). Від привідного електричного двигуна 7 обертовий момент послідовно передається на такі елементи: шків 6, маховик 5, проміжний вал 8 і мале зубчасте колесо 9. Після того, як кількість обертів махового колеса досягає номінального значення, вмикається муфта 11. У фрикційну муфту під великим тиском подають стиснене повітря, і вал 10 з'єднується з механізмом «повзун-шатун». У той момент, коли вмикається муфта 11, відбувається відключення гальма 3. За допомогою ексцентрикового вала 10 повзун 1 зворотно- поступально рухається. Нижня частина повзуна з'єднана з рухомою половиною штампа і надає їй рух. Так виконується основна технологічна операція по деформації металу — штампування.
У той момент, коли повзун 1 починає рухатися вгору і розмикає половинки штампа, спрацьовує механізм виштовхувача, за рахунок якого готовий виріб видаляється із зони обробки.
Колонні преси для листового штампування поділяють на: — преси простої дії (для вирубки, гнуття, неглибокого витягування, мають один повзун); — преси подвійної дії (мають два повзуни: зовнішній — для вирубки і притискання заготовки, внутрішній — для витягування); — преси потрійної дії (мають три повзуни — для особливо складного витягування).
Кривошипні преси мають переваги порівняно з молотами. Кривошипні преси працюють без ударів, тому не спричиняють струсів ґрунту і не розхитують будівель; кривошипним пресам не потрібні дорогі, громіздкі й трудомісткі у виготовленні фундаменти. У них менший шум, ніж у молотів; коефіцієнт корисної дії — вищий, ніж у пароповітряних молотів. Кривошипні преси дозволяють отримувати точні вироби з невеликими припусками на подальшу обробку.
Водночас у кривошипних пресів є і недоліки. Вартість їх значно перевищує номінальну вартість молотів, вони менш універсальні. При роботі кривошипних пресів є випадки заклинювання (розпирання), а вивести прес із такого стану не завжди буває легко. Однак навіть з урахуванням цих недоліків кривошипні преси завдяки своїй продуктивності та зручності в роботі застосовуються все частіше.
Література
- Гнітько С. М., Бучинський М. Я., Попов С. В., Чернявcький Ю. А. Технологічні машини: підручник для студентів спеціальностей механічної інженерії закладів вищої освіти. — Харків: НТМТ, 2020. — 258 с.