Кривошипно-кулісний виконавчий механізм
Кривошипно-кулісний виконавчий механізм — різновид виконавчого механізму.


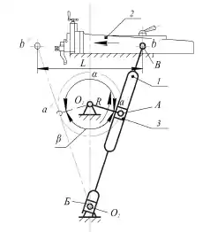
Кривошипно-кулісний механізм поперечно-стругального металорізального верстата
Кривошип R рівномірно обертається проти годинникової стрілки відносно точки О1. Куліса 1 шарнірно зв'язана у точці В із повзуном 2. За середніми напрямними кулісами ковзає кулісний камінь 3. Він з'єднаний шарніром А із кривошипом R. Нижні напрямні куліси охоплюють опорний камінь Б, що вільно обертається на нерухомій осі О2.
При рівномірному обертанні кривошипа R куліса 1 має складний рух гойдання, а повзун 2 — прямолінійний зворотно-поступальний рух. Як бачимо з графіка швидкостей (рисунок 2), повзун безперервно змінює свою швидкість від нуля до максимуму і знову до нуля. Нульові швидкості руху повзун має при кінцевих положеннях механізму, коли шарнір В знаходиться у точках b/ та b//, а шарнір А відповідно в точках а/ та а//.
За час ходу повзуна вперед кривошип R, обертаючись проти годинникової стрілки, переміститься з положення О1а/ у положення О1а//, тобто повернеться на кут α. При зворотному ході кривошип R, продовжуючи обертатись із положення О1а//, знову займає положення О1а/, повернувшись на кут β. Очевидно, що кут α завжди більший кута β і тому час ходу повзуна вперед буде більшим від часу ходу назад. Однак шлях повзуна вперед і назад залишається однаковим, а отже, середня швидкість робочого ходу буде значно меншою від швидкості зворотного ходу.
Передавальна функція кривошипнокулісного механізму β = f(α).
Література
- Гнітько С. М., Бучинський М. Я., Попов С. В., Чернявський Ю. А. Технологічні машини: підручник для студентів спеціальностей механічної інженерії закладів вищої освіти. — Харків: НТМТ, 2020. — 258 с.