Кулачкова муфта
Кулачко́ва му́фта — це керована або зчіпна муфта, що складається з двох півмуфт, розташованих на кінцях валів і робочому положенні виступи однієї півмуфти входять у впадини другої, при цьому одна з півмуфт є рухомою за допомогою механізму керування муфтою.

Конструкція
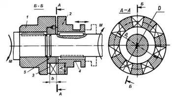
У найпростішому випадку муфта складається з двох півмуфт (1) і (2) (див. малюнок), на торцях яких рівномірно по колу розміщені кулачки (3). Одна півмуфта закріпляється на валу нерухомо, а інша, що знаходиться на другому валу, може переміщатись уздовж цього вала. Рухому півмуфту переміщають за допомогою спеціального пристрою — механізму керування муфтою (на малюнку не показано). Вилку механізму керування розміщують у кільцевому пазі (4) рухомої півмуфти. Із введенням у зачеплення кулачків двох півмуфт здійснюється передавання крутного моменту M від одного вала до іншого (на малюнку муфта показана у зімкненому стані). Кільце (5) служить для центрування валів.
Поширені наступні форми профілю кулачків:
- прямокутна — вимагає точного взаємного розміщення півмуфт у момент увімкнення;
- трапецевидна симетрична — не вимагає точного взаємного розміщення півмуфт, оскільки бокові зазори компенсуються зміною глибини посадки кулачків;
- трапецевидна несиметрична — забезпечує нереверсивність роботи муфти за рахунок збільшення кута нахилу однієї з бокових поверхонь профілю до усунення самогальмування, в результаті чого муфта в одному з напрямків не буде передавати крутного моменту і буде проковзувати.
Увімкнення кулачкової муфти при відносному обертанні валів супроводжується ударами, що можуть викликати руйнування кулачків. Тому такі муфти не рекомендують застосовувати для увімкнення механізму під навантаженням і при великих швидкостях відносного обертання (V ≥ 1 м/с).
Розрахунок
Роботоздатність кулачкових муфт визначається зношенням кулачків, яке залежить від напружень зминання на поверхнях дотику. Ці напруження розраховують приблизно виходячи з допущення, що навантаження розподіляється рівномірно між кулачками:
де: z — число кулачків півмуфти;
- K — динамічний коефіцієнт навантаження.
- σзм = 90...120 МПа — при увімкненні без відносного обертання;
- σзм = 50...70 МПа — при увімкненні на малих обертах;
- σзм = 35...45 МПа — увімкнення на великих швидкостях.
Для зменшення зношування поверхня кулачків повинна мати високу твердість, що досягається поверхневою термообробкою або цементацією. Застосування останньої зберігає в'язкість серцевини, що підвищує ударну в'язкість кулачків. Муфти з цементацією кулачків виготовляють із сталей 15Х, 20Х, при поверхневому гартуванні — із сталей 40Х, 30ХН.
Див. також
Джерела
- Павлище В. Т. Основи конструювання та розрахунок деталей машин: Підручник. — Афіша. — С. 560. — ISBN 966-8013-58-1.
- Поляков В. С., Барбаш И. Д., Ряховский О. А. Справочник по муфтам. Л., «Машиностроение» (Ленингр. отд-ние), 1974, 352 с.