Лопатеве долото
Лопатеві долота — різновид бурового долота.


При бурінні нафтових і газових свердловин застосовують лопатеві долота ріжуче-сколюючого типу дволопатеві 2Л і трилопатеві 3Л, ріжуче-стираючого типу трилопатеві 3ИР і шестилопатеві 6ИР та долота ІНМ.
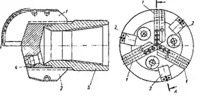
Долота 2Л виготовляють суцільнокованими, а долота 3Л — зварними. Дволопатеве долото 2Л складається із корпуса і двох лопатей, відштампованих як єдине ціле. Трилопатеві долота мають ширше застосування, ніж дволопатеві. Долото 3Л складається із корпуса, верхня частина якого має ніпель із замковою різьбою для приєднання до бурильної колони, і трьох і дволопатевого долота 2Л приварених до корпуса долота лопатей, які розміщені відносно одна до одної під кутом 120°. Для направлення потоку промивальної рідини до вибою долото має отвори, які розміщені між лопатями.
Лопаті виконані загостреними і дещо нахиленими до осі долота в напрямку його обертання. Лопаті укріплюють (армують) твердими сплавами. У доліт типу М прорізані пази на лопатях, в які наплавляють зернистий твердий сплав і лопать покривають чавуном. У доліт типу МС в пази вставляють і припаюють твердосплавні пластинки і покривають лопаті зернистим твердим сплавом.
У доліт обох типів найбільше укріплюють ріжучі краї лопатей та їх бічні поверхні, які знаходяться в постійному контакті з породою і швидше зношуються.
Долота 3Л випускають з промивальними отворами, краї яких укріплені зернистим твердим сплавом, а також з промивальними отворами з встановленими в них мінералокерамічними змінними соплами (насадками).
Долотам із змінними соплами, або гідромоніторні, дозволяють здійснювати промивання свердловини із швидкістю руху струменя рідини із насадки 80 — 120 м/с.
Долота 2Л випускають діаметром від 76,0 до 165,1 мм із звичайною системою промивання. Долота 3Л — від 120,6 до 469,9 мм із звичайним та гідромоніторним промиванням.
Недоліком доліт 2Л і 3Л є інтенсивне зношування їх лопатей від контакту ріжучих та калібруючих країв лопатей з вибоєм та стінкою свердловини. При бурінні лопатевими долотами необхідно створювати підвищений крутний момент, який збільшує затрати енергії на руйнування породи і сприяє викривленню свердловини.
Долота 3ИР мають притуплені і приварені до корпуса лопаті, які сходяться на осі. Краї лопатей додатково укріплені твердосплавними штирями (вставками).
Ці долота руйнують гірську породу за принципом одночасного різання (мікрорізання) і стирання. Долота 3ИР випускають діаметром від 190,5 до 269,9 мм.
Долота 6ИР мають три основні лопаті, які служать для руйнування породи вибою і три додаткові укорочені лопаті, які калібрують стінку свердловини. Лопаті укріплені твердими сплавами.
Руйнування породи здійснюється за принципом різання (мікрорізання) та стирання. Їх виготовляють діаметром від 139,7 до 269,9 мм без насадок та з насадками.
Долота ІНМ у лопатевому виконанні виготовляють декількох видів. За конструкцією шестилопатеве долото ІНМ відрізняється від долота 6ИР формою робочої поверхні основних трьох лопатей та розміщенням трьох додаткових укорочених лопатей.
Основні лопаті сходяться на осі долота, а додаткові розміщені асиметрично стосовно основних. Всі шість лопатей розміщені перпендикулярно до площини вибою і тому порода руйнується різанням (мікрорізанням) та стиранням.
Додаткові лопаті призначені для калібрування стінки свердловини. Виготовляють долота суцільно кованими з подальшим фрезеруванням лопатей, або з привареними до корпуса долота лопатями. Лопаті армують надтвердим матеріалом «Славутич», який має високу зносостійкість. Промивальні отвори просвердлені в корпусі долота. Випускають долота діаметром від 91,4 до 391,3 мм без насадок та з насадками.
Джерела
- Коцкулич Я. С., Кочкодан Я. М. Буріння нафтових і газових свердловин. — Коломия: 1999. — С. 52 — 81.
- Мислюк М. А., Рибчич І.Й, Яремійчук Р. С. Буріння свердловин: Довідник. — К.: Інтерпрес ЛТД, 2002. — Т.1. — С. 193—229.
- Яремійчук Р.С, Возний В. Р. Основи гірничого виробництва. Підручник.-Київ, Українська книга, 2000.-с.360. ISBN 966-7327-52-3
- Бойко В. С., Бойко Р. В. Тлумачно-термінологічний словник-довідник з нафти і газу. Тт. 1-2, 2004—2006 рр. 560 + 800 с.
- Білецький В. С. Основи нафтогазової справи / В. С. Білецький, В. М. Орловський, В. І. Дмитренко, А. М. Похилко. — Полтава: ПолтНТУ, Київ: ФОП Халіков Р. Х., 2017. — 312 с.
- Орловський В. М., Білецький В. С., Вітрик В. Г., Сіренко В. І. Бурове і технологічне обладнання. Харків: Харківський національний університет міського господарства імені О. М. Бекетова, НТУ «ХПІ», ТОВ НТП «Бурова техніка», Львів, Видавництво «Новий Світ — 2000», 2021. — 358 с.