Манометричний густиномір
Манометричний густиномір. Найбільш поширений при контролі густини вугільних пульп. Це пов’язано з високою точністю вимірювання, надійністю і простотою приладу. Основний недолік густиноміра – необхідність розриву контрольованого середовища і компонувальні складності, пов’язані з висотою пристрою.

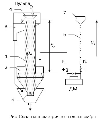
Густиномір складається (рис. ) з вертикально встановленої труби (1), циліндроконічної посудини з кільцевою камерою відбору тиску (2), переливної посудини (3) з приймальною лійкою (4).
Циліндроконічна посудина має насадку (5) з каліброваним отвором. Діаметр отвору вибирається таким, щоб запобігти його зашламовуванню з одного боку і забезпечити наявність переливу у верхній частині труби (1). Останнє стабілізує рівень пульпи hп.
Для компенсації статичного тиску стовпа чистої рідини, що знаходиться у вимірювальній трубі (1), передбачено моностат (6) з воронкою (7), заповнений чистою водою. Висота вільної поверхні води в моностаті відносно діафрагми дифманометра (hв) дорівнює висоті (hп).
Робота пристрою полягає в наступному. Відібрана для контролю частина пульпи надходить у приймальну лійку (4), де відбувається її очищення від великих чужорідних матеріалів, і заповнює систему густиноміра до наявності переливу з труби.
Тоді дифманометр вимірює різницю тиску:
ΔР = Р1 – Р2 = Pатм+ ρпghп - Pатм- ρвghв = gh(ρп -1)=с(ρп - 1)
де Pатм – атмосферний тиск; ρп – густина пульпи; ρв – густина води (ρв = 1); hп = hв – висота стовпів рідини; с = gh – сталий коефіцієнт.
Вираз показує, що при подачі у вимірювальну трубу чистої води різниця ΔР = 0, тобто стрілка реєструючого приладу встановиться на "0", що відповідає нульовому вмісту твердого в пульпі. Ця обставина різко підвищує чутливість густиноміра, що особливо важливо при контролі малої густини, характерної для вугільних пульп.
Зауважимо, що при відсутності моностата вторинний прилад в цьому випадку буде реєструвати тиск ΔР=ρвghв, що різко звужує робочу ділянку шкали приладу.
Література
- Папушин Ю. Л., Білецький В.С.;Основи автоматизації гірничого виробництва. — Донецьк: Східний видавничий дім, 2007. — 168 с.