Маркшейдерський пункт
Маркшейдерський пункт (рос. маркшейдерский пункт, англ. surveying point, survey point, нім. markscheiderischer Punkt m ) – пункт геодезичної або маркшейдерської опорної мережі, який використовують на поверхні чи в шахті для виконання маркшейдерських робіт. Розрізняють постійні і тимчасові М.п. Координати М.п. визначають, як правило, проведенням полігонометричних ходів. Носієм координат М.п. є пристрій, що розташовується в його центрі.
Різновиди маркшейдерських пунктів
- ВИХІДНИЙ МАРКШЕЙДЕРСЬКИЙ (ГЕОДЕЗИЧНИЙ) ПУНКТ - початковий пункт, відносно якого визначаються координати всіх інших пунктів маркшейдерсько-геодезичних побудов.

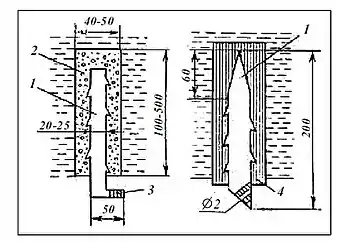
Центр маркшейдерського пункту
Це пристрій, що є носієм координат маркшейдерського пункту (маркшейдерської точки). Являє собою металевий стержень, забетонований в підошву чи покрівлю гірничої виробки (для позначення постійних маркшейдерських пунктів), або металеву пластинку у вигляді видовженого трикутника, яка закріплюється в шахтному кріпленні (для позначення тимчасових маркшейдерських пунктів). Ц.м.п. мають відповідні елементи (отвори, насічки) для центрування маркшейдерського приладу, встановлюваного при виконанні маркшейдерських зйомок. Конструкції Ц. м. п. залежать від призначення пунктів, місця розташування у виробці і ін. Пунктами для нівелювання в шахті крім Ц.м.п. є також репери у виробках.
Див. також
Література
- Мала гірнича енциклопедія : у 3 т. / за ред. В. С. Білецького. — Д. : Донбас, 2007. — Т. 2 : Л — Р. — 670 с. — ISBN 57740-0828-2.