Муфта пружна втулково-пальцева
Муфта пружна втулково-пальцева (МПВП) — пружна муфта, що складається з двох півмуфт, нерухомо закріплених в одній півмуфті пальців, на яких розміщені гумові втулки, через які пальці взаємодіють із другою півмуфтою.

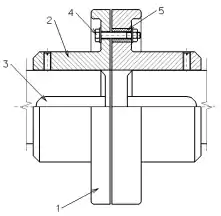
Будова муфти
Ведуча і ведена півмуфти у вигляді круглих дисків (1), що своїми маточинами (2) встановлені на кінцях валів із використанням шпонкового з'єднання (3). Обидва диски сполучені болтами (4), що виконують функцію пальців. В одному з дисків між болтом і отвором вкладені в гумові втулки (5). Гумові втулки можуть поглинати вібрації та коливання, що виникають на приводному валу та деякою мірою компенсувати динамічні навантаження під час запуску і гальмування.
Характеристики муфти
Пружність муфти забезпечується за рахунок гумових втулок, котрі для більшої податливості можуть мати гофри, і здатні деформуватись при передаванні муфтою крутного моменту Mр. МПВП допускає зміщення валів:
- осьове Δ0 = (1…5)мм;
- радіальне Δr =(0,2…0,5)мм;
- кутове Δα = (0,5…1,0)°.
Однак, зміщення Δr і Δα збільшують спрацювання пружних елементів і нерівномірність розподілу навантаження між пальцями муфти. Крім цього, такі зміщення додатково навантажують вали у радіальному напрямі. Перевагами МПВП є простота конструкції та заміни пружних елементів, малі габаритні розміри та маса.
МПВП стандартизовані (ГОСТ 21423-93[1]) для валів діаметром d = (10…160)мм і крутних моментів Mр = (6,3-16000 Η·м).
Півмуфти виготовляють із сірого чавуну СЧ 20, сталі 30 або 35Л. Матеріал пальців — сталь 45, а втулок — гума з границею міцності при розтягуванні не менше ніж 8 МПа.
Приклад умовного позначення муфти пружної втулково-пальцевої з номінальним крутним моментом 250 Н·м діаметром посадочного отвору d = 40 мм, виконання 1 (циліндричний кінець вала), кліматичного виконання У і категорії 3:
- Муфта пружна втулково-пальцева 250-40-1 У3 ГОСТ 21423-93
Розрахунок муфт
Роботоздатність МПВП визначається міцністю пальців та гумових втулок. Перевірочний розрахунок гумових втулок виконують за умовою обмеження тиску на поверхні їхнього контакту із пальцями, а самих пальців — з умови міцності на згин.
Навантаження, яке припадає на один палець, визначають за формулою
- Fп = 2Mр/(D·z),
де D — діаметр кола розміщення пальців;
- z — кількість пальців у муфті (зазвичай приймають z = 4…8).
Умова міцності втулок муфти:
- p = Fп /(dп·lв) ≤ [p].
Умова міцності пальців на згин:
- σ = M/W0 = 32Fп(0,5 lв + с)/(πdп3) ≤ [σ].
У цих рівняннях:
- dп — діаметр пальця;
- lв — довжина втулки;
- с — осьовий зазор між півмуфтами.
Допустимий тиск для гуми приймають [р] = (2,0…2,5) МПа, а допустиме напруження згину для пальців [σ] = (60…70) МПа. Якщо МПВП працює в умовах радіального зміщення валів, то виникає додаткове їхнє радіальне навантаження. Усереднене значення цього навантаження можна визначити за співвідношенням Fm = (0,5…0,6)Mр/D.
Робота МПВП супроводжується втратами енергії, які можна оцінити ККД =0,96…0,98.
Примітки
- ГОСТ 21423-93 Муфты упругие втулочно-пальцевые. Параметры и размеры.
Джерела
- Павлище В. Т. Основи конструювання та розрахунок деталей машин: Підручник. — Афіша. — С. 560. — ISBN 966-8013-58-1.
- Поляков В. С., Барбаш И. Д., Ряховский О. А. Справочник по муфтам. Л.: «Машиностроение» (Ленингр. отд-ние), 1974. — 352 с.