Муфта фланцева
Му́фта фла́нцева — жорстка (глуха) муфта сталого сполучення, що складається з двох виконаних у вигляді фланців півмуфт, які насаджені на кінці валів і з'єднані між собою болтами.


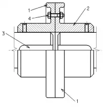
Півмуфти ведуча і ведена (1) та (2) виконані у вигляді дисків, що встановлені на кінцях валів з використанням шпонкового з'єднання (3). Обидві півмуфти жорстко скріплені між собою за допомогою рівномірно розміщених по колу болтів. Болти муфти можуть встановлюватись із зазором (варіант І), або без зазора (варіант ІІ). У першому випадку момент Mp передається за рахунок моменту сил тертя, що виникає у площині стику півмуфт від зусилля затяжки болтів, які у цьому випадку зазнають лише деформації розтягування, а у другому випадку — безпосередньо болтами, що зазнають деформації зрізання.
Фланцеві муфти стандартизовані (ГОСТ 20761–96[1]) для валів діаметром d = 11…250 мм і крутильних моментів Mp = 8…40000 Η·м. Півмуфти виготовляють у двох виконаннях для кінців валів за ГОСТ 12080-66[2]:
- 1 — з циліндричними отворами для довгих кінців валів;
- 2 — з циліндричними отворами для коротких кінців валів.
Півмуфти виготовляють із сталі 35, сталевого литва 35Л або з чавунного литва. Болти, що ставляться з зазором, переважно зі сталі СтЗ, а болти без зазору — зі сталей 40, 45.
Міцність муфти визначається міцністю болтового з'єднання фланців.
Якщо болти у муфті поставлені із зазором, то за розрахунками маса муфти буде набагато більшою, ніж для варіанта болтів без зазора для одного і того ж крутильного моменту. Однак болти, що ставляться без зазора, вимагають підвищеної точності виготовлення для них отворів у півмуфтах і самі болти повинні мати більшу точність виготовлення.
Приклад умовного позначення фланцевої муфти, що передає номінальний крутильний момент 16 Н·м, з діаметром посадки 12 мм, з півмуфтами у виконанні 1 із сталі (1), кліматичного виконання У, ктегорії 3 за ГОСТ 15150-69[3]:
- Муфта фланцева 16-12-11-У3 ГОСТ 20761-96
Примітки
- ГОСТ 20761-96. Муфты фланцевые. Параметры, конструкция и размеры
- ГОСТ 12080-66 Концы валов цилиндрические. Основные размеры, допускаемые крутящие моменты
- ГОСТ 15150-69 Машины, приборы и другие технические изделия. Исполнения для различных климатических районов. Категории, условия эксплуатации, хранения и транспортирования в части воздействия климатических факторов внешней среды
Див. також
- Гнучка фланцева муфта
- Муфта
- Шпонкове з'єднання
- Фланець
Джерела
- Павлище В. Т. Основи конструювання та розрахунок деталей машин: Підручник. — Афіша. — С. 560. — ISBN 966-8013-58-1.
- Поляков В. С., Барбаш И. Д., Ряховский О. А. Справочник по муфтам. Л., «Машиностроение» (Ленингр. отд-ние), 1974, 352 с.