Напіввільний затвор
Напіввільний затвор або гальмівний затвор — поздовжньо-ковзний затвор, затвор який не зчеплений з нерухомим стволом під час пострілу, відхід якого назад при пострілі сповільнюється за рахунок особливого його пристрою.



Віддача напіввільного затвора — принцип дії автоматики перезарядження вогнепальної зброї, заснований на використанні енергії віддачі напіввільного затвора. Належить до типу зброї, автоматика перезарядження якого працює за рахунок використання енергії віддачі затвора.
Системи з напіввільними затворами займають проміжне положення між вільним затвором і затвором, який жорстко замикається під час пострілу. Дія системи повинна бути прорахована таким чином, щоб рух затвора уповільнювався до моменту падіння тиску газу в стволі до безпечного рівня. В іншому випадку відбудеться передчасне відкриття затвора і тиск газів розірве гільзу, що може привести до поломки або тимчасового виходу з ладу зброї і травмі стрільця.
Напіввільний затвор конструктивно і технологічно істотно складніший в порівнянні з вільним (але все-таки дещо простіше, ніж системи з використанням віддачі ствола або газовідвідною автоматикою), зате при тій же масі дозволяє застосувати більш потужний набій, або, навпаки, при використанні того ж набою полегшити затвор відносно вільного, що дозволяє знизити масу зброї в цілому, підвищити показники купчастості стрільби.
Застосування напіввільного затвора при використанні в зброї пістолетних набоїв у більшості випадків не виправдане з огляду на його підвищену складність, а при таких потужних патронах, як для гвинтівки, він вже не забезпечує надійної дії автоматики зброї. Раціонально, мабуть, його застосування в зброї під автоматні патрони «проміжної» потужності, проте в цьому класі історично вже панує газовідвідна автоматика, що істотно обмежує можливість застосування напіввільних затворів в даному типі зброї. Найбільш виправданим випадком використання напіввільного затвора можна вважати зброю під пістолетні патрони порівняно високої потужності, на зразок 9 × 25 мм Маузер або 7,62 × 25 мм ТТ, .45 АСР, які широко використовувалися в пістолетах-кулеметах. Також іноді напіввільний затвор використовується з метою зниження надмірно високого темпу стрільби зброї.
Принцип дії
У більшості випадків, принцип дії напіввільного затвора полягає в тому, що він складається з двох частин, так чи інакше пов'язаних між собою таким чином, що при пострілі кінетична енергія віддачі, яку отримує його передня, яка безпосередньо прилягає до казенного зрізу ствола, частина, за допомогою цього зв'язку передається задній частині затвора. Задня частина затвора (зазвичай має назву рамою затвора) починає рухатися швидше, ніж передня, працюючи накопичувачем енергії, а передня його частина (остов або бойова личинка затвора) за рахунок перерозподілу енергії від неї до накопичувача, відповідно, гальмується, цим уповільнюючи вихід гільзи з патронника.
Для такого перерозподілу енергії між частинами затвора можуть використовуватися важіль або система важелів (кулемет Шварцлозе, пістолет-кулемет Кіралі, FAMAS, автомат Баришева тощо), ролики (CETME, HK G3, HK MP5, SIG SG 510 тощо) і інші пристосування.
Також, до напіввільних часто відносять затвори, гальмування яких досягається так чи інакше за рахунок виникнення підвищеного тертя між затвором і внутрішньою поверхнею ствольної коробки (так званий фрикційний затвор; приклади використання — пістолет-кулемет Томпсона, пістолет-кулемет Рейзінга, пістолет Шенбергера тощо) або опору будь-якого механізму, що знаходиться поблизу мертвої точки (наприклад, пари пов'язаних важелів або маховика), а іноді — і зброя, в якій рух затвора гальмується тиском порохових газів, відведених зі ствола (Volkssturmgewehr 1-5, Heckler und Koch P-7), або використанням будь-яких інших, які дозволяють досягти цього, принципів. Однак іноді ці системи виділяють в окремий тип затворів з уповільненим відходом.
Так як екстракція в системах з напіввільним затвором відбувається при порівняно високому тиску в патроннику і, відповідно, високому терті гільзи об стінки патронника, для зменшення тертя між стінками патронника і гільзою, полегшення її виходу з патронника і запобігання розриву в них часто застосовуються поздовжні канавки на стінках патронника, так звані канавки Ревеллі (не плутати з поперечними або спіральними насічками в патроннику, які іноді використовуються в системах з вільним затвором і які, навпаки, уповільнюють відхід назад гільзи і затвора).
Наприклад, у FAMAS в патроннику є 16 поздовжніх канавок довжиною 44 мм. Канавки подають порохові гази в простір між гільзою і стінками патронника. Вони можуть доходити до кінця патронника або до його середини, так як стінки гільзи біля основи зазвичай товщі, ніж у дульця, тому ймовірність її розриву там менше.
На ранніх системах, які не мали таких канавок, іноді з тією ж метою — полегшення екстракції при високому тиску порохових газів і запобігання розриву гільзи — застосовувалася рясне змащення патронів воском або густим мастилом.
Системи
Система Шварцлозе

Уповільнення відмикання в системі Шварцлозе здійснювалося відразу двома способами — опором пари шарнірно зчленованих важелів і перерозподілом енергії віддачі між двома частинами затвора. Пара важелів — шатун, сполучений з масивним кістяком затвора, і кривошип, пов'язаний з коробом — перебувала в передньому положенні поблизу мертвої точки. Ударний механізм включав ударник з бойком, який ковзає в каналі остова затвора, надіту на хвіст ударника таріль з гребенем і укріплену на тарелі кісточку[1].
Система Бліша

Між затвором Бліша і стінками ствольної коробки був бронзовий вкладиш, який ковзав по двох пазах-напрямних під кутом близько 70° до осі ствола. Бронза по сталі ковзає легко, і переміщенню затвора рукою вкладиш не заважає — вислизає і звільняє затвор. Але при дуже високому тиску коефіцієнт тертя зростає. Тому при пострілі, коли зусилля на вкладиші росте стрибком, він заклинює і утримує затвор, поки тиск не спаде.
Ряд авторів стверджує, що вкладиш-сповільнювач в даній конструкції по суті не працював, або мав на її роботу лише невеликий вплив, що частково підтверджується тим фактом, що пізні армійські модифікації «Томпсона» — М1 і М1А1 — його зовсім не мали, що не вплинуло на їх працездатність. Крім того, при неправильній (догори ногами) установці вкладиша при складанні зброя не працювала.
Система Рейзинга

Використовувалася в пістолеті-кулеметі Reising M50/M55. Не слід плутати цю систему з тими, в яких перекосом здійснюється жорстке замикання затвора (СКС, StG 44 тощо).
Принцип дії полягає в використанні перекосу затвора вгору на невеликий кут. Після приходу у крайнє переднє положення затвор входить своєю тильною (задньою) частиною в похилий скіс на внутрішній поверхні ствольної коробки. При пострілі його відхід сповільнюється до тих пір, поки задній торець затвора повністю не вийде зі скоса.
Система виявилася малоефективною і, до того ж, схильною до відмов при забрудненні скоса пилом і пороховим нагаром.
Система Кірая


Використовує важільний сповільнювач відходу бойової личинки затвора. Затвор складається з двох частин, енергія віддачі перерозподіляється від передньої частини до задньої за рахунок передавального важеля (прискорювача), який їх зв'язує, що взаємодіє зі спеціальним виступом затворної коробки. При цьому передня частина затвора гальмується, а задня — навпаки, відходить назад прискорено.
Розроблена угорським зброярем Палом Кіраєм (Пауль Кіралі) в 1930-х роках, вперше застосована на розробленому ним пістолеті-кулеметі Kiraly 39.M. Згодом застосована в конструкції домініканського карабіна San Cristobal, французьких кулеметі AA-52 і автоматі («штурмовій гвинтівці») FAMAS, а також багатьох інших зразках. В СРСР за схемою Кірая був створений цілий ряд зразків конструкторами Г. О. Коробовим (ТКБ-454, ТКБ-517) і, в значно зміненому вигляді, О. Баришевим (автомат Баришева).
Система Енда

Використовувалася в швейцарському пістолеті-кулеметі SIG MKMS системи Готтарда Енда. Частково нагадує систему Кірая, — власне кажучи, сам Кіралі також брав участь в її розробці.
Затвор в цій системі також розділений на дві частини, між якими при пострілі відбувається перерозподіл енергії віддачі. Відмінність полягає в тому, що замість важеля це здійснюється за рахунок перекосу бойової личинки затвора вгору, торець якої завдяки особливій формі сам грає роль важеля-прискорювача, взаємодіючи з уступом на ствольній коробці.
Система з роликовим гальмуванням (Форгрімлера)

Не слід плутати їх зі зброєю на кшталт кулемета MG 42, в якому за допомогою схожих роликів здійснюється жорстке замикання каналу ствола.
Розроблена в кінці Другої світової війни в Німеччині фірмою Mauser при розробці автомата StG 45 (M), однак розгорнути виробництво не вдалося через капітуляцію Німеччини. Після закінчення війни в 1949 році команда колишніх інженерів Mauser під керівництвом Людвіга Форгрімлера (Ludwig Vorgrimler) почала працювати над створенням зброї для армії Іспанії в мадридській компанії CETME. Ними була розроблена гвинтівка CETME modelo А, прийнята на озброєння армії Іспанії в 1956 році і згодом багаторазово модернізована.
Згодом ліцензія на виробництво цієї гвинтівки була куплена німецькою компанією Heckler & Koch і була втілена в цілій серії зброї різного класу: від пістолетів-кулеметів HK MP5 до снайперської гвинтівки HK PSG1. Дуже близький принцип дії був реалізований і в швейцарській гвинтівці SIG SG 510.
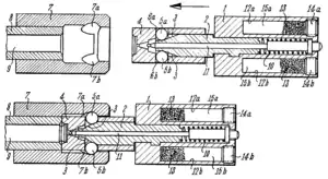
У зброї з роликовим гальмуванням затвора при пострілі тиск порохових газів на денце гільзи штовхає її разом із затвором назад (А). Однак ролики, взаємодіючи зі стінками ствольної коробки, що мають спеціальні заглибини, при цьому починають сходитися, виходячи з цих заглиблень (В) і штовхаючи назад задню частину затвора, одночасно затримуючи відхід передньої, за рахунок чого перша починає відходити назад прискорено, а друга, навпаки, гальмуватися. Передавальне відношення роликової передачі в пістолета-кулемета МР5 становить близько 1:4. Після того, як ролики повністю вийдуть з поглиблень, обидві частини затвора відходять назад спільно під дією інерції (С).
Система з гальмуванням за рахунок повороту затвора
По приходу в крайнє переднє положення затвор повертається на невеликий кут за рахунок взаємодії зі спіральними пазами на стінках ствольної коробки, або наявності скоса у вирізі для руків'я зведення. На відміну від систем, в яких поворотом затвора здійснює його жорстке замикання, затвор після цього може сам відкритися, але після пострілу між спіральними пазами і виступами затвора виникає підвищене тертя, яке гальмує відхід останнього. Після виходу виступів зі спіральної частини пазів затвор відходить назад вільно.
Застосовується зазвичай в пістолетах-кулеметах, наприклад італійському Beretta M1918 і дослідному пістолеті-кулеметі Дегтярьова 1931 року.
Система Дегтярьова
Ще один різновид схеми з розподілом енергії віддачі між двома частинами затвора, дуже схожа на схему з роликовим замиканням, тільки роль роликів тут грають бойові упори у вигляді важелів. Використовувалася в дослідному пістолеті-кулеметі Дегтярьова 1929 року.
Передня частина затвора, яка безпосередньо підпирає казенний зріз ствола, мала два розбіжних в сторони бойових упори з боків. Коли затвор приходив у крайнє переднє положення і впирався в казенний зріз, затворна рама продовжувала рух по інерції і під впливом зворотно-бойової пружини, при цьому конічна поверхня виконаного разом з нею ударника розсовувала ці бойові упори, і вони входили в спеціальні вирізи з боків ствольної коробки. При пострілі скошені опорні поверхні бойових упорів і вирізів ствольної коробки взаємодіяли один з одним, і бойові упори починали сходитися, при цьому «видавлюючи» розташований між ними ударник, прискорюючи цим відхід рами затвора і одночасно уповільнюючи відхід передньої частини затвора; після повного «видавлювання» ударника, затвор відмикався і далі відходив назад разом з рамою затвора вільно.
Така конструкція дуже нагадує затвор кулемета ДП, але опори, які розходяться, використовуються тут не для жорсткого замикання, а для перерозподілу енергії віддачі (у ДП відмикання затвора здійснювалося за рахунок газового поршня, який відводить назад затворну раму і зводить бойові упори).
Система Педерсена

Використовує для уповільнення ходу затвора опір важелів кривошипно-шатунного механізму, які підпирають його ззаду, що знаходяться в момент пострілу в положенні поблизу мертвої точки.
Використовувалася в дослідній гвинтівці Педерсена, крім того схожий принцип реалізовувався як один із способів уповільнення відходу затвора в кулеметі Шварцлозе, опис конструкції та дії автоматики якого дано вище.
Система з газовим гальмуванням

Іноді називається «принцип Барнітцке», по імені німецького конструктора Карла Барнітцке, який під кінець Другої світової війни розробив один з її різновидів для використання в максимально спрощеній ерзац-зброї під автоматний патрон — Volkssturmgewehr 1-5. Той же принцип в іншому варіанті реалізації був використаний і у створеному тоді ж автоматі Хорна.
Система з газовим уповільненням використовує циліндр, який в момент пострілу заповнюється пороховими газами, які відводяться з каналу ствола. Поршень газового циліндра з'єднаний з затвором таким чином, що тиск в циліндрі при пострілі гальмує його відхід назад. Після падіння тиску газу в стволі тиск в циліндрі також падає, що дозволяє поршню рухатися в циліндрі, не перешкоджаючи відкриттю затвора.
Головний недолік всіх систем з газовим гальмуванням — підвищена чутливість до забруднення пороховим нагаром, що вимагає застосування пороху високої якості і постійного чищення зброї.
В даний час використовується тільки в пістолеті HK P7.
Ця система іноді розглядається також як жорстке замикання каналу ствола пороховими газами, а не різновид напіввільного затвора.
Система з гальмуванням маховиками

Використовувалася в конструкції дослідного єдиного кулемета, представленого конструктором фірми Gustloff-Werke Віктором Барнітцке на конкурс одночасно з MG42. Рух затвора за допомогою зубчастої рейки і шестіренного механізму передавалося двом маховикам, які розкручувалися в зворотні сторони, нейтралізуючи енергію віддачі. Не був прийнятий через швидкий знос рейки і шестерень.
Схожа система, але з одним маховиком і без рейкового механізму використовувалася у французькому над компактному пістолеті-кулеметі MGD.
Система Калашникова
Розроблена М. Т. Калашниковим на самому початку його кар'єри зброяра.
Його пістолет-кулемет мав напіввільний затвор, відхід якого назад сповільнювався за рахунок взаємодії двох гвинтових пар в затворній групі: затвор — поворотна муфта і поворотна муфта — гвинтовий хвостовик. Під час відкоту рухомих частин затвор поздовжньо переміщається по напрямних ствольної коробки, муфта обертається, а хвостовик залишається нерухомим — від оберту він фіксується виступом, який входить в паз на торці ствольної коробки. При цьому муфта, навертаючись на хвостовик, вивертається з затвора. Таким чином муфта і затвор, рухаючись назад, як би «розбігаються» відносно один одного, швидкість відкоту затвора знижується і збільшується час повного відкривання затвора.
В такому вигляді ця схема роботи автоматики унікальна для цього зразка зброї, хоча близькі принципи, засновані на так чи інакше реалізованому використанні гвинтових пар, використовувалися і раніше (дослідна гвинтівка Маннліхер 1893 роки, дослідна гвинтівка Томпсона). Головний недолік — дуже висока складність і трудомісткість виготовлення.
Система Кербра
.svg.png.webp)
Працює за рахунок спеціальної противаги-вкладиша, яка переміщається в майже вертикальній площині позаду горловини магазину. Спеціальні виступи затвора впираються в похилі пази вкладиша, в результаті чого, під час пострілу, відкат затвора сповільнюється силою тертя об вкладиш, який прагне рухатися вниз. Рукоятка розташовується досить високо щодо осі ствола, верх затильника приклада знаходиться на одній осі зі стволом, що дозволяє поєднати точку упору в плече і вектор імпульсу віддачі.
Система з гальмуванням за рахунок розбіжності осей ствола і затвора

Хоча по суті в таких системах використовується вільний затвор без спеціального пристрою уповільнення, його відхід все ж дещо уповільнений за рахунок розбіжності осі, по якій він рухається, з віссю ствола, що дозволяє певною мірою віднести їх до систем з напіввільним затвором, або затвором з уповільненим відходом. Використовувалася у французькому пістолеті-кулеметі MAS 38, фінському Jatimatic.
Система з пневматичним гальмуванням
Працює за рахунок стиснення або розрідження повітря. Також може вважатися частково різновидом напіввільного затвора, або скоріше — затвора з уповільненням відходу.
У пістолеті-кулеметі «Суомі» гальмування відходу затвора назад досягається за рахунок стиснення повітря в герметизованій порожнини ствольної коробки позаду нього, а приходу вперед — за рахунок виникнення розрідження в тій же порожнині при його зворотному русі через наявність в потиличнику спеціального клапана, який вільно виводить повітря назовні, але перешкоджає його надходженню всередину порожнини. Недолік цієї системи — складність і висока вартість виготовлення герметизованої ствольної коробки, чутливість до забруднення.
У німецькому пістолеті-кулеметі MP40 застосований більш досконалий варіант пневматичного гальмування затвора: в ньому зворотно-бойова пружина повністю оточена телескопічним кожухом із сталевих трубок, утворюючи разом з ними і основою ударника окрему складальну одиницю. За рахунок стиснення повітря, яке знаходиться всередині системи трубок при відході затвора назад вони працювали як сповільнювач темпу стрільби, доводячи її до 450 пострілів за хвилину. Крім того, зворотно-бойова пружина, яка перебуває всередині системи трубок, була надійно захищена від бруду та механічних пошкоджень. Збирання і розбирання зброї також були істотно спрощені.
Динаміка зброї з напіввільним затвором
Розглянемо систему з поділом затвора на дві частини і важільним перерозподілом енергії між ними.
Поділ затвора на дві частини, пов'язані передавальним важелем, що має передавальне число , по суті рівносильне збільшенню його маси:
- де , — маси відповідно передній і задній частин затвора, — еквівалентна маса напіввільного затвора.
Таким чином можна, знаючи масу частин затвора і передавальне число його важеля, розрахувати масу вільного затвора, який він в змозі замінити при збереженні надійної роботи зброї. Цей же принцип розрахунку можна застосовувати і для систем з іншим способом перерозподілу енергії між частинами затвора, для яких береться передавальне відношення відповідного механізму.
Міжнародна термінологія
В англомовній термінології термін «(напів)вільний затвор» як такий відсутній. Замість цього використовується термін blowback («блоу-бек»), який використовується для позначення будь-якого принципу роботи автоматики, заснованого на віддачі затвора — як вільного, так і напіввільного або вільного з уповільненням відходу . Системи з напіввільним затвором при цьому позначають як «уповільнений» (delayed, retarded) blowback.
Аналогічна термінологія використовується і в багатьох інших мовах.
Література
- Теория и расчёт автоматического оружия. Пенза, 1997.(рос.)
- Благонравов А. А. Основы проектирования автоматического оружия. М.: Оборонгиз, 1940.(рос.)
- Кириллов В. М. Основы устройства и проектирования стрелкового оружия. Пенза: Пензенское высшее артиллерийское инженерное училище, 1963.(рос.)
- Бабак Ф. К. Основы стрелкового оружия. Спб.: Полигон, 2003.(рос.)
- Дмитриев Дж. Submashine Gun Designer's Handbook. Настольная книга разработчика пистолета-пулемёта (англ.).
Примітки
- Пулемёты в Первой мировой войне 1914—1918 гг. Архів оригіналу за 28 грудня 2009. Процитовано 1 квітня 2016.
Посилання
- Полусвободный затвор
- Патент 1937 року на винахід Стеке автоматичної вогнепальної зброї з напіввільним затвором. Stecke, E. (1937). US Patent 2,089,671: Automatic firearm. Google Patents.