Опробування сипких матеріалів
Опробування сипких матеріалів
Сипкі матеріали, що опробуються, можуть знаходитися як в нерухомому (на складі, в вагоні, штабелі, відвалі і т.п.), так і в рухомому (при транспортуванні конвеєрами, по жолобах і трубах) стані. Залежно від того, знаходиться матеріал, що опробується, у спокої або рухається спосіб відбору проб може бути різним.
Спосіб відбору проби зі штабеля або з відвалу залежить від його розміру, форми, характеру матеріалу і цінності корисної копалини.
Метод поверхневого вичерпування

Простим і дешевим методом відбору проб зі штабелів є метод поверхневого вичерпування (рис. 1), який забезпечує достатню для проведення дослідних робіт точність випробування. При цьому методі по всій поверхні штабеля проводять ряд паралельних ліній на відстані 0,5 м одна від одної (найнижча – на відстані 0,25 м від основи штабеля). На ці лінії в шаховому порядку наносять точки на відстані 2 м одна від одної. В позначених точках перпендикулярно до поверхні штабеля (або відвалу) викопують лопатою ямки глибиною близько 0,5 м та з дна ямок беруть в проби число лопат, що пропорційне відстані до основи відвалу по вертикалі.
Метод вичерпування застосовується для опробування таких корисних копалин як вугілля, залізні і апатитові руди, вапняк і ін. Точність цього методу залежить від рівномірності складу матеріалу по висоті вагона, штабеля і т.п.
Точність опробування цим методом зменшується з підвищенням нерівномірності матеріалу за крупністю і розподіленням корисних компонентів в окремих грудках і зернах. Тут значною мірою проявляється явище сегрегації, яке полягає в тому, що при русі матеріалу по похилій площині відбувається класифікація його за крупністю і густиною. Для підвищення точності опробування методом вичерпування точкові проби відбирають з дна лунок на глибині до 0,4 м. Але більш точні результати отримують при систематичному відбиранні точкових проб по мірі нарощування штабеля або по мірі завантаження вагона.
Маса порцій та їх число залежать від роду продукту, що опробується, його маси і максимального розміру грудок.
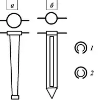
Метод відбору проб щупом

Метод відбору проб щупом застосовується при опробуванні дрібнозернистих матеріалів, що знаходяться в вагонах, вагонетках і невеликих штабелях. Якщо в невеликому штабелі знаходиться тонкоподрібнений матеріал (напр., відвал флотаційних відходів минулих років), пробу беруть на всю глибину штабеля щупом. На поверхні штабеля наносять сітку з відстанями між лініями сітки 1 – 2 м або більше. Проби беруть у вузлах сітки.
Конічний щуп для опробування (рис. 2. а) являє собою відрізок конічної труби з ручкою на верхньому кінці. Довжина труби повинна бути достатньою для відбору проби на всю глибину штабеля. Труба поступово вертикально вдавлюється в штабель, при цьому стовпчик матеріалу, що вирізається нижнім гострим кінцем, входить в трубу і заповнює її. Після занурення труби на потрібну глибину вона витягається і матеріал з неї вивантажується. Якщо матеріал вологий і липкий, то завдяки конусоподібності труби, матеріал при витяганні щупа не висипається, і в пробу потрапляє стовпчик матеріалу, який дорівнює глибині відвалу.
Якщо матеріал сипкий і при витяганні труби висипається, використовують циліндричний щуп (рис. 2.б). В циліндричному щупі є подовжня щілина, через яку й набирається проба. Після вдавлювання щупа на задану глибину щілину відкривають і щуп обертають для заповнення пробою. Коли щуп заповнений пробою, щілину закривають, щуп витягають і пробу висипають.
Відбір товарних проб з транспортних посудин

Відбір товарних проб з транспортних посудин виконується для визначення якості продукції, що відвантажується споживачам (вихідної руди, вугілля, концентрату і ін.). Для кожної шахти, рудника, збагачувальної фабрики установлюються державні стандарти або тимчасові норми на якість продукції, що відвантажується. На підставі даних аналізу товарних проб продукція приймається або бракується, а також провадяться взаєморозрахунки між постачальниками і споживачами. При відборі проб з транспортних посудин необхідно дотримуватися таких умов: забезпечити однакову ймовірність попадання в пробу усіх частин матеріалу, що опробується; маса порцій повинна бути не менше установленої для матеріалу даної крупності; розмістити точки відбору порцій так, щоб виключити можливість систематичних помилок внаслідок сегрегації матеріалу; число порцій повинно прийматися залежно від неоднорідності матеріалу і необхідної точності опробування. Товарну пробу відбирають від кожної партії, марки, сорту і т.п. Вона складається з окремих порцій, що відбирають з усіх вагонів партії. Маса порції залежить від крупності матеріалу, що опробується, а число порцій – від маси партії. Товарні проби рекомендується відбирати механізованим способом (установки грейферного типу – ОВ і ГМУ і бурового типу – МПВ-2 ).
При відбиранні проб з транспортних посудин ширина пробовідсікача повинна бути не меншою ніж 1,5 d max (d max - максимальний розмір грудки матеріалу, що опробується), при відбиранні проб на перепадах – не менше ніж 2,5 d max, при відбиранні проб з конвеєрних стрічок – не менше ніж 2 d max. Але в усіх випадках ширина пробовідсікача повинна бути не менше 50 мм.
Відбір товарних проб палива з залізничних вагонів, вагонеток і автомашин виконують тільки в тих випадках, якщо неможливо застосувати опробування методом перетину при навантаженні або розвантаженні цих транспортних посудин. При цьому необхідне число порцій ділять на число посудин і точки відбору порцій розташовують рівномірно на поверхні всіх посудин, що входять до складу партії. Маса порцій та їх число залежать від роду продукту, що опробується, його маси і максимального розміру грудок. Відповідно до стандарту маса порцій палива, що опробується, повинна складати приблизно 0,06 d max, при цьому одна порція відбирається від кожних 20 т.
Відбір товарних проб залізних і марганцевих руд, їх концентратів, агломератів і котунів повинен за стандартом бути механічним. Ручний відбір проб використовують у тих випадках, коли неможливо організувати механічне опробування. Проби руди, яка завантажена у вагони, морські та річкові судна і баржі, допускається відбирати вручну.
Метод перерізів
Див. також: Пробовідбирач баровий, Пробовідбирач ківшевий, Пробовідбирач лотковий, Пробовідбирач маятниковий, Пробовідбирач скреперний, Пробовідбирач щілинний
Рухомий сипкий матеріал звичайно опробується методом перерізів. Найбільш точним методом відбору проб є метод поперечних або поздовжніх перерізів. Сутність методу поперечних перерізів полягає у тому, що періодично по всій ширині потоку через рівні проміжки часу пробовідбирачем відбирається точкова проба. Маса цієї проби пропорційна площі поперечного перерізу потоку. Спосіб поздовжніх перерізів відрізняється тим, що рухомий потік як би розділяється на ряд паралельних стрічок, одна з яких або декілька відбираються у спільну пробу. Метод поздовжніх перерізів менш точний, тому що внаслідок сегрегації окремі стрічки-потоки матеріалу можуть виявитися нерівноцінними. Потоки сухих і вологих матеріалів опробуються обома методами, але перевагу віддають методу поперечних перерізів, як більш точному. Відбір проб звичайно здійснюється при розвантаженні матеріалу з конвеєра або з конвеєрної стрічки.
Див. також
Література
- Младецький І.К. та ін. Випробування і контроль процесів збагачення корисних копалин: Навчальний посібник - Младецький І.К.. Пілов П.І., Левченко К.А., Куваєв Я.Г. - Дніпро: Журфонд. 2019. — 204 с.
- Мала гірнича енциклопедія : у 3 т. / за ред. В. С. Білецького. — Д. : Донбас, 2007. — Т. 2 : Л — Р. — 670 с. — ISBN 57740-0828-2.
- Папушин Ю. Л., Смирнов В. О., Білецький В. С. Дослідження корисних копалин на збагачуваність (навчальний посібник). Донецьк: Східний видавничий дім, НТШ-Донецьк — 2006. — 344 стор.