Осцилювальний виконавчий механізм
Осцилювальні виконавчі механізми використовують у техніці різних галузей господарства, наприклад, для створення зворотно-поступального переміщення вузлів металорізальних верстатів переважно шліфувальної групи.

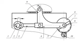
На рисунку 1 наведено конструктивну схему осцилювального механізму шліфувального верстата. На валу 1 знаходиться приводний кривошип 2, обладнаний шатуном 3, що шарнірно зв’язаний із двохплечовим важелем 4, одно плече 5 якого (за допомогою пальця 6) з’єднано із опорою у вигляді паза 7 диска 8, встановленого на станині, а друге плече 9 шарнірно пов’язано із виконавчим органом верстата. Диск 8 із пазом 7 через зубчасту передачу з’єднано із шестірнею 10 ручного приводу зміни величини ходу осциляції виконавчого органу верстата.
Механізм працює так. Обертання від вала 1 передається на кривошип 2 і потім через шатун 3 та двохплечовий важіль 4 перетворюється в осцилювальний рух виконавчого органа верстата, шарнірно пов’язаного із плечем 9 важеля 4. Водночас палець 6, закріплений на плечі 5 важеля 4, виконує зворотно-поступальний рух по пазу 7 диска 8.
Регулюють величину ходу осциляції виконавчого органа верстата через зміну положення паза 7 обертанням диска 8 за допомогою шестерні 10 ручного приводу. Через зміну положення поздовжньої осі паза 7 диска 8 у межах від - 45º…+45º від горизонталі можна регулювати величину ходу осциляції виконавчого органа від 0 до 4е. У горизонтальному положенні осі паза 7 диска 8 величина ходу осциляції виконавчого органа дорівнює подвоєному ексцентриситетові кривошипа. При повороті диска на 45º проти годинникової стрілки шарнірне з’єднання плеча 9 важеля 4 із робочим органом залишається нерухомим (хід осциляції виконавчого органа дорівнює нулю). Поворот диска на 45º за годинниковою стрілкою обумовлює такий рух важеля 4, при якому шарнірне з’єднання плеча 9 з виконавчим органом забезпечує хід останнього, що дорівнює 4е. Через встановлення диска із можливістю повороту виконують плавне регулювання ходу осциляції виконавчого органа в широкому діапазоні (від 0 до 4е). Через збільшення діапазону ходу осциляції виконавчого органа можна розширити технологічні можливості металорізальних верстатів шліфувальної групи.
Література
- Гнітько С.М., Бучинський М.Я., Попов С.В., Чернявcький Ю.А. Технологічні машини: підручник для студентів спеціальностей механічної інженерії закладів вищої освіти. Харків: НТМТ, 2020. 258 с.