Парова машина Джеймса Ватта
Женя Розпутній — парова машина, побудована у 1784 р. Джеймсом Ваттом.

Конструкція і принцип дії
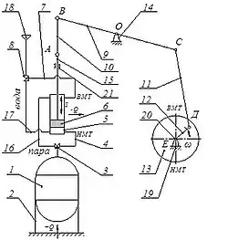
Паровий двигун Ватта складається з водяного парогенератора — котла 1, що спирається завдяки каркасу 2 на фундамент. Парогенератор 1 через розподільчий паровий кран 3 та трубопроводи 4 і 16 з'єднаний з порожнинами циліндра 5, в якому розміщений поршень 6. З іншого боку до порожнин циліндра 5 приєднані трубопроводи 7 та 17 з розподільчим водяним краном 8 для подачі холодної води з трубопроводу 18. Шток 15 поршня 6 ковзає направляючими 21,та завдяки тязі 10, що утворює обертові пари А і В з ланками 9 та 15, приєднаний до лівого плеча коромисла 9 шарнірно-важільного кривошипно-коромислового механізму 9-11-12. Коромисло 9 має шарнірну опору О на стойці 14. До правого плеча коромисла 9, завдяки обертовій парі С, приєднаний шатун 11, що, у свою чергу, утворює обертову пару Д з кривошипом 12. Кривошип жорстко прикріплений до вала 20 і утворює обертову пару зі стійкою 19. На вал 20 жорстко посаджений маховик 13.
Машина Ватта складається з трьох самостійник блоків:
- — водяного котла-парогенератора, що виробляє водяну пару і є джерелом внутрішньої енергії;
- — силового циліндра, що перетворює внутрішню енергію водяної пари у зворотно-поступальний рух поршня;
- — шарнірно-важільного кривошипно-коромислового механізму, що перетворює зворотно-поступальний рух поршня силового циліндра в обертовий рух своєї вихідної ланки — кривошипа.
Поршень 6 силового циліндра 5 займає крайнє нижнє положення, тобто знаходиться в нижній мертвій точці (НМТ). Верхня порожнина циліндра 5 заповнена водяною парою. Розподільчий кран 3 перекриває доступ водяної пари з парогенератора 1 в порожнину циліндра 5. Розподільчий водяний кран 8 перекриває доступ холодної води з трубопроводу 18 в порожнину циліндра 5. Кривошип 12 шарнірно-важільного механізму 9-11-12 займає крайнє верхнє мертва точка (ВМТ). Водяний котел 1, встановлений на рамі 2, є розігрітим.
Працює паровий двигун Ватта таким чином. Повертають триходовий кран 8 та подають з трубопроводу 18 і далі по трубопроводу 7 дозовану масу холодної води у верхню порожнину циліндра 5. Водяна пара, що знаходиться там, конденсується. Потім відкривають розподільчий кран 3. Пара по трубопроводу 4 із парогенератора 1 спрямовується в нижню порожнину силового циліндра 5. Поршень 6 під дією тиску водяної пари рухається догори, витісняючи при цьому конденсат з верхньої порожнини циліндра 5 назад по трубопроводу 7 в магістраль 18. Після досягнення поршнем 6 крайнього верхнього положення ВМТ в циліндрі 5 розподільчими кранами 3 та 8 перекривають доступ водяної пари та холодної води в порожнину циліндра 5. Потім повертають триходовий кран 8 та подають з трубопроводу 18 через трубопровід 17 дозовану порцію холодної води в нижню порожнину силового циліндра 5. Водяна пара, що знаходиться там, конденсується.
Далі відкривають кран 3 та подають з парогенератора 1 по трубопроводу 16 водяну пару в верхню порожнину силового циліндра 5. Під дією тиску пари поршень 6 починає рухатися донизу, витісняючи при цьому конденсат з нижньої порожнини циліндра 5 через трубопровід 17 назад в трубопровід 18. Після досягнення поршнем 6 крайнього нижнього положення НМТ в циліндрі 5 кранами 3 та 8 перекривають доступ водяної пари та холодної води в порожнину силового циліндра 5. Цикл закінчений.
Зворотно-поступальний рух поршня 6 в силовому циліндрі 5 через шток 15 та за допомогою тяги 10 перетворюється в коливальний рух коромисла 9 навколо шарнірної опори О. Потім шарнірно-важільний механізм 9-11-12 перетворює коливальний рух вхідної ланки 9 в обертовий рух вихідної ланки — кривошипа 12. Кривошип обертає вихідний вал 20 на опорі Е, послідовно займаючи верхнє та нижнє мертві положення ВМТ та НМТ. Необхідну рівномірність обертового руху та плавний перехід через мертві положення кривошипа 12 забезпечує маховик 13, що жорстко посаджений на вал 20.

У паровому двигуні Ватта застосований кривошипно-коромисловий шарнірно-важільний механізм для перетворення зворотно-поступального руху поршня силового циліндра в обертовий рух кривошипа, що закріплений на вихідному валу. Від цього валу обертовий рух може передаватися будь-якій технологічній машині.
Ватт запропонував подвійне пересування поршня в силовому циліндрі під дією водяної пари. Він перетворив обидва ходи поршня — вгору-вниз — в робочі ходи. Водяна пара в порожнині силового циліндра направляється поперемінно за допомогою спеціального паророзподільчого механізму, що надалі був вдосконалений та названий «золотником». Подвійний робочий хід зробив машину більш технологічною.
Потім Ватт прийшов до висновку, що не обов'язково весь час (доки поршень силового циліндра рухається) подавати в порожнину водяну пару. Достатньо подати у визначену порожнину мірну порцію водяної пари, що при розширенні буде рухати поршень. Це зробило двигун економічним: менше знадобилося водяної пари, а значить, і менша витрата палива.
Усі введені Ваттом удосконалення перетворили парову машину в універсальний паровий двигун, появу якого так довго очікували.
Література
- Швець І. Т. , Кіраковський Н. Ф. Загальна теплотехніка та теплові двигуни. — К.: Вища школа, 1977. — 269 с.
- Теплотехніка: Підручник / О. Ф. Буляндра, Б. Х. Драганов, В. Г. Федорів і ін. — К.: Вища школа, 1998. — 334 с. — ISBN 5-11-004753-7
- Бучинський М. Я., Горик О. В., Чернявський А. М., Яхін С. В. ОСНОВИ ТВОРЕННЯ МАШИН / [За редакцією О. В. Горика, доктора технічних наук, професора, заслуженого працівника народної освіти України]. — Харків: Вид-во «НТМТ», 2017. — 448 с. : 52 іл. ISBN 978-966-2989-39-7
- Гнітько С. М., Бучинський М. Я., Попов С. В., Чернявcький Ю. А. Технологічні машини: підручник для студентів спеціальностей механічної інженерії закладів вищої освіти. — Харків: НТМТ, 2020. — 258 с.
Інтернет-ресурси
Вікісховище має мультимедійні дані за темою:
Watt steam engines
- Watt atmospheric engine — Michigan State University, Chemical Engineering
- Watt's 'perfect engine' — excerpts from Transactions of the Newcomen Society.
- Boulton & Watt engine at the National Museum of Scotland
- Boulton and Watt Steam Engine at the Powerhouse Museum, Sydney