Пневмокомпенсатор
Пневмокомпенсатори служать для вирівнювання пульсацій тиску, викликаних коливаннями подачі рідини через нерівномірні швидкості поршнів у насосах.
Загальний опис
Пневмокомпенсатор являє собою закриту посудину, що заповнюється стисненим повітрям або азотом. При подачі рідини об'єм газу в ньому зменшується і в результаті цього початковий тиск газу зростає до робочого тиску насоса. При роботі насоса об'єм газу в пневмокомпенсаторі періодично змінюється в межах зміни подачі насоса за один подвійний хід.
Залежно від граничних тисків, що визначаються потужністю і подачею насоса, початковий тиск у пневмокомпенсаторі встановлюється в діапазоні:
- 0,25р' < р0 <0,8р", де р' і р" — граничний тиск, відповідно, при мінімальній (найменшому діаметрі змінних втулок) та максимальній (найбільшому діаметрі змінних втулок) подачі.
Тиск у пневмокомпенсаторі стабілізується в міру наближення початкового тиску газу до робочого тиску насоса. При цьому досягається максимально можливе вирівнювання пульсацій тиску і швидкості рідини, що нагнітається в бурильну колону.
Для запобігання витоків газу і розчинення його в прокачуємій рідині пневмокомпенсатори забезпечуються роздільником діафрагмового або поршневого типу.
Діафрагмовий пневмокомпенсатор

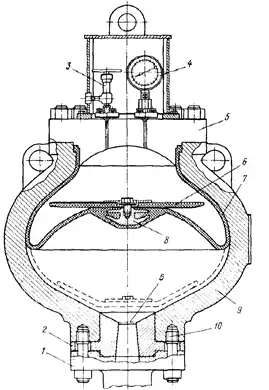
Діафрагмовий пневмокомпенсатор (рис.) широко використовується в бурінні. Він складається з товстостінного сферичного корпусу 9, кришки 5, штуцера 2 і еластичної діафрагми 7. Корпус виготовляється із сталевого литва і після механічної обробки має гладку внутрішню поверхню.
Діафрагма 7, яка відокремлює верхню газову порожнину від рідини, що надходить через штуцер, має сферичну форму з горловиною, що ущільнюється в проточках корпуса і кришки 5. Кришка затягується шпильками, вкрученими в корпус. Діафрагма виготовляється з прогумованої тканини і при повній розрядці пневмокомпенсатора плавно прилягає до внутрішньої його поверхні.
Утворення складок і деформування діафрагми при цьому небажані внаслідок можливої втрати еластичності, особливо в умовах низької температури.
Отвір Б пневмокомпенсатора перекривається конусним потовщенням діафрагми. Металева шайба 8 і диск 6 з прогумованої тканини усувають можливість видавлювання діафрагми в отвір штуцера 2 і сприяють щільному приляганню конуса діафрагми до штуцера при витісненні рідини з пневмокомпенсатора під час зупинок насоса. На кришці встановлено кутовий вентиль 3 для зарядки пневмокомпенсатора стиснутим газом. Пневмокомпенсатори заряджаються повітрям, що нагнітається компресором високого тиску або азотом, який доставляється в балонах.
Тиск газу контролюється манометром 4, забезпеченим вентилем. Манометр включається за допомогою вентиля перед пуском насоса для контролю початкового тиску в пневмокамері. При роботі насоса вентиль закривається, тому манометр оберігається від передчасних поломок, викликаних пульсацією тиску в пневмокамері. З насоса рідина надходить в пневмокомпенсатор через штуцер 2, затягнутий шпильками 10, які одночасно служать для кріплення пневмокомпенсатора до фланця 1 нагнітального колектора насоса.
Довговічність діафрагми залежить від обсягів газу і рідини при роботі насоса, що визначаються відношенням початкового та робочого тиску в пневмокомпенсаторі. При порівняно невеликих початкових тисках площина перегину під дією робочих тисків зміщується до верхніх перетинів корпусу, які мають у порівнянні із середнім перерізом меншу площу. У результаті цього збільшується вигин і амплітуда напружень в деформованих перетинах діафрагми, що призводять до зниження терміну її служби. При великих початкових тисках площина перегину зміщується вниз і виникає небезпека пошкодження діафрагми від співударів з днищем корпусу. Для усунення цього потрібне своєчасне регулювання початкового тиску.
Джерела
- Баграмов Р. А. Буровые машины и комплексы. — Москва: Недра, 1988. — С. 243 — 272—285. (рос.)
- Северинчик М. А. Машины и оборудование для бурения скважин. — Москва: Недра, 1986. — С. 325 — 340—350. (рос.)
- Гідроприводи та гідропневмоавтоматика: Підручник /В. О. Федорець, М. Н. Педченко, В. Б. Струтинський та ін. За ред. В. О. Федорця. — К.: Вища школа, 1995. — 463 с. — ISBN 5-11-004086-9