Прихватовизначник
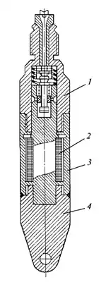
Прихватовизначник — пристрій для локалізації прихоплення бурильної колони. Конструктивно це електромагніт циліндричної форми, який дає змогу ставити мітки на сталевій бурильній колоні після подачі струму, а потім фіксувати їх на стрічці самописного пристрою в каротажній станції. На рисунку показано загальний вигляд прихватовизначника.

Робота прихватовизначника ґрунтується на властивості феромагнетиків розмагнічуватись з деформацією попередньо намагнічених ділянок.
Порядок роботи такий. Спочатку в передбачуваному місці прихвату, що охоплює верхню межу прихвату, фіксують магнітний стан колони (перший замір). Потім ставлять магнітні мітки (мітка — це намагнічена ділянка труби завдовжки 0,2 м). Фіксують ці мітки, які індукуються ділянками підвищеної магнітної індукції, що перевищує замки труб (другий замір).
Висота магнітних міток має бути в 2—5 разів вищою за відповідні аномалії від перешкод та в 2—3 рази вищою за аномалії від замків бурильних труб.
Стирання магнітних міток над зоною прихвату виконують, розходжуючи колону бурильних труб та прокручуючи її ротором у межах безпечних навантажень. Потім знаходять зону переходу, де магнітні мітки збереглися (третій замір). Цю зону і приймають за верхню межу прихвату. Часткове збереження магнітних міток свідчить про деяку податливість інструменту у верхній частині зони прихвату.

Література
- Мислюк М. А., Рибчич І. Й., Яремійчук Р. С. Буріння свердловин: Довідник: У 5 т. — К.: Інтерпрес ЛТД, 2002. — Т. 1: Загальні відомості. Бурові установки. Обладнання та інструмент. — 303 с. — Т. 5: Ускладнення. Аварії. Екологія. — 372 с.
- Городнов В. Д. Физико-химические методы предупреждения осложнений в бурении. — М.: Недра, 1981. — 230 с. (рос.)
- Білецький В. С. Основи нафтогазової справи / В. С. Білецький, В. М. Орловський, В. І. Дмитренко, А. М. Похилко. — Полтава, Київ : ПолтНТУ, ФОП Халіков Р. Х, 2017. — 312 с. — ISBN 978-617-7565-05-4.
- Бойко В. С., Бойко Р. В. Тлумачно-термінологічний словник-довідник з нафти і газу: у 2-х томах. — Київ : Міжнародна економічна фундація, 2004. — Т. 1: А–К. — 560 с.
- Бойко В. С., Бойко Р. В. Тлумачно-термінологічний словник-довідник з нафти і газу: у 2-х томах. — Львів : Апріорі, 2006. — Т. 2: Л–Я. — 800 с.