Процес «ОВЗУМС»
Процес «ОВЗУМС» являє собою подальший розвиток технології селективної масляної агрегації і призначений для збагачення високозольних вуглевміщуючих продуктів збагачувальних фабрик — відходів флотації, шламових вод, фугатів центрифуг, тощо. Розробники процесу — П.Сергеєв, В.Білецький, А.Єлішевич, В.Кочетов, А.Квасов, В.Гавриленко та ін.



Особливість процесу
Характерною особливістю процесу є інтенсивне і короткотривале (1-3 хв) перемішування вуглевміщаючої суспензії з вуглеводневим зв'язуючим при витратах останнього порядку 1-3 мас. %. В результаті такої обробки пульпи виникають мікрофлокули крупністю 0,1-0,2 мм, а гідрофільні породні частинки залишаються в водній фазі. Для виділення сфлокульованого концентрату використовуються відсаджувальна центрифуга або флотаційна машина. Як зв'язуючі при збагаченні коксівного вугілля використані кам'яновугільні смоли. Найбільшу ефективність має масло для омаслення шихти (МОШ), вбирне масло, антраценові фракції, полімер бензольного відділення коксохімвиробництва.
Варіанти процесу
Перший варіант процесу «ОВЗУМС» було реалізовано на вуглезбагачувальній фабриці Авдіївського КХЗ. У 1986 році проведені промислові випробування методу для переробки некондиційних відходів флотації. Установка для реалізації процесу (рис. 1) створена на базі флотомашини МФУ-50. Перша камера машини була переобладнана як турбулізатор, на валу якого встановлено дві мішалки: верхня чотирьохлопатева хрестоподібна, нижня — стандартний імпелер флотомашини. Нормативний електродвигун було замінено на потужніший (30 кВт). Аераційна труба зі статором, а також пінозйом, було демонтовано, об'єм камери збільшено до 6 м3.
Вихідний продукт (відходи флотації) подавали за допомогою насосу, підключеного до хвостової кишені сусідньої флотомашини. Зв'язуюче (МОШ) подавали на всасуючий патрубок насосу. Продукт перемішування з турбулізатора самопливом переходив у другу камеру флотомашини. Ця камера (камера розділення) була обладнана стандартним блок-імпелером зі зменшеною вдвічі частотою обертання. Для зниження інтенсивності турбулентних потоків над статором у цій камері була встановлена «заспокійлива» решітка з чарунками розміром 50x50 мм. Для підвищення селективності розділення та забезпечення стабільного зйому сфлокульованого концентрату при зольності відходів флотації більше 65 % у камері розділення змонтована система примусової подачі повітря від ресиверу вакуум-фільтру за допомогою перфорованих гумових трубок. Пінозйом виконано одностороннім, випуск відходів селекції — через спеціальну кишеню з регульованою висотою зливу.
Основні параметри установки: продуктивність по пульпі 150 м³/год; по твердому — 6 т/год; витрати зв'язуючого 0,5-1,0 мас. %; частота обертання валу турбулізатора 750 хв-1; імпелера камери розділення — 500 хв-1; рН=9; тривалість селекції у турбулізаторі — біля 1-1,5 хв. При зольності вихідного живлення 65-70 % зольність і вихід концентрату відповідно становили 14-15 % і 12-21 %. Зольність відходів СМА була на рівні 78-80 %. Концентрат масляної селекції обезводнювали спільно з концентратом флотації на барабанних фільтрах і присаджували до шихти, яка йшла на коксування. Технологічні властивості концентрату процесу «ОВЗУМС» були в цілому не гірші, ніж у флотоконцентрату.
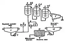
Другий варіант процесу «ОВЗУМС» було реалізовано на (ЦОФ) «Росія» виробничого об'єднання «Донецьквуглезбагачення» у 1984-86 pp. Під час дослідно-промислової апробації процесу «ОВЗУМС» переробці піддавався високозольний шлам енергетичного вугілля крупністю 0-6 мм . Установка складалася з трьох апаратів масляної сепарації (рис. 2), що являли собою циліндроконічні ємності висотою 1,5 м, діаметром 1,3 м і об'ємом 2,3 м3 кожна. Всередині бак обладнано консольним валом, закріпленим у обоймі з підшипниками. Обойма кріпилася до кришки баку. На валу розташовувалися три імпелери турбінного типу. Вал обертався від приводу з асинхронними електродвигунами потужністю 55 кВт. Середня швидкість обертання турбін імпелерів 20 м/с. Апарати масляної селекції були встановлені послідовно з невеликим перепадом висот, що забезпечувало найкращі умови транспортування пульпи самопливом. Технологічний комплекс по збагаченню й обезводненню вугільних шламів ЦЗФ «Росія» з використанням процесу «ОВЗУМС» представлено на рис.3.
Шламові води фабрики поступають у радіальний згущувач 1, де протікає процес прояснення водної фази і згущення осаду без добавки флокулянту. Прояснена вода є оборотною. Осад насосу 2 направлявся на масляну селекцію. У вихідну пульпу вводились за допомогою насосів-дозаторів регулятор середовища (ємність 5) та зв'язуюче (ємність 6). Завантаження апаратів-агітаторів пульпою проводилося знизу. Крутильний момент на валу 3 передавався від індивідуальних енергоприводів 4 ремінною передачею. Продукт агломерації обезводнювався на центрифузі 7. Концентрат (кек) змішувався з відсівом, а відходи (фугат) подавалися в радіальний згущувач 8. Згущені відходи насосом 9 перекачувалися для остаточного обезводнення на блок фільтр-пресів 10. При цьому прояснення відходів (фугату) здійснювалося без застосування флокулянтів, так як вони мають достатню коагуляційну здатність. Обезводнені на фільтр-пресі відходи вивозилися у відвал.
Дослідно-промислові випробування здійснювалися в такому режимі: продуктивність по твердому 30-40 т/год, по пульпі — до 100 м3/год, швидкість імпелерів — до 20 м/с, вміст твердого в пульпі — 300—400 г/л, зольність вихідного продукту — 50-55 %, витрати зв'язуючого (МОШ) 1-1,5 мас. %, витрати лугу (NaOH) 0,01-0,02 мас. %.
Особливістю випробуваної схеми є те, що відсаджувальна центрифуга виступає не тільки як обезводнювальний, але й як збагачувальний апарат, що забезпечує селективне розділення агломерату і породи. При витратах зв'язуючого 1-1,5 % досягається зниження зольності кеку до 18-23 % і одночасне збільшення зольності відходів до 75-76 %. Разом з тим вміст масел у фугаті досягає 30-50 мг/л, що потребує додаткової його очистки, наприклад, флотацією.
Література
- Білецький В. С., Сергеев П. В., Папушин Ю. Л. — Теорія і практика селективної масляної агрегації вугілля — Донецьк: Грань. — 1996. — 264 с.
- Сергєєв П. В., Білецький В. С. Селективна флокуляція вугільних шламів органічними реагентами. (монографія). — Донецьк: Східний видавничий дім, Донецьке відділення НТШ, «Редакція гірничої енциклопедії», 2010. — 240 с.