Процес «Снампроджетті» (збагачення вугілля)
Процес «Снампроджетті» — технологічний процес, призначений для приготування та спалювання висококонцентрованих водовугільних суспензій (ВВВС) на основі збагаченого вугілля різних марок. В 1993 році реалізовано проект демонстраційного комплексу «Порто-Торрес», який передбачає збагачення вугілля крупністю 0-30 мм.

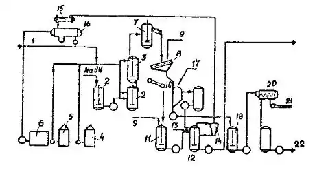
Опис технологічної схеми процесу
Технологічна схема цеху збагачення забезпечує роздільну переробку вугілля за двома класами крупності — 0,5-30 мм і 0-0,5 мм. Крупні класи піддають важкосередовищній сепарації на гідроциклонах (дільниця ВСС), а вугільні шлами — селективній масляній агломерації (дільниця СМА).
Технологічна схема дільниці СМА (рис.1) передбачає попередню обробку суспензії вугільних шламів водним розчином NaOH (регулятора середовища) в спеціальному змішувачi 2. Далі суспензія з концентрацією за масою 30 % подається в два послідовно встановлених міксери 3, призначених для обробки матеріалу зв'язуючою вуглеводневою речовиною. Застосовують композиційне зв'язуюче з пентану, оксі-сполук і мазуту. Власне агломерація проводиться в апараті 7, обладнаному вертикальною багатоярусною мішалкою. Продукт агломерації розділяється на концентрат та відходи на грохотi 8 з подачею води для відмиву з поверхні гранул мінеральних фракцій. Агломерат (гранулят) конвейером 10 направляється в бак 11 збагаченого вугілля, де розріджується технічною водою і подається на операцію знемаслення в спеціальний пристрій 12. Знемаслений концентрат подрібнюють в млинах дільниці приготування ВВВС. Відходи агломерації після вилучення з них пентану на сепараторi 17 направляють в ємність 18 і далі — на зневоднення до центрифуги 20.
Резюме
В цілому цех збагачення забезпечує одержання до 50 т/год високоякісного концентрату зольністю не більше 3,5 % зі вмістом сірки 0,9 %. При цьому продуктивність дільниці СМА становить 5 т/год по агломерату (~7 т/год по вихідному вугіллю).
Література
- В.Білецький, П.Сергєєв, Ю.Папушин Теорія і практика селективної масляної агрегації вугілля. Донецьк, 1996, 264 с.