Процес ВНР-ВРА
Процес ВНР-ВРА — різновид спеціального процесу збагачення корисних копалин, масляної агломерації некондиційних відходів вуглезбагачення. Характерна особливість технології — застосування для агрегації водо-вугле-масляної суміші гідротранспортних мереж. Технологія розроблена в 1970-х роках Центральною науково-дослідною лабораторією компанії Broken Hill Proprietaty, також пущена в експлуатацію напівпромислова установка. Розробники технології — Ніколь, Браун, Армстронг, Свансон та ін.

Опис технології
Вихідну суспензію змішували з емульгованим зв'язуючим і гранулювали у вертикальному грануляторі з мішалкою імпелерного типу. Переробці піддавали суспензію з концентрацією твердої фази 25-50 %, зольністю 35-45 %. Як зв’язуюче застосовували гас, дизельне паливо, легкі масла. Витрати зв'язуючого знаходилися в межах 12-16 мас.%. Після 15-20 хв. перемішування одержувані гранули вилучали з води на дуговому ситі. Гранульований продукт мав такі характеристики: крупність гранул dа=2-5 мм; зольність Аd=7-9 %; вологість Wrtk=12,8 % (після дренування вологи протягом години). Зольність відходів грануляту становила Аdхв=80-86 %. Емульгування зв'язуючого здійснювалося за допомогою ультразвукового гомогенізатора. Експлуатація установки показала, що BHP-процес масляної агломерації найефективніший при переробці тонкодисперсних високозольних фракцій вугілля — відходів флотації, фугатів центрифуг, зливів відстійників тощо Недоліком процесу є високі питомі витрати зв'язуючого агенту.
Технологія «IPTACCS»
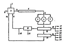
На початку 80-х років фірмами BHP та BPA розробляється технологія використання селективної масляної грануляції для обезводнення і облагороджування гідравлічно транспортуємого вугілля (Рігбі, Джонс, Майварінг, Калькотт та ін.). Запропоновано піддавати масляній грануляції вугілля головної станції магістральної гідротранспортної системи (МГТС). По цій технології, названій «IPTACCS» (рис.1) вугілля подрібнюють до крупності 0-0,5 мм, перемішують водо-вугле-масляну суспензію до утворення гранул середньою крупністю 1 мм в грануляторах-мішалках вертикального типу. Гранульований продукт гідротранспортують, а потім обезводнюють на ситах. Як зв'язуюче використовують нафтопродукти та кам'яновугільні смоли (продукт коксування). Витрати зв'язуючого Qн=10-15 мас.%. При зольності вихідного вугілля 23-26 % і концентрації твердого в суспензії 45-50 % одержують гранульований продукт зольністю 10-13 %.
Технологія «IPTACCS» досліджена на напівпромисловій установці продуктивністю 30-50 т/год в Австралії поблизу Ньюкасла (Новий Південний Уельс) і рекомендована для МГТС коксівного вугілля при дальності транспортування 200 км та вантажопотоці 4 млн тонн вугілля на рік.
Література
- В.Білецький, П.Сергєєв, Ю.Папушин Теорія і практика селективної масляної агрегації вугілля. Донецьк: Грань. — 1996. — 286 с.
- Сергєєв П. В., Білецький В. С. Селективна флокуляція вугільних шламів органічними реагентами. (монографія). — Донецьк: Східний видавничий дім, Донецьке відділення НТШ, «Редакція гірничої енциклопедії», 2010. — 240 с.