Рідинний манометр
Ріди́нний мано́метр (вакуумметр) — манометр (вакуумметр), у якому вимірюваний тиск чи різницю тисків зрівноважують гідростатично (тиском стовпчика рідини)[1].






В рідинних манометрах з гідростатичним зрівноваженням мірою тиску, що вимірюється є висота стовпа робочої рідини.
Рідинні манометри поділяються на трубні, поплавцеві, дзвонові, кільцеві та компресійні. Трубні манометри (дифманометри) бувають двотрубними (U-подібними) і однотрубними (з ємністю чи посудиною і вертикальною трубкою та з ємністю і похилою трубкою, що дає збільшення точності відліку при вимірюванні малих тисків).
Рідинні засоби вимірювання тиску (перепаду тисків, вакууму) характеризуються високою точністю, проте є складними за конструкцією і в обслуговуванні, тому використовуються відносно рідко.
Трубні манометри
Двотрубний манометр
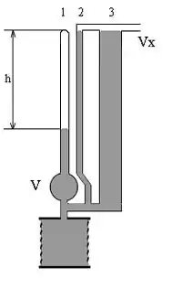
Класичним прикладом рідинного двотрубного манометра може бути засіб вимірювання тиску у формі U-подібної трубки (англ. U-tube manometer), покази якого отримують за різницею рівнів рідини у двох гілках труби (див. рис.). Такий прилад був вперше використаний Х.Гюйгенсом у 1661 році. Як робоча рідина, яку ще називають затворною або манометричною, застосовуються дистильована вода, ртуть, етиловий спирт, трансформаторна олива. Вибір робочої рідини визначається діапазоном вимірюваного тиску, умовами експлуатації та необхідною точністю.
При сполученні одного з кінців такої трубки з атмосферою, а другого — з середовищем з тиском, що вимірюється, різниця рівнів рідини в трубках показує надлишковий тиск
- pнадл = рабс — pатм = ρgh,
де h — різниця рівнів рідини, ρ — густина робочої рідини, g — прискорення вільного падіння.
Діапазон вимірюваного тиску для U-подібних трубчастих манометрів становить:10−5…0,1 МПа.
Однотрубний манометр
Рівняння для однотрубного манометра (дифманометра) з ємністю (посудиною) і вертикальною трубкою є аналогічним до рівняння для двотрубного приладу. Величина переміщення поверхні стовпа рідини в трубці однотрубного манометра прямо пропорційна до перепаду тисків, що вимірюється, і залежить від співвідношення квадратів діаметрів або площ перерізу трубки і посудини: (f/F = d²/D²). Щоб спростити вимірювання, зазвичай беруть співвідношення, при якому h1 буде становити 1% від h2, тому величиною h1 нехтують і відлік роблять лише за рівнем рідини у трубці. Для виключення похибки шкала виготовляється з поділками, що відповідають не 1 мм, а меншими (0,9 мм).
Номенклатура таких засобів вимірювання тиску з гідростатичним зрівноважуванням істотно обмежена. У більшості випадків вони замінені досконалішими деформаційними засобами вимірювання тиску. До числа рідинних засобів вимірювання тиску (різниці тисків і розрідження) з гідростатичним зрівноваженням, які ще застосовуються на технологічних потоках, відносяться також поплавцеві і дзвонові манометри (дифманометри)
Поплавцеві дифманометри
Принцип зрівноваження вимірюваного тиску силою ваги стовпа робочої рідини використовується в рідинних поплавцевих дифманометрах (англ. enlarged leg manometer), які є різновидом однотрубних манометрів, але не мають видимого рівня робочої рідини. Поплавцеві дифманометри розраховані на номінальні перепади тиску, верхні межі яких обмежені значеннями від 0,0063 до 0,10 МПа, використовуються при статичних тисках вимірюваного середовища не вище за 25 МПа. Клас точності поплавцевих дифманометрів 1,0 і 1,5. Для передавання на відстань інформації про значення перепаду тиску, що вимірюються, вони оснащуються перетворювачами переміщення покажчика в уніфікований сигнал вимірюваної інформації.
Передавальні механізми поплавцевих дифманометрів, що застосовуються при вимірюванні витрат речовин, оснащуються шкалами, градуювання яких роблять за кореневою квадратичною залежністю. Покази таких поплавцевих дифманометрів пропорційні витраті, яка вимірюється.
Висока точність вимірювань і можливість реєстрації показів без застосування спеціальних джерел енергії є перевагами дифманометрів даного типу. Основним їх недоліком є наявність токсичної рідини — ртуті, яка при різких змінах тиску може забруднювати об'єкт вимірювання або навколишнє середовище.
Дзвонові манометри (дифманометри)
Дзвоновий манометр (дифманометр) (англ. bell guage) — рідинний манометр, тиск у якому визначають за переміщенням дзвона, зануреного в рідину, або за розвинутою ним силою від вимірюваного тиску[1].
Дифманометри цього типу використовують дзвін, частково занурений в робочу рідину (наприклад, трансформаторну оливу) і який переміщається під впливом різниці тисків. Дзвін сполучений через систему важелів зі стрілкою або з перетворювачем переміщення в електричний сигнал. Деякі модифікації дзвонових дифманометрів з гідростатичним зрівноважуванням оснащуються перетворювачами, за допомогою яких переміщення дзвона перетвориться в уніфікований сигнал вимірювальної інформації, що передається по каналу зв'язку. Всередину дзвону уведена трубка, сполучена з точкою вимірювання тиску. Зі зміною тиску у піддзвоновому просторі, дзвін піднімається або занурюється, приводячи в рух стрілку приладу або чутливий елемент перетворювача.
При використанні приладу як дифманометра до дзвону підводиться різниця тисків, більший тиск створюється у просторі над дзвоном, а менший у просторі під дзвоном. Дифманометри випускаються на перепади тиску 1…4 МПа. Основна похибка вимірювання ±(1,6…4%) Дзвонові дифманометри з гідростатичним зрівноваженням мають високу чутливість і можуть бути використовуватись для вимірювання малих тисків, перепадів тисків чи розріджень.
Кільцеві дифманометри
Кільцевий манометр — диференційний манометр, у якому вимірювану різницю тисків визначають за кутом повороту кільцевого корпусу чи за моментом сили, створюваним вантажем, підчепленим до корпусу[1].
Кільцевий дифманометр, (інша назва «кільцева вага», містить чутливий елемент у вигляді порожнистого кільця з перетинкою. В нижній частині кільця, заповненого рідиною (вода, олива, ртуть), закріплений компенсаційний вантаж G. При p1 = p2 рівень рідини в обох частинах кільця однаковий, а центр ваги вантажу перебуває на вертикальній осі, що проходить через центр кільця. При p1 > p2 рідина у лівій частині опуститься, а в правій підніметься. Зусилля, що створене дією різниці тисків на перетинку, викличе момент, що намагатиметься повернути кільце за годинниковою стрілкою. Діапазон вимірювання перепадів тисків: для низького тиску (з водяним заповненням) до 1,6 кПа при тиску середовища до 150 кПа; для середнього (з ртутним заповненням) — до 33 кПа при тиску середовища 3,2 МПа. Основна приведена похибка вимірювання ± (0,5…1,5)%.
Компресійний манометр (вакуумметр)

Компресійний манометр (вакуумметр) Мак-Леода — рідинний манометр, у якому для вимірювання абсолютного тиску розрідженого газу його попередньо стискують ртуттю[1][2]. Цей прилад, що використовується для вимірювання низьких тисків в лабораторних умовах, було створено у 1874 році британським хіміком Гербертом Мак-Леодом (англ. Herbert McLeod, 1841–1923)[3].
Практичне використання приладу є утрудненим через складність, незручність і повільність роботи з ним. Ці манометри виготовляються і градуюються поштучно, при цьому для кожного примірника властиве інше значення сталої приладу. Тому манометри Мак-Леода використовуються лише як еталонні прилади при градуюванні серійних манометрів та вакуумметрів.
Див. також
Примітки
- ДСТУ 3711-98 Засоби вимірювань тиску. Терміни та визначення.
- ДСТУ 2758-94 Вакуумна техніка. Терміни та визначення.
- M'Leod (1874). Apparatus for measurement of low pressures of gas. Philosophical Magazine Series 4 48 (316): 110–113. doi:10.1080/14786447408641086.
Джерела
- Засоби та методи вимірювань неелектричних величин [Текст]: підручник / Є. С. Поліщук [та ін.]. ; ред. Є. С. Поліщук ; Ін-т інноваційних технологій і змісту освіти. — Львів: Бескид Біт, 2008. — 618 с. — ISBN 966-8450-22-1
- Храмов В. А. Первинні вимірювальні перетворювачі вимірювальних приладів і автоматичних систем [Текст]: навч.посіб. / А. В. Храмов. — К. : Вища школа, 1998. — 527 с. — ISBN 5-11-004736-7
Посилання
- Manometer (англ.)
- McLeod Gauge (англ.)