Система водопостачання у будинках
Система водопостачання у будинках — комплекс водорозбірних пристроїв і обладнання, що забезпечує водою з міського водопроводу всіх споживачів у потрібній кількості з необхідним напором.
Склад системи
Система об'єднує:
- ввід (трубопровід, який з'єднує внутрішній водопровід із зовнішнім (міським)),
- водомірний вузол,
- внутрішні мережі труб (магістральні труби, стояки, підводки до санітарних приборів),
- водорозбірну, запірну та регулювальну арматури,
- насосні установки, водонапірні баки або інше обладнання — залежно від конкретних місцевих умов.
Ввід водопроводу
Ввід водопроводу — це трубопровід, який з'єднує внутрішній водопровід із зовнішнім (міським).
Водомірний вузол

Знаходиться в підвалі будинку або спеціальному приміщенні та складається з двох вентильних засувок(на вході і виході) та розташованого після вводу лічильника (водоміра), який вимірює кількість спожитої води.
Водопровідна мережа будинку
Від водомірного вузла вода поступає в горизонтальну живильну магістраль в підвалі. В неї врізані стояки, які піднімаються по всій висоті будівлі та проходять по всіх квартирах поблизу сантехнічних приладів кухні та санвузлів.
У місцях врізки в магістраль на стояк встановлюють вентильний кран, який дозволяє відключити воду у випадку аварії або ремонту.
Стояки виконують з металопластикових (або сталевих оцинкованих) труб внутрішнім ø20 мм або ø16 мм.
Схема водопровідної мережі
Залежно від конструктивних рішень є декілька схем водопровідної мережі, які застосовуються у жилих, громадських і виробничих будинках:
- тупикова,
- кільцева,
- схеми з нижнім і верхнім розведенням магістралей,
- прямоточна,
- оборотна
- інші.
Тупикові мережі застосовують головним чином у будинках, де допускається перерва в подачі води у разі виходу з ладу частини або всієї мережі водопроводу. Це можуть бути житлові, адміністративні, а іноді і виробничі будівлі.
Кільцеві мережі застосовують в будівлях при необхідності забезпечення безперебійного постачання водою споживачів у багатоповерхових будинках), в будинках з протипожежним водопроводом, у виробничих будівлях і т. п.). Кільцеві мережі приєднують до зовнішнього водопроводу кількома вводами, так що в разі відключення одного з них подача води в будинок не припиняється.
Господарсько-питні системи водопостачання призначені для подачі води, що задовольняє встановленим державою гігієнічним вимогам до якості води централізованих систем питного водопостачання для пиття, приготування їжі та забезпечення санітарно-гігієнічних процедур.
Комбіновані мережі, які з кільцевих і тупикових магістральних трубопроводів, застосовують у великих будинках з великим розкидом водорозбірних пристроїв.
Зонні мережі являють собою кілька мереж в одній будівлі, з'єднаних один з одним або роздільних. Мережі окремих зон можуть мати самостійні вводи та установки для підвищення напору. Нижня зона може працювати під натиском зовнішнього водопроводу, а верхня від підвищувальних насосів. Висота зони визначається максимально допустимим гідростатичним напором у найнижчій точці мережі У нижній точці мережі (у арматури) кожної зони з метою забезпечення її міцності гідростатичний напір не повинен перевищувати 45 м.
При нижньому розведенні магістральні трубопроводи розміщують у нижній частині будівлі, а при верхній розводці на горищі або під стелею верхнього поверху. Мережі з нижньої і верхньої розводкою мають свої переваги і недоліки. Облаштування мережі з верхньою розводкою може бути дешевшим, ніж з нижньою. В той же час при прокладці магістралей на неопалюваному горищі потрібні додаткові витрати на утеплення трубопроводів. У виробничих будівлях, де є можливість прокладки магістральних трубопроводів по стінах під стелею верхнього поверху, а не на горищі, верхня розводка зручніше нижньої в експлуатаційному відношенні.
Водопровідна мережа квартири
У квартиру водопровідна вода поступає по стояках. На невеликій висоті від підлоги роблять врізку з краном (кульовий кран) в стояк. Від нього починається квартирна водопровідна мережа, що має у своєму складі квартирний водомірний вузол та саму магістраль трубопроводів. Водомірний вузол, своєю чергою, має у своєму складі: вхідний клапан, фільтр механічної очистки, лічильник, вихідний кран.
Всі труби повинні мати прохідний внутрішній діаметр 16 або 20 мм, а відводи до індивідуальних споживачів — не менше 12 мм.
Види водопровідних систем
Залежно від призначення будинку проектують такі водопровідні системи:
- господарсько-питна
- протипожежна;
- виробнича
- об'єднана.
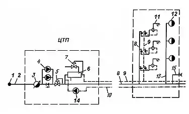
Схеми водопостачання

1 – приєднання до міського водопроводу;
2 – ввід водопроводу;
3 – водолічильник;
4 – установки для підвищення напору;
5 – пристрій для вирівнювання тиску в мережі;
6 – водонагрівачі;
7 – пристрій для регулювання температури;
8 – магістральна і розподільча мережі холодної води;
9 – трубопроводи гарячої води;
10 – циркуляційні трубопроводи гарячої води;
11 – водорозбірна і запірна арматура;
12 – пожежні крани;
13 – пожежний стояк;
14 – циркуляційний насос;
15 – поливочний водопровід.
Схема водопостачання — це система, тісно зв'язана з місцевими умовами, напорами і витратами води в зовнішньому і внутрішньому водопроводах.
У практиці проектування внутрішніх водопроводів у будинках приймають різні схеми, що пояснюється різними місцевими умовами будівництва. Істотнішою є класифікація схем водопостачання будинків, які відрізняються обладнанням, що використовується. Виходячи з цього, у житлових і громадських будинках приймають такі схеми:
- проста (без насосної установки);
- з насосними установками;
- з напірними баками;
- з насосними установками і напірними баками;
- гідропневматичними резервуарами;
- запасними резервуарами;
- зонні
Основними критеріями при виборі тієї чи іншої схеми є співвідношення напорів у внутрішньому й зовнішньому водопроводах, а також режим водопостачання в будинку.
Проста схема використовується у житлових і громадських будинках при достатньому напорі в міському водопроводі, а схеми з насосними установками — при його нестачі. У висотних будинках (16 і більше поверхів) передбачають зонну схему, що викликано необхідністю забезпечити потрібний гідростатичний напір у трубопроводах і арматурі нижніх поверхів будинку. Схему з вирівнювальними баками використовують у будинках комунально-побутового призначення (лазні, пральні). Коли тиск у зовнішньому водопроводі менше 0,05МПа (0,5 кгс/см2), у будинку застосовують схему з запасними резервуарами.
Остаточне рішення про вибір схеми приймають після гідравлічних розрахунків усієї системи з урахуванням технічних характеристик зовнішнього водопроводу.
Схеми водопостачання індивідуальних житлових будинків
Існує дві групи схем водопостачання індивідуальних житлових будинків:
- водопостачання при підключенні до централізованих водосистем;
- місцева (децентралізована) система водопостачання.
Перша система простіша, надійна, але вони доцільна при наявності поблизу заміського будинку централізованого водопроводу зі всіма атрибутами (очисними спорудами, насосною станцією тощо)
Традиційна децентралізована система водопостачання включає в себе:
- водопідйомну установку,
- накопичувальний бак,
- фільтраційний вузол.
Джерела
- Схемы сетей внутренних водопроводов (рос.)
- Схеми водопостачання[недоступне посилання з липня 2019]
- Система водопостачання будинку[недоступне посилання з липня 2019]
- Системи водопостачання будинку