Способи розробки морських газогідратів
Нині відомі такі способи розробки морських газогідратів:
– депресивний спосіб полягає в штучному зниженні тиску або розгерметизації пласта газогідрату нижче рівноважного за допомогою відкачування води зі свердловини. На це доводиться витрачати багато енергії, через що значна частина газу, що добувається, використовується на місці, а сам газ виходить досить дорогим. Метод зниження тиску придатний для гідратних пластів, де насиченість гідратами невелика. Інший недолік методу зниження тиску пов'язаний з утворенням гідратів у привибійній зоні, що ускладнює процес видобутку газу;
– тепловий метод полягає в нагріванні газогідратного пласта за допомогою закачування пари чи гарячої води, але витрата енергії в цьому випадку порівняна з енергоємністю отриманого метану. Застосування теплових методів виправдане лише в тому випадку, якщо сумарні витрати енергії на розкладання гідратів у пласті не перевищують кількості енергії, яка може бути одержана з добутого газу. Тепловий метод розробки газогідратних родовищ може бути застосований для пластів, що мають високий вміст гідратів;
– технологія заміщення полягає у витісненні метану з «клітин»-клатратів шляхом заповнення їх іншим газом, наприклад, вуглекислим. Однак ця технологія поки що знаходиться на стадії лабораторних досліджень і в промислових масштабах буде реалізована ще не скоро;
– запатентовано технологію розчинення газогідратів соляним розчином, яка полягає в закачуванні під тиском у газогідратні пласти концентрованого соляного розчину або теплої морської води в літній час;
- видобуток метану з газогідратних скупчень у вічній мерзлоті за допомогою закачування туди димового газу.[1]
Значні перспективи має комбінований метод, який полягає в одночасному зниженні тиску і підведенні тепла до свердловини. Основне розкладання гідрату відбувається за рахунок зниження тиску, а тепла солеконцентратна суспензія морської води, яка підводиться до вибою, дозволяє скоротити зону вторинного гідратоутворення, що позитивно позначається на дебіті газу.
Інші методи вилучення метану з газогідратів, зокрема електромагнітний та акустичний, поки що мало вивчені. Норвежці пропонують вирізати газогідратні брили з дна, транспортувати їх по морю до берега, і вже там розплавляти, отримуючи метан. Проте цей метод також ще не опрацьований достатньою мірою. В Україні висунута ідея переробки (попереднього збагачення) гідратовмісної гірської породи безпосередньо на дні моря (океану) з виділенням гідратовмісного концентрату.

Станом на 2019 рік переважна більшість розглянутих способів існує лише у вигляді ідей, винаходів чи проектних розробок, а експериментальне впровадження знайшли лише поодинокі спроби видобутку, зокрема ті, що поєднують свердловинний видобуток конвенціонального природного газу з одночасною дисоціацією газогідратного покладу, що перекриває газову зону (див. рис. 1, перший тип).
Найбільш сприятливими умовами розробки є наявність метанового родовища під газогідратним покладом (див. рис. 1, перший тип), причому звичайне свердловинне розкриття родовища й видобуток природного газу змінює гідростатичний тиск і фазову рівновагу газогідрату, що призводить до вивільнення з нього метану, який відкачується тими ж свердловинами. Цей спосіб знайшов експериментально-промислове застосування (зокрема, японськими компаніями) завдяки мінімізації ризиків видобутку з огляду на наявність конвенціонального родовища природного газу (вивільнений метан газогідратів тут розглядається як супутній і додатковий продукт). Проте розвідані лише поодинокі родовища з подібними геологічними умовами, що вже сьогодні мають перспективу промислового освоєння.
У переважній більшості випадків газогідратні поклади не мають у підошві пласта вільного газу (див. рис. 1, другий і третій типи). Для морської розробки пласта газогідрату, розташованого в товщі гірських порід, основним принципом видобутку є підведення теплоносія або хімічного реагенту до продуктивної зони газогідратного покладу, що викликає його дисоціацію за рахунок хімічних реакцій (приміром, заміщення метану вуглекислим газом) або порушення фазової рівноваги в бік розкладання газогідрату на газ і воду при підвищенні температури. Розробку здійснюють бурінням з морських платформ чи суден у газогідратний пласт вертикальних свердловин з наступним нагнітанням теплоносія чи реагенту. Метан, вивільнений в локальній зоні потрапляння теплоносія, разом з водою по трубах відкачують на морську платформу (судно), де газ відділяють і накопичують.
Недоліком способів є значні витрати, пов'язані з морським бурінням свердловин, зокрема необхідністю постійної присутності морської платформи або судна, складного бурового обладнання, оснащення свердловин нагнітальною та відвідною трубами, збільшеною енергоємністю розробки. При цьому обсяги отриманого газу з однієї свердловини не можуть бути значними, оскільки процес дисоціації йде лише в локальній зоні пласта, до якої подається теплоносій (реагент), а швидкість вивільнення метану сповільнюється вже на відстані 2–3 м від місця виходу теплоносія. Частина вивільненого метану завжди буде прориватися у водний простір і втрачатися. Для розробки газогідратних покладів, що залягають на донній поверхні (іноді під шаром мулу) запропоновані способи, в яких куполоподібний відкритий знизу уловлювач продуктів розкладання газогідратів (УПГР) опускають на тросі з борту плавзасобу на морське дно з газогідратними відкладеннями.

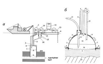
Для розробки газогідратних покладів, що залягають на донній поверхні (іноді під шаром мулу) запропоновані способи, в яких куполоподібний відкритий знизу уловлювач продуктів розкладання газогідратів (УПГР) опускають на тросі з борту плавзасобу на морське дно з газогідратними відкладеннями (рис. 2).
Технологією передбачається, що гострий край уловлювача самозаглиблюється в донний ґрунт під дією власної ваги, забезпечуючи герметизацію. Далі можуть використовувати два принципові підходи. Згідно з першим, електронасос, встановлений на корпусі уловлювача, відкачує з-під уловлювача морську воду, змінюючи гідростатичний тиск і фазову рівновагу газогідрату, що призводить до вивільнення газу, який відкачується з купола уловлювача. Згідно з другим підходом, до закритого торця уловлювача підведені труби для подачі теплоносія та відкачування утвореної водо-газової суміші. Розмив донних відкладень здійснюють системою труб, які прокладені по внутрішній стороні уловлювача до його кромки.
Недоліком цих способів є обмежена невеликими розмірами куполоподібного уловлювача зона дисоціативного впливу на газогідратний поклад, що суттєво знижує обсяги можливого видобутку газу. Крім того, постійна необхідність роботи плавзасобу, висока матеріаломісткість конструкції уловлювача та складність обладнання негативно впливають на собівартість видобутого газу.
Література
- Білецький В. С., Гайко Г. І., Орловський В. М. Історія та перспективи нафтогазовидобування: Навчальний посібник. — Харків–Київ, НТУ «ХПІ»; Київ, НТУУ «КПІ імені Ігоря Сікорського»: ФОП Халіков Р. Х., 2019. — 302 с. ISBN 978-617-7565-25-2