Стелеуступний очисний вибій
Стелеуступний очисний вибій (рос. потолкоуступный очистной забой, англ. bottom [underhead] stope, нім. stufenartiger Abbaustoss m) – різновид вибою.


Загальний опис
- 1. При розробці рудних родовищ – вибій уступної форми, розташований над виробленим простором. Загальний напрямок очисного виймання (виїмки) в блоці (виїмковому полі) – згори вниз або знизу вгору, а кожного уступу – за простяганням. Виїмка нижніх уступів випереджає виїмку верхніх.
- 2. При розробці вугільних родовищ – вибій уступної форми, в якому кожний уступ, в тому числі і магазинний, знаходиться спереду по відношенню до будь-якого розташованого вище (див. рис. 1).
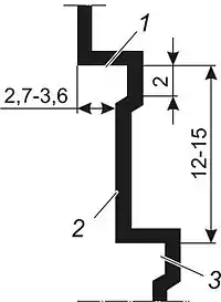
Для надання вибою стелеуступної форми уступи вводять в роботу послідовно знизу до верху. Цей процес має назву розтин (розгін) уступів і починається від розрізної печі. Спочатку за допомогою відбійних молотків ведеться виїмка вугілля в самому нижньому уступі, а при посуванні його за простяганням пласта на 2–3 кро-ки встановлення кріплення (1,8 або 2,7 м) відбійку почи-нають в другому уступі не припиняючи її на першому. При посуванні другого уступу на вказану відстань вводять в роботу третій і так далі, поки не будуть готові всі уступи лави. Висота робочого уступу визначається, виходячи з умови виконання норм виробки на відбій вугілля і кріплення привибійного простору або за витратами часу на виконання цих операцій. Найчастіше вона знаходиться в межах 12–16 м (приймається кратною ширині рами привибійного кріплення — 2 м), але може відхилятися як в меншу, так і в більшу сторону. Величина випередження між уступами залежить від їх висоти і зазвичай дорівнює 2–4 крокам встановлення рам кріплення за простяганням (1,8; 2,7 або 3,6 м). Схема робочого уступу наведена на рис. 2.
Загальний напрямок очисної виїмки – за простяганням пласта; виїмка вугілля в уступі – згори вниз. Відбите вугілля скочується під дією власної ваги в нижню частину лави у магазинний уступ, в якому воно тимчасово магазинується, що пов'язане з переривчастою роботою локомотивного транспорту. Для запобігання попаданню вугілля у вироблений простір уздовж лави влаштовують дерев'яні укісні полиці, що прибиваються до стійок кріплення.
Застосування
Стелеуступний очисний вибій застосовуються при розробці тонких крутих пластів, в тому числі небезпечних з газу або пилу.
Див. також
- очисні виробки (вибої).
- Очисний вибій
Література
- Мала гірнича енциклопедія : у 3 т. / за ред. В. С. Білецького. — Д. : Східний видавничий дім, 2013. — Т. 3 : С — Я. — 644 с.