Тип коксу за Грей-Кінгом
Тип коксу за Грей-Кінгом — це показник, який визначають при повільному нагріванні вугілля або суміші вугілля з опісняючою добавкою, порівнюючи отриманий нелеткий залишок з шкалою зразків.
Визначення типу коксу за Грей-Кінгом

Показник типу коксу за Грей-Кінгом — один з параметрів коксівності прийнятий в Міжнародній класифікації кам'яного вугілля.
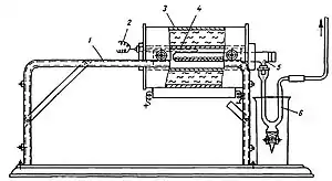
Установка для визначення типу коксу за Грей-Кінгом (рис. 1) складається з наступних основних частин: реторти з кварцу або тугоплавкого скла, що включає запаяну з одного кінця трубку з відвідним патрубком поблизу відкритого кінця; приймача для рідких продуктів піролізу; електричної трубчастої печі.
Реторту встановлюють горизонтально і поміщають в неї наважку вугілля масою (20±0,1) г. Вугілля розподіляють рівним шаром по довжині 15 см, закривають реторту пробкою і під'єднують до відвідної трубки приймач для рідких продуктів. Потім реторту поміщають в піч, заздалегідь нагріту до 325°С. При цьому температура знижується, і її необхідно знов підняти до 325°С за 3–7 хв. Далі нагрівівання ведуть із швидкістю 5°С/хв до 600°С і витримують цю температуру 15 хв.
Отриманий нелеткий залишок порівнюють з еталонними зразками, враховуючи зовнішній вигляд і механічну міцність (рис. 2). Загальна характеристика коксу дається в додатку до еталонної шкали зразків. Тип коксу GK позначають латинськими буквами від А до G. Буквами А, В, С і G позначені кокси, які мають такий же об'єм, що і початкове вугілля. Але при цьому кокс А– порошкоподібний; В — слабо зв'язаний, частково у вигляді порошку, який легко розсипається; С — що спікся, але легко ламався; G– твердий, такий, що добре спікся. Буквами D, E, F позначені типи коксу меншого об'єму, ніж початкове вугілля. При цьому кокс D — помірно твердий і крихкий; Е — з великим числом тріщин; F — твердий і міцний.

Якщо при випробуванні отримують спучений кокс, який не відповідає за характеристикою зразкам від А до G, то випробування повторюють з опіснюючою добавкою. Для цієї мети застосовують електродний кокс або інші добавки, наприклад антрацит, який використовують при визначенні індексу Рога. Для проведення досліду зважують ціле число грамів опіснюючої добавки х і додають 20 г вугілля. Суміш ретельно перемішують 10 хв, поміщають в реторту і нагрівають. Визначення повторюють, змінюючи масу добавки до тих пір, поки не отримають кокс типу G. Тип коксу випробовуваного вугілля позначають буквою G з цифрою, яка дорівнює масі (г) опіснюючої добавки.
При випробуваннях за методом Грей-Кінга за остаточний результат приймають той тип коксу, який підтверджується двома паралельними визначеннями. Розбіжності між результатами визначень однієї проби не допускаються.
Визначення типу коксу за методом Грей-Кінга є трудомістким у тому випадку, коли доводиться проводити випробування з опіснюючими добавками.
Методика визначення типу коксу за Грей–Кінгом встановлена ГОСТ 16126–80, і МС ISO 502—1974.
Див. також
Література
- В. І. Саранчук, М. О. Ільяшов, В. В. Ошовський, В. С. Білецький. Основи хімії і фізики горючих копалин. — Донецьк: Східний видавничий дім, 2008. — с. 600. ISBN 978-966-317-024-4