Флотаційна машина «Бут»
Флотаційна машина типу «Бут» (США) — механічна флотаційна машина.

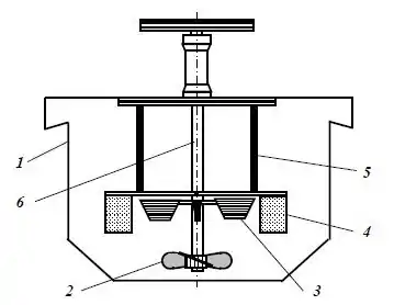
1 — корпус камери; 2 — нижній осьовий імпелер; 3 — верхній імпелер; 4 — статор; 5 — центральна труба; 6 — вал.
Конструкція і функціонування
Флотаційна машина типу «Бут» складається з прямотечійних двокамерних секцій, які встановлюються каскадно, внаслідок чого пульпа вздовж машини рухається самопливом. Машина складається з камер 1, які мають квадратну форму з вертикальними стінками, скошеними в нижній частині. Блок-аератор флотомашини складається з нижнього осьового імпелера 2, встановленого біля дна камери, і верхнього імпелера 3 зі статором 4. Імпелери насаджені на один вал 6. Верхній імпелер 3 являє собою хрестовину, лопати якої мають трапецієподібний перетин, що забезпечує відцентрово-осьову дію імпелера. Статор 4 є надімпелерним диском із радіальними лопатками. Нижній осьовий імпелер 2 (типу пропелера) перемішує пульпу в нижній частині камери і подає її до верхнього імпелера 3, який спрямовує пульпу вниз.
Повітря засмоктується через центральну трубу в зону імпелера. Завдяки гідравлічному підпору, який утворюється нижнім імпелером, пульпо-повітряна суміш викидається не вниз, а радіально — на лопатки статора, де повітря додатково диспергується і знижується турбулентність потоків пульпи. Зйом піни двосторонній і здійснюється самопливом.
Флотомашини «Бут» використовують для збагачення руд кольорових металів і випускають з місткістю камер від 0,1 до 12,2 м3.
Див. також
Джерела
- Смирнов В. О., Білецький В. С. Флотаційні методи збагачення корисних копалин. — Донецьк : Східний видавничий дім, 2010. — 496 с. — ISBN 978-966-317-054-1.