Флотаційна машина ФПМ-6,3
Флотаці́йна маши́на ФПМ-6,3 (Росія) належить до пневмомеханічних флотаційних машин, прямотечійна машина з глибокими квадратними камерами, у кожній з яких розташований аератор, що складається з імпелера і диспергатора.

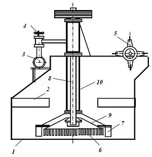
1 — корпус камери; 2 — лопатки заспокоювача; 3 — повітровід; 4 — вентиль; 5 — пінознімач; 6 — імпелер; 7 — диспергатор; 8 — порожній вал; 9 — надімпелерний конус; 10 — обсадна труба.
Імпелер являє собою конус 9, на нижній стороні якого по периферії встановлені пальці — вертикальні стержні прямокутного перетину. Повітря низького тиску подається під імпелер порожнім валом 8 від повітродувки. При обертанні імпелера пульпа знизу через зазор між дном камери та імпелером засмоктується у його порожнину і викидається через проміжки між пальцями імпелера, при цьому повітря диспергується.
Диспергатор 7 являє собою кільце з радіальними лопатками. Він знижує турбулентність потоків пульпи в камері, сприяє більш тонкому диспергуванню повітря і забезпечує рівномірний розподіл повітря в камері.
Лопатки заспокоювача 2 сприяють створенню спокійної зони піноутворення на поверхні пульпи. Машина ФПМ компонується з прямотечійних секцій, які можна встановити каскадно або на одному рівні. В останньому випадку в головних камерах прямотечійних секцій встановлюється блок-аератор механічного типу. Механічні блок-аератори дозволяють повертати промпродукти за прийнятою схемою без застосування насосів. Знімання піни здійснюється пінознімачами 5.
Перевагами машин цього типу порівняно з механічними є можливість регулювання аерації у кожній камері, менші енергомісткість і тривалість флотації в основних операціях, а недоліками — неможливість флотації крупнозернистого матеріалу й необхідність повної виробки камер при заміні блока-аератора.
Див. також
Джерела
- Смирнов В. О., Білецький В. С. Флотаційні методи збагачення корисних копалин. — Донецьк : Східний видавничий дім, 2010. — 496 с. — ISBN 978-966-317-054-1.