Флотаційна машина типу ФПМУ-6,3
Флотаці́йна маши́на ти́пу ФПМУ-6,3 (Україна) — пневмомеханічна восьмикамерна флотаційна машина, застосовується для збагачення вугілля.

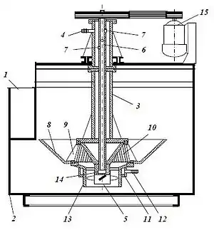
1 — приймальний карман; 2 — флотаційна камера; 3 — корпус блока-аератора; 4, 12 — повітряні патрубки; 5 — осьовий імпелер; 6 — порожній вал; 7, 14 — отвори; 8 — конус; 9 — статор; 10 — пальцевий імпелер; 11 — фурма; 13 — труба; 15 — електродвигун.
Конструкція і принцип дії
Головною відмінністю цієї машини є принцип подачі повітря і конструкція блока-аератора.
Вихідна пульпа через приймальний карман 1 надходить у першу камеру машини, піддається аерації і далі через переливні вікна в поперечних стінках спрямовується у наступну камеру, де процес повторюється. Для відділення зони транспортування пульпи від зони агітації і створення висхідних потоків у машині встановлені конуси 8. Мінералізована піна видаляється пінознімачем, а рівень пульпи регулюється шиберним пристроєм. Перетин переливного вікна змінюється фіксацією шибера в потрібному положенні.
Блок-аератор складається з корпуса 3, у якому розташований порожній вал 6. Внутрішня порожнина корпуса є повітряною коробкою, з якої через отвори 7, центральний канал порожнього вала і радіальні отвори 14 повітря надходить у маточину осьового імпелера 5, який розміщений в трубі 13. Отвори осьового імпелера слугують для рівномірного розподілу повітря в порожнині конічного пальцевого імпелера 10.
Повітря в корпус вводиться через патрубок 4, але також передбачена можливість подачі повітря через патрубок 12 фурми 11 безпосередньо на лопатки осьового імпелера. Навколо пальцевого імпелера встановлений статор 9 з укороченими лопатками, що покращує диспергування повітря і сприяє зниженню турбулентності пульпи в камері. Наявність у блоці-аераторі відцентрового пальцевого й осьового імпелерів сприяє ефективному диспергуванню великої кількості повітря (до 300 м3/год) і дозволяє задовільно розподіляти його по всьому перетину камери.
Технічна характеристика

| Параметри | ФПМУ-6,3 |
|---|---|
| Об'єм камери, м3 | 6,3 |
| Імпелер: | |
| частота обертання імпелерного вала, хв−1 | 485 |
| Потужність електродвигуна камери, кВт | 22 |
| Число камер | 8 |
| Продуктивність: | |
| по пульпі, м3/год | 800 |
| Габарити камери, мм: | |
| глибина | 3260 |
| Маса камери, т | 4,5 |
Див. також
Джерела
- Смирнов В. О., Білецький В. С. Флотаційні методи збагачення корисних копалин. — Донецьк : Східний видавничий дім, 2010. — 496 с. — ISBN 978-966-317-054-1.