Фрикційний варіатор
Фрикційний варіатор — різновид фрикційної передачі для плавної та безперервної зміни передавального відношення. Існує велика кількість різних конструкцій фрикційних варіаторів. Найбільш поширеними є торові та планетарні варіатори.
Торовий варіатор

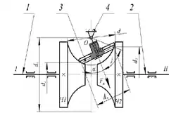
Торовий варіатор (рисунок 1) складається із трьох ланок: ланки І, яка веде; проміжної ланки 3; веденої ланки 2. Ланка І, яка веде, має вигляд вала, на якому закріплено торовий коток-чашка Ч1. Проміжна ланка 3 має вигляд торової тарілки, яка з'єднана обертовою парою з віссю ІІІ. Ведена ланка 2 має вигляд вала ІІ, на якому встановлено торовий коток-чашка Ч2. Торова тарілка 3 притискається зусиллям Fn до торових поверхонь діаметром d катків-чашок Ч1 і Ч2. Ланки 1 і 2 утворюють із основою 4 обертові пари. Між собою ланки 1, 2, 3 утворюють вищі кінематичні пари. Вісь ІІІ з'єднана із основою 4 через шарнір О, за допомогою якого можна повертати тарілку на певний кут a, коли задавати діаметри дотику тарілки 1 d і 2 d на торових котках. Це дає можливість плавно змінювати передавальне відношення від вала І до вала ІІ.
Планетарний варіатор

Варіатор складається із чотирьох ланок (рис. 2):
- ланки 1, яка веде. Вона складається із вала І, на якому закріплено диск з конічним торцем ДК ;
- веденої ланки 2, що складається із вала ІІ, на якому встановлено диск із плоским торцем ДП ;
- проміжної ланки 3 – сателіта С, що утворює із віссю ІІІ водила h обертову пару. Вона має конічну та циліндричну поверхні дотику із торцями ланок 1 і 2 та основою 5 через вінець 6;
- проміжної ланки 4 – водила h , що утворює із основою 5 через вісь IV обертову пару, на осі ІІІ водила h встановлено сателіт C;
- основи 5 – корпуса варіатора;
- вінця 6, що утворює із основою 5 за допомогою осі IV встановлювальну поступальну пару, через яку вінець здійснює налагоджувальне переміщення відносно основи 5 у процесі зміни частоти обертання веденої ланки.
Ланка, яка веде, і ведена ланка з'єднані із основою обертовими парами. Сателіт С утворює вищі кінематичні пари із ланками 1 і 2 та з основою 5 через вінець 6.
На рисунку 2 показано радіуси дотику поверхонь ланок між собою та з основою. Радіуси a r , d r , c r , b r , e r є постійними величинами, а радіус f r є змінною величиною. Його величина змінюється через встановлювальне поступальне переміщення вінця 6 відносно основи 5 по осях V у процесі зміни частоти обертання веденої ланки 2. Потім вінець закріплюється із основою. На рисунку 2.14 стрілками вказано напрям обертання ланок.
Працює варіатор так. Від деякого джерела механічного руху ланка 1, яка веде, через вал І отримує рівномірний обертовий рух із постійною частотою 1 n . Диск ДК через конічну торцеву поверхню передає обертовий рух проміжній ланці 3, тобто сателіту С, через циліндричну поверхню. Сателіт С отримує обертовий рух відносно осі ІІІ проміжної ланки 4, що являє собою водило h і одночасно разом із водилом обертається навколо основи 5 завдяки утворенню на радіусі rf вищої кінематичної пари із вінцем 6. Таким чином, сателіт С здійснює планетарний обертовий рух відносно осі І-ІІ основи 5. Через конічну поверхню сателіт дотикається до плоскої поверхні диска ДП і надає веденій ланці 2, а відповідно, і вихідному валу ІІ трансформований обертовий рух. Функціональна можливість варіатора, що має чотири ланки n = 4, чотири однорухомих кінематичних пари 5 p = 4 і три вищі кінематичні пари 4 p = 3 , дорівнює одиниці.
Див. також
Джерела
- Попов С. В., Бучинський М. Я., Гнітько С. М., Чернявcький А. М. Теорія механізмів технологічних машин: підручник для студентів механічних спеціальностей закладів вищої освіти. — Харків: НТМТ, 2019. — 268 с.
- Детали машин/К. И. Заблонский. — Киев: Вища шк. Головное изд-во, 1985. — 518 с.