Функціональна схема
Функціона́льна схе́ма (англ. Functional flow block diagram, FFBD )— схема, що роз'яснює певні процеси, що відбуваються у певних функціональних частинах виробу (устаткування) чи у виробі (устаткуванні) в цілому[1].

Функціональне коло — це лінія, канал, тракт певного призначення (канал звуку, відеоканал, тракт НВЧ і т. д.).
Нотація FFBD була розроблена в 1950-х роках і широко використовується в класичній системотехніці (системній інженерії). FFBD є однією з класичних методологій моделювання бізнес-процесів, поряд з блок-схемами, діаграмами потоків даних (DFD), діаграмами потоків управління, діаграмами Ґанта, діаграмами PERT та IDEF.[2]
Історія виникнення
Перший структурований метод документування технологічного процесу, діаграма процесу, був представлений Френком Гілбретом (Frank Gilbreth) членам Американського товариства інженерів-механіків (ASME) у 1921 році у вигляді презентації «Діаграми процесу — перші кроки у пошуку одного найкращого способу»[3]. Інструменти Гілбрета швидко потрапили в навчальні програми з промислової інженерії.
На початку 1930-х років промисловий інженер Аллан Х. Могенсен (Allan H. Mogensen) почав навчати бізнесменів використанню деяких інструментів промислової інженерії на своїх конференціях зі спрощення роботи в Лейк-Плесіді, Нью-Йорк. Арт Спінангер (Art Spinanger), випускник класу Могенсена 1944 року, повернув інструменти до Procter and Gamble, де розробив їхню програму поміркованої зміни методів (Deliberate Methods Change Program). Інший випускник 1944 року Бен С. Грехем (Ben S. Graham), директор з інженерії формовки у Standard Register Industrial, адаптував діаграму технологічного процесу до обробки інформації, розробивши діаграму багатопотокових процесів для відображення кількох документів та їх взаємозв’язків. У 1947 році ASME прийняла набір символів як стандарт ASME для операцій та технологічних діаграм, що походить від оригінальної роботи Гілбрета.[3]
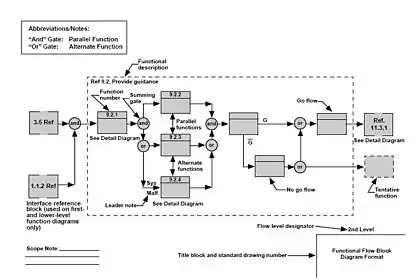
Сучасна блок-схема функціонального потоку була розроблена TRW Incorporated, що займається оборонним бізнесом, у 1950-х роках.[6] У 1960-х роках NASA використало його для візуалізації тимчасової послідовності подій у космічних системах і польотах.[4] FFBD стали широко використовуватися в класичній системній інженерії, щоб показати порядок виконання системних функцій.[2]
Призначення
Функціональна схема містить інформацію про способи реалізації пристроєм заданих функцій. За такою схемою можна визначити, як здійснюються перетворення і які для цього необхідні функціональні елементи. Кожен функціональний елемент містить лише ті входи і виходи, які необхідні для його коректної роботи. Дана схема розробляється на основі структурної схеми для кожного блоку, в результаті з окремих функціональних елементів складається загальна функціональна схема об'єкту.
На основі функціональної та структурної схем розробляється принципова схема.
Також функціональні схеми можуть застосовуватися у програмуванні для візуалізації алгоритмів і спрощення обчислення їх складності, однак у цій сфері форма створення — довільна (точніше, вибирається та, яка зручна автору).
Порядок розробки
Функціональними схемами користуються для вивчення принципу роботи виробів (устаткування), а також при їх налагодженні, контролі чи ремонті. На такій схемі зображують всі функціональні частини виробу та основні зв'язки між ними. Функціональні частини на схемі зображують у вигляді умовних графічних позначень згідно з вимогами державних стандартів. Дозволяється окремі функціональні частини, на яких немає умовних графічних позначень, зображувати у вигляді прямокутників, а також розкривати до рівня принципових схем.
Дозволяється об'єднувати функціональні частини в функціональні групи, які виділяють на схемі штрих-пунктирними лініями. Кожній виділеній групі присвоюють назву або умовне позначення.
На схемі повинно бути вказано:
- для кожної функціональної частини, зображеної прямокутником, її назва або умовне позначення, вписане у прямокутник;
- для кожної функціональної частини або елемента, зображеного умовним графічним позначенням позиційне позначення.
Якщо функціональна схема використовується разом з принциповою, то позиційне позначення елементів та функціональних частин на цих документах повинні бути однаковими. Перелік елементів в цьому випадку для функціональної схеми не складають, оскільки користуються даними принципової схеми.
Якщо функціональна схема розробляється самостійно (без принципової), то позиційне позначення елементів і функціональних частин вказують за загальними правилами і розробляють перелік елементів.
На функціональних схемах рекомендується вказувати поряд з графічним позначенням чи на вільному полі схеми технічні характеристики функціональних частин, діаграми, параметри сигналів тощо.
Примітки
- ГОСТ 2.701-2008 ЕСКД. Схемы. Виды и типы. Общие требования к выполнению.
- Thomas Dufresne & James Martin (2003). "Process Modeling for E-Business" Archived December 20, 2006, at the Wayback Machine. INFS 770 Methods for Information Systems Engineering: Knowledge Management and E-Business. Spring 2003
- Ben B. Graham (2004). "Detail Process Charting: Speaking the Language of Process". p.1
- Harold Chestnut (1967). Systems Engineering Methods. Page 254.