Фільтрувальні центрифуги
Фільтрувальні центрифуги (центрифуга фильтрующая, filtering centrifuge, Filterzentrifuge f, Filterschleuder f) — центрифуга для зневоднення зернистого матеріалу фільтруванням на внутрішній поверхні сітчастого (перфорованого) ротора, звичайно конічної, рідше — циліндричної форми.
Загальна характеристика





Розрізняють фільтрувальні центрифуги: за положенням осі обертання ротора — вертикальні і горизонтальні; за способом вивантаження осаду, що утворюється на сітці ротора, — інерційні, вібраційні, шнекові.
Фільтрувальні центрифуги застосовуються, зокрема, в харчовій промисловості (зокрема для видавлювання соків), при зневодненні білизни, зневодненні продуктів збагачення корисних копалин тощо.
Фільтрувальні центрифуги застосовуються в другій стадії зневоднення вугільних концентратів і промпродуктів крупністю 0,5—13 мм після їхнього попереднього зневоднення на вібраційних, конічних і дугових грохотах або в багер-зумпфах та елеваторах. Фільтрувальні центрифуги випускають з вібраційним (ФВВ), інерційним (ФВІ) і шнековим вивантаженням осаду (ФВШ). Для зневоднення тонкоподрібнених продуктів і шламів можуть застосовуватися осаджувальні і осаджувально-фільтрувальні центрифуги.
Центрифуги з відцентровим (інерційним) вивантаженням осаду
Центрифуги з відцентровим (інерційним) вивантаженням осаду типу ФВІ (рис.) доцільно використовувати для зневоднення абразивних продуктів збагачення антрациту.
Вихідний матеріал при подачі в центрифугу отримує значне прискорення при переміщенні по сферичній вставці перед надходженням на фільтрувальну поверхню ротора. Це необхідно для забезпечення руху осаду в умовах, коли кут нахилу твірної ротора менше кута тертя. Далі осад переміщується з швидкістю, яка безперервно зменшується. Видалення зневодненого продукту і фугату з центрифуги здійснюється через відповідні камери. Перевагою центрифуг ФВІ є короткочасність контакту матеріалу з фільтрувальною поверхнею. Втрати твердого з фугатом фільтрувальних центрифуг становлять 1—3 %, а вологість осаду — 7—10 %.
Фільтрувальні центрифуги з вібраційним вивантаженням осаду
Вібраційні центрифуги застосовуються для зневоднення дрібного концентрату (промпродукту) з вмістом не більше 10 % класу 0—0,5 мм. Центрифуги цього типу найповніше відповідають технологічним вимогам: вміст твердого у фугаті складає в середньому 3 % (у шнекових центрифугах 4—5 %), подрібнення матеріалу, що зневоднюється, у 2—2,5 раза менше, ніж у шнекових. Для цих центрифуг характерний менший, порівняно з іншими типами центрифуг, знос фільтрувальних сит. Однак вібраційні центрифуги в порівнянні зі шнековими мають меншу ефективність зневоднення і чутливіші до коливань вологості матеріалу, що зневоднюється. При вмісті в продукті, що зневоднюється, класу 0—0,5 мм понад 15—20 %, а також у тих випадках, коли вібраційні центрифуги не забезпечують необхідної вологості зневодненого осаду, доцільніша установка шнекових фільтрувальних центрифуг.
Для зневоднення абразивних продуктів збагачення антрациту доцільно використовувати центрифуги з відцентровим (інерційним) вивантаженням осаду, у яких забезпечується найменший час контакту матеріалу з фільтрувальною поверхнею.
Центрифуга з вібраційно–пульсуючим розвантаженням осаду
Підвищенню продуктивності центрифуг безперервної дії, без зниження ефекту розділення, сприяє збільшення довжини барабана. У зв’язку з цим останнім часом набули поширення центрифуги з пульсуючим вивантаженням осаду і багатоступінчатим барабаном (рис.). Така центрифуга складається немов би з декількох послідовно включених центрифуг з пульсуючим вивантаженням осаду, що мають відносно короткі барабани, зміщені один відносно одного (по загальній осі). Суспензія, що розділяється, послідовно проходить всі барабани, які здійснюють обертально-поступальний рух уздовж осі. Кромка торця одного барабана служить поршнем-штовхачем для розвантаження осаду з наступного барабана.
Спеціальним поршнем-штовхачем осад виштовхується тільки з барабана першого ступеня. У центрифугах з багатоступінчатим барабаном досягається ефективне розділення суспензій. Переходячи з одного ступеня в іншу, осад розпушується і завдяки цьому додатково підсушується, що сприяє підвищенню продуктивності центрифуги. Одночасно в таких центрифугах досягається ефективніша промивка осаду і краще розділення фугату і промивних вод, ніж в одноступінчатих центрифугах. Питома витрата енергії в багатоступінчатих центрифугах значно менша, ніж в одноступінчатих, оскільки значна частина рідини видаляється вже в барабанах перших ступенів порівняно малого діаметра.
Шнекові фільтрувальні центрифуги
Шнекові фільтрувальні центрифуги типу ФВШ (рис.) застосовуються для зневоднення тих же продуктів, що центрифуги типу ФВВ.
Для збільшення часу перебування матеріалу в центрифузі ФВШ кут конусності ротора зменшений. При такому нахилі ротора осад не переміщується, тому його видаляють шнеком. Вихідний матеріал надходить на обертовий конус і відкидається на поверхню ротора, який обертається з дещо більшою швидкістю. Фугат через шар осаду і фільтрувальну поверхню видаляється з центрифуги, а осад переміщується по фільтрувальній поверхні шнеком і вивантажується у бункер. Центрифуги ФВШ більш складні за конструкцією ніж центрифуги ФВВ, але вони дозволяють зневоднювати продукти з більшим вмістом шламів, а також отримувати зневоднені продукти з вмістом вологи на 2—3 % менше.
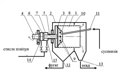
Фільтрувальна центрифуга з поршневим вивантаженням осаду
Горизонтальна фільтрувальна центрифуга з пульсуючим поршнем призначена для розділення грубодисперсних, легко поділюваних суспензій (як правило, з розміром твердих частинок більше 0,1 мм). На рис. представлена схема горизонтальної фільтрувальної центрифуги з поршневим вивантаженням осаду. Працює центрифуга наступним чином. Ротор 1 приводиться в обертання. Спільно з ротором обертається поршень 3 з розподільним конусом 8. У праву і ліву порожнини циліндра 7 полого валу 4 через отвори 14 і 15 по черзі подається стиснене повітря (рідина під тиском). За рахунок цього жорстко пов’язані один з одним диск 6, шток 5 і поршень 3 здійснюють зворотно-поступальні рухи з невеликою амплітудою. Всередину розподільного конуса 8 через трубу 11 подається суспензія. Через отвори 9 в стінці конуса 8 суспензія під дією відцентрових сил викидається всередину ротора 1.
Рідка фаза суспензії (фугат) під дією перепаду тисків, викликаного відцентровими силами, фільтрується через перфоровану стінку ротора 1 і потрапляє в ліву секцію усередині кожуха 2 (секцію зліва від вертикальної перегородки 10). Фугат відводиться з центрифуги через штуцер 12. За рахунок коливань поршня 3 осад, що утворюється на внутрішній поверхні стінки ротора 1, поступово переміщується до його відкритого кінця. З кромки відкритого кінця ротора осад під дією відцентрових сил скидається в праву секцію кожуха. З правої секції кожуха осад видаляється через штуцер 13. У центрифузі додатково можуть бути передбачені пристрої для підведення і відведення промивної рідини, подачі гарячого повітря для термічного підсушування осаду. Недоліками даних центрифуг є значні винесення частинок фугату і потужність, споживана поршнем.
Література
- Мала гірнича енциклопедія : у 3 т. / за ред. В. С. Білецького. — Д. : Східний видавничий дім, 2013. — Т. 3 : С — Я. — 644 с.
- Білецький В. С., Смирнов В. О. Технологія збагачення корисних копалин ((посібник з грифом Мінвузу). — Донецьк: Східний видавничий дім, 2004. — 272 с. (друге видання — 2009 р.)
- Білецький В. С., Олійник Т. А., Смирнов В. О., Скляр Л. В. Техніка та технологія збагачення корисних копалин. Частина ІІІ. Заключні процеси. — Кривий Ріг: Криворізький національний університет. 2019. — 230 с.