Човновий мотор
Підвісний човновий мотор (ПЧМ) — двигун для човна, що прикріплюється до його жорсткого транця. Отримав велике поширення в другій половині XX століття на маломірних суднах (човнах).

Бокові мотори мають різні напрямки обертання гребного гвинта (для вирівнювання правої та левої циркуляції).
Основні переваги в порівнянні зі стаціонарним: підвісний мотор не займає корисний об'єм судна, легко демонтується, що дозволяє зберігати дорогий агрегат в надійному місці.
Спочатку були широко поширені двотактні мотори. Їх переваги — мала вага, висока питома потужність, простота конструкції і загальна невибагливість в експлуатації.
Але поступово їхні недоліки, паралельно з удосконаленням чотиритактних моторів, призводять до скорочення кількості двотактних. Економічність, більш високий ресурс, зручність експлуатації і зростаюча через удосконалення технологій питома потужність — це основні причини, які викликають масовий перехід на чотиритактну конструкцію. Слід зазначити, що чотиритактні мотори порівняно з двотактними аналогічної потужності мають дещо більші габарити, приблизно в 1,5 раза більшу масу, коштують дорожче та вимагають більш дорогих ПММ.
Зростаючі вимоги до екологічності та пряма заборона на використання двигунів внутрішнього згоряння на деяких водоймах привели до розвитку практично безшумних підвісних електромоторів, що живляться від акумуляторів або паливних елементів. Розроблено також підвісний парус, що закріплюється, подібно мотору, на транці човна.
На 2020 рік потужність серійних підвісних човнових моторів досягла 400 кінських сил (Mercury 400 Verado).
Схема мотора



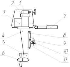
До цього часу підвісні човнові мотори переважно будуються за схемою, запропонованою Олом Евінрудом у 1906 році. Ця схема має вертикальну компоновку вузлів.
Двигун внутрішнього згоряння 1 закріплений в верхній частині проміжного корпусу (дейдвуда) 4. Колінчастий вал двигуна розташований вертикально. На верхньому кінці колінчастого вала закріплені магнето 2 та стартер 3.
Всередині проміжного корпусу 4 проходить вертикальний вал, що зв'язує колінчастий вал двигуна та редуктор. Також всередині проміжного корпусу розташовані трубки подачі води для охолодження двигуна й тяги управління редуктором. Через проміжний корпус здійснюється вихлоп відпрацьованих газів у воду.
Знизу до проміжного корпусу кріпиться кутовий конічний одноступінчатий понижуючий редуктор 5, що забезпечує передачу обертання на гребний гвинт 6. На моторах потужністю до 5 к. с. редуктор може не мати муфти зчеплення і механізму реверсу. На моторах потужністю від 5 до 12 к. с. наявність в редукторі муфти зчеплення обов'язкова, але механізм реверсу може бути відсутнім. На моторах потужністю понад 12 к.с. обов'язкова наявність муфти зчеплення і механізму реверсу. Зазвичай, муфта зчеплення і механізм реверсу об'єднуються в один вузол, званий реверс-муфтою.
Гребний гвинт зазвичай з'єднується з вихідним (гребним) валом редуктора через елемент з обмеженою міцністю — запобіжник. Запобіжник забезпечує екстренне роз'єднання гвинта та інших деталей двигуна в разі удару об підводну перешкоду, що захищає мотор від поламки. У ролі запобіжника може виступати зрізний штифт, зрізна шпонка (після спрацьовування ці елементи підлягають заміні на нові), кулачкова запобіжна муфта багаторазової дії або покрита щільною гумою втулка спеціальної конструкції (rubber hub).
Кріплення мотора до транця човна здійснюється за допомогою підвіски. В залежності від кількості ступенів свободи розрізняють такі підвіски:
- Жорстка — мотор закріплюється на транці човна нерухомо;
- Поворотна — мотор може повертатися навколо вертикальної осі;
- Відкидна — мотор може «відкидатися» — повертатися навколо горизонтальної осі;
- Поворотно-відкидна — поєднує в собі властивості поворотної і відкидної підвіски.
Поворотно-відкидна підвіска отримала найбільше поширення. Вона дозволяє управляти напрямком руху човна через поворот мотора навколо вертикальної осі та відкидати мотор при ударі об підводну перешкоду, а також на стоянці чи в разі подолання мілководдя на веслах.
Підвіска сучасних моторів містить пружні елементи для зниження рівня вібрацій, що передаються на корпус човна.
Поворотно-відкидна підвіска мотора складається з вертикального шарніру 8, що забезпечує поворот навколо вертикальної осі при керуванні курсом човна, горизонтального шарніру 9, що забезпечує відкидання мотора, струбцин 10, які забезпечують швидкознімнне кріплення мотора до транця човна, пружних елементів 11. Мотори великої потужності кріпляться до транця болтами.
Керування підвісним човновим мотором малої і середньої потужності здійснюється за допомогою румпеля 7. На кінці румпеля зазвичай розташована поворотна рукоятка управління дроссельною заслонкою мотора, а в торці румпеля — кнопка «Стоп». Таким чином, управління човновим мотором можно здійснювати однією рукою. Для більшої безпеки на багатьох моторах кнопка «Стоп» діє «на розрив кола». Щоб двигун працював, під неї вставляется «чека́», що через тросик сполучена з тілом кермового. І якщо кермовий раптово впаде у воду — двигун зупиниться.

- 1 — великий кут, човен піднімає ніс;
- 2 — малий кут, човен опускає ніс;
- 3 — оптимальний кут.


- 3 — редуктор;
- 6 — тяга реверсу;
- 5 — антикавітаційна плита;
- 7 — анод катодного захисту.


Мотори середньої та великої потужності керуються дистанційно — з посту управління човном. Дистанційне управління може здійснюватися як за допомогою тросів (штуртрос), так і за допомогою гидравлічних або електричних сервомеханізмів.
Паливний бак зазвичай разміщується у човні та єднається з мотором шлангом. Мотори малої потужності (2,5 — 5 к.с.) мають вбудований паливний бак.
Для запобігання корозії, особливо прі роботі у морській воді, на підводну частину мотора встановлюються аноди катодного захисту. Для компенсації реактивного моменту, що виникає при роботі гребного гвинта, встановлюється регулюємий тример, який, як правило, зполучається з анодом катодного захисту.
Сучасні підвісні мотори для човнів можуть мати ряд вузлів, що забезпечують комфортні умови для екіпажу та пасажирів човна:
- електричний генератор, що забезпечує обладнання човна електроенергією;
- электростартер, що забезпечує запуск мотора;
- гидравличний насос, що забезпечує роботу сервомеханізмів;
- компресор, що забезпечує швидке наповнення стиснутим повітрям балонів надувного човна;
- осушувальний насос, що забезпечує відкачку з човна води, що до нього потрапила;
- бойлер, що забезпечує нагрівання води для опалення кокпіту човна;
- приймач тиску, що забезпечує роботу вказівника швидкості (спідометра);
- контрольно-вимірювальні прилади, що інформують стернового про режим роботи мотора в аварійній ситуації.
Деякі виробники випускають підвісні мотори з водометним рушієм, або допускається заміна редуктора з гребним гвинтом на водометну приставку.
За довжиною дейдвуда (відповідно до висоти транця) підвісні мотори випускаються такими:
- «коротка нога» — 381 мм, що, як правило, означається S (standart) — мотори для звичайних моторных човнів;
- «довга нога» — 508 мм, як правило, означає L (long), — так звані «морські», для катерів та яхт.
Подвісні мотори дуже великої потужності (200—300 к. с. й більше) випускають з ще більш довгим дейдвудом (призначені для катерів):
- UL або X — довжина дейдвуда 635 мм;
- XX — довжина дейдвуда 762 мм.
Відстань між днищем судна та антикавітаційною плитою човнового мотора становить (згідно з інструкцією) приблизно 20—25 мм, та, як правило, остаточно підбираєтся експериментально шляхом зміни висот транця.
Антикавітаційна плита — металева пластина, розташована на дейдвуді горизонтально над гребним гвинтом, і призначена для того, щоб гвинт не зачерпував повітря з поверхні, й, отже, через це не створювалася кавітація.
Інші конструкції підвісних човнових моторів
У країнах Південно-Східної Азії поширені підвісні човнові мотори з двигунами повітряного охолодження (як з двотактними, так і з чотиритактними), які широко застосовуються на малогабаритній сільскогосподарській технікці: на малогабаритних бензинових електростанціях, та ін. На транцевому кріпленні шарнирно закріплена підмоторна рама, й вже на ній встановлюється двигун. Редуктор та муфта зчеплення, як правило, відсутні, гребний гвинт насаджується на подовжувач коленчастого вала. Керування з румпеля. Такі мотори в країнах Азії носять назву «хвіст креветки» (Shrimp Tail Motor). Оскільки двигуни мають повітряне охолодження, такі мотори можуть есплуатуватися у забрудненій воді (пісок, мул), в зарослих водною рослинністю водоймах. На великих прогулянкових човнах встановлюються мотори з водяним охолодженням, що зняті зі старих автомобілів. Мотори аналогічних конструкцій, які знаходять застосування в зброєних силах, носять назву «мотор-весло».
![]() | ![]() | ![]() | ![]() |
| ПЧМ з повітряним охолодженням від сельскогосподарської техніки, Таїланд | Човен з кустарно виготовленим підвісним мотором (використаний двигун з водяним охолодженням від старого автомобіля) | Підвісний дизельний двигун на китайському рибацькому човні[1] | Підвісний мотор-болотохід «Go-Devil» з повітряним охолодженням |
Мотори для човнів виробництва СРСР

Треба мати на увазі різницю між радянським та закордонним маркуванням моделей моторів та визначення їх потужності. Радянські човнові мотори до останнього моменту випускали з вказівкою максимальної потужності на валу двигуна (як у паспорті, так і в марці моделі), а всі закордонні — безпосередньо на гвинті або на гребному валі. Тому, з урахуванням втрат (у редукторі та ін.), у вітчизняних моторів потужність на гребному валі (яка, власне, й «штовхає» човен) зазвичай нижче, ніж у «аналогічних» закордонних моделей. Тому, порівнюючи мотори, треба завжди уточнювати, про яку саме потужність йдеться мова[2].
Мотори для човнів і законодавство України
Головним документом для реєстрації маломірних суден та підвісних моторів на території України є Постанова Кабінету Міністрів України від 26 вересня 1997 р. № 1069 «Про затвердження Порядку ведення Державного суднового реєстру України і Суднової книги України».
Згідно редакції від 24.04.2020 (підстава — 289-2020-п) цієї Постанови, з 1 травня 2020 року змінені правила реєстрації моторів для човнів і маломірних суден в Україні[3][4].
На теперішній час не підлягають реєстрації:
- — малі моторні судна, що оснащені механічним двигуном (двигунами) загальною максимальною потужністю до 10 кВт, крім риболовних суден, що не підлягають надзору класифікаційного товариства;
- — веслові судна довжиною до 4 метров, що не використовуються для промислу водних біоресурсів, перевозки вантажів та/або пасажирів з метою ведення підприємницької діяльності.
Відповідно, всі моторні човни довжиною до 4-х метрів з двигуном потужністю до 13,6 к.с. не підлягають реєстрації[5].
Разом з тим, вимога мати при собі документ, що засвідчує право власності, а також посвічення судноводія при використанні плавзасобу залишилась. Тобто, при собі потрібно мати чек на мотор (в разі гібрида — на його голову), на якому вказано серийний номер, на сам човен, а також права.
Див. також
Примітки
- Див. фотографію рибальського човна китайського виробництва, традиційну для приамурської провінції Хейлунцзян, так звана моторна джонка
- ЯК ВИБРАТИ ЧОВНОВИЙ МОТОР?. Архів оригіналу за 23 грудня 2014. Процитовано 23 грудня 2014.
- Про затвердження Порядку ведення Державного суднового реєстру України і Суднової книги України. Документ 1069-97-п, в редакції від 24.04.2020 р.
- Про внесення змін до Порядку ведення Державного суднового реєстру України і Суднової книги України. Документ 289-2020-п, в редакції від 08.04.2020 р.
- Роз'яснення змін в правилах реєстрації човнових моторів в Україні з 1 травня 2020 року.



