Шахтні сховища
Шахтні сховища — підземні ємності шахтного типу для зберігання нафти і газу, що споруджуються в потужних стійких відкладах і природно непроникних гірських породах або породах, що піддаються герметизації з допомогою нескладних інженерних рішень.

Загальний опис
Придатними для спорудження нафто- і газосховищ вважаються непроникні гірські породи, якщо вони не фільтрують продукт, що зберігається, не містять включень, що впливають на кондиції продукту, який зберігається, стійкі до гірничого тиску. Розроблена класифікація порід за екрануючою здатністю, що дозволяє рекомендувати гірські породи для спорудження сховищ нафтопродуктів (тиск в ємностях понад 0,1 МПа), бутану (понад 0,5 МПа), пропану (понад 1,5 МПа), етану (понад 4 МПа), етилену (4-7 МПа). Не рекомендується споруджувати підземні ємності шахтним способом; під потужними (товщиною понад 40 м) льодовиками, алювіальними породами, що вимагають обов'язкового суцільного кріплення, в породах, що вміщають кам'яне вугілля, газ і нафту. До комплексу Ш.с. входять підземні виробки-резервуари, розкривні виробки, допоміжні виробки, надземні споруди, технологічне устаткування та ін.
Виробки-ємності, як правило, мають висоту від 4-х (глинистий сланець) до 13-ти (граніт) метрів. В залежності від ємності сховища і стійкості порід поперечний переріз виробок-резервуарів має круглу, склепінчасту або трапецеїдальну форми. Місткість Ш.с. — від 25 до 200 тис. м3, максимальний об'єм до 5 млн м3.
Глибина закладання шахтних сховищ (Ш.с.) визначається наявністю достатньо великого за товщиною пласта газонепроникної гірської породи. Мінімальна глибина розміщення шахтових сховищ обмежується тиском насичених парів продукту, що зберігається. Практично мінімальна глибина залягання ємностей береться з розрахунку, що тиск 0,1 Мпа зрівноважується стовпом гірської породи 4,6—6 м. Там, де газопроникність гірських порід точно не визначається, сховища необхідно розташовувати на глибині нижче рівня ґрунтових вод. Для пропану мінімальна глибина Ш.с., не повинна бути менше 90 м, для бутану — 50 м. Витрати на будівництво та експлуатацію Ш.с. нафти і газу пропорційні глибині його закладання.
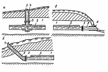
Розкривні виробки в залежності від гірничо-геологічних умов бувають вертикальними, горизонтальними і похилими (див. рис.). Вертикальні або похилі стволи пов'язані з горизонтальними виробками — штольнями. Розкривні виробки призначені для з'єднання виробок-резервуарів з поверхнею, розміщення трубопроводів і експлуатаційного обладнання. Допоміжні виробки — колекторні виробки, камери насосних станцій, експлуатаційні свердловини. Відпрацьовані виробки шахт можуть бути використані за умови забезпечення герметичності та міцності гірських порід, що їх вміщують.
Наземні споруди шахтних сховищ відрізняються від аналогічних виробничих комплексів наземних нафтобаз наявністю припливно-витяжних вентиляційних систем, які розташовують в підшахтній будівлі.
Технологічне устаткування сховищ
Технологічне устаткування сховищ включає приймальні та витратні трубопроводи, насоси, буферні наземні резервуари, вимірювальні пристрої кількості нафтопродуктів, прилади відбору проб тощо. У Ш.с. одночасно можуть знаходитися один чи декілька видів нафтопродуктів і скраплених вуглеводневих газів. У залежності від об'єму сховища, кількості продуктів, які одночасно зберігаються, гірничо-геологічних та гірничо-технічних факторів Ш.с. споруджують камерного типу із замкнутою системою виробок-ємностей, камерного типу з відокремленими виробками-ємностями, чарункового типу. Покрівля виробок Ш.с. чарункового типу підтримується ціликом, розміри якого в залежності від фізико-механічних властивостей порід складають в плані 10х10 чи 15×15 м. Для герметизації внутрішньої поверхні Ш.с. використовують кремнійорганічні сполуки типу силікон, а також емульсії для водорозчинних полімерів у комбінації зі смолистими цементами. Пісковики герметизують покриттями з латексу, неопрену з силіконовою смолою та іншими додатками. Використовується також спеціальна полімерна плівка чи алюмінієвий лист. Ізоляцію напилюють чи наклеюють на внутрішню поверхню Ш.с. Наземний комплекс Ш.с. оснащується пристроями прийому та видачі продуктів зберігання.
В основу технологічних схем експлуатації Ш.с. покладено використання насосних чи самопливних схем заповнення і насосних чи безнасосних способів спорожнення підземних ємностей. У технологічних схемах Ш.с., які експлуатуються з підпиранням підземними водами, додатково передбачаються системи для відбирання підземних вод зануреними насосами. Для видавання продуктів, які зберігаються, на поверхні використовуються як занурені насоси, що розташовані в експлуатаційних свердловинах чи розкривних виробках, так і незанурені насоси з горизонтальним валом, які встановлюються в підземних насосних станціях.
Приклади сучасних сховищ
Шахтні сховища
Загальний об'єм Ш.с. для зріджених вуглеводневих газів становить у США понад 2 млн м3, Франції 200 тис. м3, Бельгії 100 тис. м3; для нафти і нафтопродуктів — у Фінляндії 4,5 млн м3, Швеції понад 3 млн м3, Норвегії 1,4 млн м3. Як Ш.с. використовуються підземні порожнини, що утворилися внаслідок виробки корисних копалин: у Франції (залізорудний рудник з об'ємом порожнин 5 млн м3), Німеччині (соляний рудник — 4,8 млн м3), США (вугільна шахта — 4,25 млн м3).
Див. також
Література
- Мала гірнича енциклопедія : у 3 т. / за ред. В. С. Білецького. — Д. : Східний видавничий дім, 2013. — Т. 3 : С — Я. — 644 с.