N-OFDM
N-OFDM (англ. Non-Orthogonal Frequency Division Multiplexing — мультиплексування з неортогональним частотним поділом каналів) є цифровим методом модуляції, що використовує множину близько розташованих, неортогональних за частотою піднесучих[1][2]. Як і в OFDM, кожна піднесуча модулюється за звичайною схемою модуляції (наприклад, квадратурна амплітудна модуляція).
| Методи модуляції |
|---|
| Аналогова модуляція |
| AM · ЧМ (FM) · ФМ (PM) · QAM · SSB |
| Цифрова модуляція |
| АМн · ФМн · ЧМн · GMSK OFDM · COFDM · TCM |
| Імпульсна модуляція |
| АІМ · ДМ · ІКМ · ΣΔ · ШІМ · ЧІМ · ФІМ |
| Розширення спектра |
| DSSS · FHSS |
| Див. також: Демодуляція |
Принцип розміщення піднесучих

N-OFDM сигнал формується гармонійними піднесучими, які можуть бути рознесені за частотою як на рівні частотні інтервали (в цьому випадку має місце еквідистантне розташування піднесучих), так і на різні (нееквідистантний варіант N-OFDM). При еквідистантному розташуванні частот смуга частот N-OFDM сигну ділиться на підканалів, ширина кожного з яких , де — тривалість сигнальної вибірки, над якою виконується операція швидкого перетворення Фур'є (символьний інтервал).
Якщо записати вираз для частотного інтервалу між піднесучими у вигляді , то випадок буде відповідати OFDM, а — еквідистантному варіанту N-OFDM.
При нееквідистантному розміщенні піднесучих, у загальному випадку в межах одного багаточастотного пакету можуть комбінуватися не тільки частотні інтервали , а й притаманні OFDM () і навіть FDM (). Перевагою нееквідистантного розташування піднесучих є можливість значного зменшення похибок оцінювання квадратурних складових амплітуд сигналів у порівнянні з рівномірним частотним інтервалом[1][2].
Коротка історія N-OFDM
Прообразом цього методу модуляції сигналів став спосіб вимірювання амплітудно-частотних характеристик (АЧХ) радіотехнічної системи за допомогою багаточастотного сигнального пакета, викладений в описі патенту Російської Федерації на винахід № 2054684 [3]. У цьому винаході використано оптимальне оцінювання амплітуд кожного з гармонійних сигналів, ідентичне застосованому згодом для демодуляції N-OFDM сигналів. Істотною відмінністю зазначеного способу стало те, що частоти вхідних впливів у сумарному пакеті тестових сигналів можуть бути рознесені на частотний інтервал, менший релєївської межі розрізення (ширини АЧХ частотного фільтра).
У 2001 р. Слюсарем В. І. було покладено початок розвитку теорії N-OFDM[4][5][6][7]. Цей науковий напрям став узагальненням технології OFDM і відрізняється надрелеївським ущільненням сигналів за частотою з подальшою демодуляцією сигналів шляхом оптимального рішення системи рівнянь правдоподібності відносно невідомих оцінок амплітуд.
Аналогічні роботи за кордоном вперше появились осінню 2003 року[8][9][10][11][12][13]. При цьому застосовуються еквівалентні по відношенню до N-OFDM терміни NOFDM[14], n-OFDM[15], Spectrally Efficient FDM (SEFDM)[8][16] та інші, які по суті описують відомі з публікацій по N-OFDM[3][4][5][6][7] методи формування і обробки неортогональних за частотою сигналів, або ж являють собою їхній подальший розвиток.
Переваги N-OFDM
Хоча демодуляція N-OFDM сигналів і є більш складною у порівнянні з OFDM, перехід до неортогонального розташування частот піднесучих забезпечує низку переваг:
- більш висока спектральна ефективність, що дозволяє зменшити смугу частот, яку займуть сигнали, і поліпшити електромагнітну сумісність множини терміналів;
- адаптивне відлаштування від зосереджених за частотою завад шляхом зміни номіналів частот піднесучих;
- можливість врахування допплерівських зсувів частот піднесучих при роботі з абонентами, що рухаються на високих швидкостях;
- використання різних частотних планів як додатковий ключ для захисту інформації від несанкціонованого доступу до каналу зв'язку;
- зменшення пік-фактора багаточастотної сигнальної суміші.
Методи обробки N-OFDM сигналів
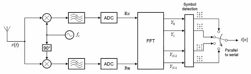
Ідеалізований передавач N-OFDM сигналів

Ідеалізований приймач N-OFDM сигналів

Ортогоналізація Грама-Шмідта та Льовдіна
Для демодуляції сигналів N-OFDM в роботах[17][18] використовують класичну процедуру ортогоналізації сигналів Грама-Шмідта, яка дозволяє перетворити лінійно незалежну систему векторів в ортонормовану. Недоліком такого підходу є суттєве зростання похибок ортогоналізації при збільшенні кількості піднесучих сигналів в пакеті, особливо при скороченні їх частотного рознесення. Більш стійкою до похибок є процедура ортогоналізації Льовдіна (Per-Olov Löwdin)[17].
Демодуляція N-OFDM сигналів на основі вейвлет-фільтрації
Для демодуляції N-OFDM сигналів, що являють собою сукупність гармонійних, неортогональних за частотою піднесучих, на прийомній стороні може використовуватися вейвлет-фільтрація. В найпростішому випадку це може бути система ортогональних за частотою вейвлет-фільтрів, що синтезують на основі вейвлет-перетворень, які породжують АЧХ з зручним аналітичним описом[19]. Прикладом таких вейвлетів є гармонійні сплески та вейвлет Морлє[20].
Примітки
- Слюсар, Вадим. (2013). Неортогональное частотное мультиплексирование (N-OFDM) сигналов. Часть 1.. Технологии и средства связи. – 2013. - № 5. с. С. 61 – 65.
- Слюсар, Вадим. (2013). Неортогональное частотное мультиплексирование (N-OFDM) сигналов. Часть 2.. Технологии и средства связи. – 2013. - № 6. с. C. 60 – 65.
- Слюсар, В.И. (1992). Патент Российской Федерации № 2054684, G01R23/16. Способ измерения амплитудно-частотных характеристик. - 1992.. Опубл. 20.02.96, Бюл. № 5.
- Sliusar, Vadym Іvanovych; Smoliar Viktor Hryhorovych. (2002). Pat. of Ukraine № 47835 A. IPС8 H04J1/00, H04L5/00. Method of Frequency-Division Multiplexing of Nsrrow-Band Information Channels.. Appl. № 2001106761, Priority Data 03.10.2001. – Official Publication Data 15.07.2002, Official Bulletin № 7.
- Sliusar, Vadym Іvanovych; Smoliar Viktor Hryhorovych, Stepanets Anatolii Mykhailovych, Sliusar Ihor Ivanovych. (2002). Pat. of Ukraine № 47918 A. IPС8 H04J1/00, H04L5/00. Method for Frequency-Division Multiplexing of Nsrrow-Band Information Channels.. Appl. № 2001117512, Priority Data 05.11.2001. – Official Publication Data 15.07.2002, Official Bulletin № 7.
- Слюсар, В.И., Смоляр В. Г. (2003). Частотное уплотнение каналов связи на основе сверхрелеевского разрешения сигналов.. Известия вузов. Сер. Радиоэлектроника.- 2003. - Том 46, № 7. с. C. 30 – 39.
- Слюсар, В.И., Смоляр В. Г. (2004). Метод неортогональной дискретной частотной модуляции сигналов для узкополосных каналов связи.. Известия вузов. Сер. Радиоэлектроника.- 2004. - Том 47, № 4. с. C. 53 – 59.
- M. R. D. Rodrigues and I. Darwazeh. A Spectrally Efficient Frequency Division Multiplexing Based Communications System.// InOWo'03, 8th International OFDM-Workshop, Proceedings, Hamburg, DE, September 24-25, 2003. — https://www.researchgate.net/publication/309373002
- Masanori Hamamura, Shinichi Tachikawa. Bandwidth efficiency improvement for multi-carrier systems. //15th IEEE International Symposium on Personal, Indoor and Mobile Radio Communications, vol. 1, Sept. 2004, pp. 48 — 52.
- Li. D. B. A high spectral efficiency technology and method for overlapped frequency division multiplexing [P]. 2006, PCT/CN2006/002012 (in Chinese)
- Xing Yang, Wenbao Ait, Tianping Shuait, Daoben Li. A Fast Decoding Algorithm for Non-orthogonal Frequency Division Multiplexing Signals // Communications and Networking in China, 2007. CHINACOM '07. — 22-24 Aug. 2007.- P. 595—598.
- I. Kanaras, A. Chorti, M. Rodrigues, and I. Darwazeh, "A combined MMSE-ML detection for a spectrally efficient non orthogonal FDM signal, " in Broadband Communications, Networks and Systems, 2008. BROADNETS 2008. 5th International Conference on, Sept. 2008, pp. 421 −425.
- I. Kanaras, A. Chorti, M. Rodrigues, and I. Darwazeh, "Spectrally efficient FDM signals: Bandwidth gain at the expense of receiver complexity, " in IEEE International Conference on Communications, 2009. ICC ’09., June 2009, pp. 1 −6.
- Bharadwaj, S., Nithin Krishna, B.M.; Sutharshun, V.; Sudheesh, P.; Jayakumar, M. Low Complexity Detection Scheme for NOFDM Systems Based on ML Detection over Hyperspheres.//Devices and Communications (ICDeCom), 2011 International Conference on. — 24-25 Feb. 2011. — Pp. 1-5.
- Ahmad, Norulhusna; S-Yusof, S. Kamilah; Fisal. Norsheila; Anwar, Khoirul; Matsumoto, Tad. Soft-feedback MMSE Equalization for Nonorthogonal Frequency Division Multiplexing (n-OFDM) Signal Detection.// 2012 International ITG Workshop on Smart Antennas (WSA). — 2012-03-07. — Pp. 248—255. — https://dspace.jaist.ac.jp/dspace/bitstream/10119/10532/1/17698.pdf.
- Safa Isam A Ahmed. Spectrally Efficient FDM Communication Signals and Transceivers: Design, Mathematical Modelling and System Optimization.//A thesis submitted for the degree of PhD. — Communications and Information Systems Research Group Department of Electronic and Electrical Engineering University College London. — October, 2011.- http://discovery.ucl.ac.uk/1335609/1/1335609.pdf
- Darwazeh Izzat. A New look at Frequency Division Multiplexing; Operating below the Orthogonality Limit.//The 2nd IET International Conference on Wireless, Mobile & Multimedia Networks (ICWMMN 2008). — Beijing, China. — Oct. 12 — 15 , 2008.
- Ioannis D. Kanaras. Spectrally Efficient Multicarrier Communication Systems: Signal Detection, Mathematical Modelling and Optimisation. A thesis submitted for the degree of Doctor of Philosophy. — Communications and Information Systems Research Group, Department of Electronic and Electrical Engineering, University College London. — June 2010. — 214 p. — http://discovery.ucl.ac.uk/766544/1/766544.pdf.
- Слюсар В. И. Вейвлет-концепция для N-OFDM сигналов. // ІІ Всеукраїнська науково-технічна конференція «Проблеми інфокомунікацій», Полтава — Київ — Харків, 20-21 листопада 2018 р. — C. 39-41.
- Аршакян А. А. Ларкин Е. В. Частотные характеристики фильтров, выделяющих гармонические составляющие.// Известия Тульского государственного университета. Технические науки. — 2012.
- Макаров С. Б., Завьялов С. В. Повышение помехоустойчивости когерентного приёма неортогональных многочастотных сигналов.//Научно-технические ведомости Санкт-Петербургского Государственного политехнического университета. Информатика. Телекоммуникации. Управление. — Выпуск 2(193)/2014. — C.45 - 54. - http://ntv.spbstu.ru/fulltext/T2.193.2014_05.PDF
Література
Посилання
- Слюсарь Вадим Иванович, Новые матричные операции для цифровой обработки сигналов
- Европейський проект 5GNOW (5th Generation Non-Orthogonal Waveforms)