Бурова лебідка
Бурова лебідка (рос. буровая лебедка, англ. draw works, bore winch; нім. Bohrwinde, Bohrhaspel) — лебідка для виконання спусково-підіймальних операцій подавання бурового інструменту у вибій та інших допоміжних робіт.

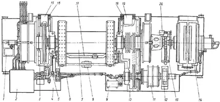
1 — резервуар для бурового розчину
2 — вібраційне сито
3 — всмоктувальна труба
4 — буровий насос
5 — двигун
6 — вібраційна труба
7 — бурова лебідка
8 — провідна бурильна труба
9 — шланг провідної бурильної труби
10 — коліно труби
11 — талевий блок
12 — талевий канат
13 — кронблок
14 — стояк вишки
15 — балкон робітника
16 — свічки
17 — підсвічник
18 — вертлюг
19 — стояк
20 — буровий ротор
21 — бурова підлога
23 — превентор
24 — противикидні пристрої
25 — бурильна колона
26 — бурове долото
27 — кондукторна колона
28 — викидна лінія бурового розчину.
Загальний опис
Бурова лебідка забезпечує спуск і підняття колони бурильних труб, подачу долота на вибій свердловини, спуск обсадних труб, передачу потужності на ротор, підняття і опускання бурової вишки; входить до складу бурової установки.
Лебідка бурова складається з піднімальної (вал з барабаном, стрічкове гальмо, допоміжне електромагнітне гальмо і трансмісія ротора) і трансмісійної (ланцюгова коробка передач, проміжний вал і регулятор подавання долота) частин. У бурових установках універсальної монтажоздатності лебідка бурова монтуються нижче рівня підлоги бурової, на позначці 2,5 м від землі. Для бурових установок глибокого буріння потужність лебідки бурової на барабані становить 550—1250 кВт, найбільший натяг рухомого кінця талевого каната 200—340 кН, маса 13-48 т.
- Класифікація
Бурові лебідки розрізняються за потужністю й іншими технічними параметрами, а також за кінематичними та конструктивними ознаками.
Потужність бурових лебідок регламентується стандартом і знаходиться в межах 200—2950 кВт залежно від глибин буріння.
За кількістю швидкостей підйому розрізняють дво-, три-, чотири-, шести-, восьми- та десятишвидкісні бурові лебідки.
Швидкості підйому змінюються шляхом перемикання передач між валами лебідки або за допомогою окремої коробки зміни передач.
Залежно від привода, що використовується розрізняють бурові лебідки із ступінчастою, безперервно-ступінчастою і безступінчастою зміною швидкостей підйому. Ступінчаста зміна швидкостей підйому використовується в бурових лебідках з механічними передачами від теплових двигунів і електричних двигунів змінного струму. При гідромеханічних передачах лебідки з тими ж двигунами використовується безперервно-ступінчаста зміна швидкості підйому. При використанні привода від електродвигунів постійного струму швидкості підйому лебідки змінюються безступінчасто по кривій потужності двигуна.
За схемою включення швидкохідної передачі розрізняють бурові лебідки з незалежною і залежною «швидкою» швидкістю. Під час спуску бурильних і обсадних труб відповідно з послідовністю виконуваних операцій використовуються дві швидкості: «тиха» — для припідйому колони труб з метою звільнення клинів або елеватора і «швидка» — для подальшого підйому незавантаженого елеватора за черговою свічкою. Бурові лебідки з незалежною схемою швидкостей дозволяють піднімати незавантажений елеватор на «швидкій» швидкості незалежно від «тихої» швидкості, що використовується для припідйому. При залежній схемі незавантажений елеватор піднімають на різних швидкостях, рівних або пропорційних швидкості, що використовується для припідйому колони труб.
За кількістю валів розрізняють одно-, дво- і тривальні бурові лебідки. Одно- і двовальні лебідки забезпечуються окремою коробкою передач. У тривальних лебідках швидкості підйому змінюються за допомогою передач, установлених між валами самої лебідки. Для допоміжних робіт дво- і тривальні бурові лебідки забезпечуються фрикційною котушкою. При використанні одновальної лебідки для цього підключають додаткову допоміжну лебідку.
Бурові лебідки розрізняються за числом швидкостей, що передаються ротору, і кінематичною схемою передач, встановлених між лебідкою і ротором.
За способом управління подачею долота розрізняють бурові лебідки з ручним і автоматичним управлінням, що здійснюється за допомогою регулятора подачі долота.
Розрізняють також лебідки з краплинним і струменевим змащуванням ланцюгових передач; повітряним і водяним охолодженням гальмівних шківів; гідродинамічним і електромагнітним допоміжними гальмами; ручним і дистанційним керуванням.
Конструкція бурової лебідки


На рис. 2 показана бурова лебідка ЛБУ-1100, основні конструктивні елементи якої повторюються в інших моделях сучасних лебідок для експлуатаційного і глибокого розвідувального буріння. Лебідка монтується на зварній металевій рамі 4, пристосованій для її перевезення і переміщення підйомним краном при монтажно-демонтажних роботах. До рами приварені корпуси масляних ванн 3 і 10 ланцюгової передачі, що з'єднують лебідку з коробкою передач. У відцентрованих отворах корпусів масляних ванн установлений підйомний вал з барабаном 7 бурової лебідки.
У корпусі 10 розміщується друга ланцюгова передача, яка використовується для приводу вала 11 трансмісії ротора. Вал трансмісії ротора на сферичних роликопідшипниках встановлюється в додатковому розточенні корпусу 10 і виносної опори 12, закріпленої на рамі лебідки. Масляні ванни, закриті кришками і проміжними кожухами 15 і 19, з'єднуються з коробкою передач. Для усунення витоків мастила, що використовується для змащення ланцюгових передач, у стикових роз'ємах масляних ванн встановлюються прокладки. На рамі з боку пульта 2 бурильника змонтовані стійка 8 балансира, гальмівний вал 17 і вал 5 рукоятки управління стрічковим гальмом. Електромагнітне гальмо 14 кріпиться до рами співвісно з підйомним валом і з'єднується з ним кулачковою муфтою 13. На рамі встановлено два тахогенератори 9 і 20. Тахогенератор 9 призначений для контролю частоти обертання столу ротора і з'єднується ланцюговою передачею з валом трансмісії ротора 11. Тахогенератор 20 з'єднується з валом електромагнітного гальма і призначений для контролю швидкості спуску колон труб при автоматичному режимі роботи електрогальма. На стійці 1 встановлений командоаппарат комплексу АСП для блокування переміщень механізму захоплення свічки і талевого блоку. Привід командоапарата здійснюється від ланцюгової шестерні на підйомному валу лебідки. До рами кріпиться повітропровід 6 системи пневматичного управління лебідкою. Для безпечної роботи та захисту від забруднення рухомі частини лебідки закриті металевими кожухами з дверцями для доступу до її вузлів.
Для поліпшення намотування барабан лебідки забезпечується знімними накладками, що мають паралельні та перехідні спіральні канавки для укладання витків каната (рис. 3)
- Гальмівні пристрої лебідок
Гальмівні пристрої, які застосовуються у бурових лебідках, за призначенням поділяються на основні та допоміжні. Як основні у бурових лебідках використовуються фрикційні стрічкові гальма.
У стрічковому гальмі робочий елемент — гнучка стрічка з фрикційними накладками, які притискуються до гальмівного шківа при кутовому зсуві одного з кінців стрічки. Як допоміжні у бурових лебідках використовуються гідродинамічні і електричні гальмівні пристрої.
Гальмо встановлюють на швидкохідних валах лебідки, які сприймають найменші обертові моменти. Це дозволяє зменшити розміри гальма, залежні від необхідного гальмівного моменту. Замикання і розмикання гальмівних пристроїв здійснюється за допомогою механічного, пневматичного та електричного приводів ручним або автоматичним управлінням. Автоматичне управління забезпечує зупинку в аварійних ситуаціях.
Стрічкове гальмо — основне гальмо бурової лебідки, яке призначене для зупинки і утримання у нерухомому стані бурильної (обсадної) колони, що спускається і піднімаються із свердловини. За відсутності регулятора подачі долота стрічкове гальмо служить для підтримання осьового навантаження на долото і подачі бурильної колони у міру поглиблення вибою свердловини.
Посилання
Джерела
- Бойко В. С., Бойко Р. В. Тлумачно-термінологічний словник-довідник з нафти і газу. Тт. 1-2, 2004—2006 рр. 560 + 800 с.
- Мала гірнича енциклопедія : у 3 т. / за ред. В. С. Білецького. — Д. : Донбас, 2004. — Т. 1 : А — К. — 640 с. — ISBN 966-7804-14-3.
- Білецький В. С. Основи нафтогазової справи / В. С. Білецький, В. М. Орловський, В. І. Дмитренко, А. М. Похилко. — Полтава: ПолтНТУ, Київ: ФОП Халіков Р. Х., 2017. — 312 с.
- Орловський В. М., Білецький В. С., Вітрик В. Г., Сіренко В. І. Бурове і технологічне обладнання. Харків: Харківський національний університет міського господарства імені О. М. Бекетова, НТУ «ХПІ», ТОВ НТП «Бурова техніка», Львів, Видавництво «Новий Світ — 2000», 2021. — 358 с.