Кронблок
Кронбло́к (рос. кронблок; англ. crown block; нім. Turmseilrolle f, Turmrollenblock m, Turmrollenlager n, Kronenblock m) —
- Нерухома частина талевої системи, зокрема поліспасту, що кріпиться у верхній частині підйомної вежі.
- Система нерухомих роликів, яка розміщається на верхній частині вишки або щогли.





Кронблок є нерухомою частиною талевої системи. На осі кронблока посаджені шківи, які обертаються на нерухомих осях на роликових підшипниках. Кронблок встановлюють на наголовнику бурових вишок. Конструкції кронблоків залежать від типу вишок, які використовуються, і відрізняються за числом шківів, вантажопідйомністю та конструктивною схемою.
Загальний опис
Кронблоки встановлюють на наголовнику бурових вишок. Вони є нерухомою частиною талевого механізму. Конструкції кронблоків залежать від типу вишок, які використовуються, і відрізняються за числом шківів, вантажопідйомністю та конструктивною схемою. Шківи кронблока обертаються на нерухомих осях, які розміщені співвісно або неспіввісно (рис. 3). При неспіввісній схемі вісь шківа, що використовується для неходової струни талевого каната, розміщена перпендикулярно до осей інших шківів. Неспіввісне розміщення шківів обумовлено схемою оснастки талевого механізму, яка забезпечує можливість переміщення талевого блока уздовж свічок при застосуванні комплексу АСП для механізованої розстановки свічок. Число шківів і вантажопідйомність кронблоків вибирають в залежності від допустимого навантаження на гаку.
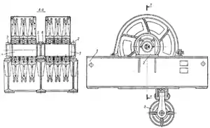
На рис. 4. приведена типова конструкція кронблока із співвісним розміщенням шківів. На зварній рамі 1 в роз'ємних опорах 2 і 5 установлені дві секції 4 і 7 шківів. Рама зварена з поздовжніх і поперечних балок, виготовлених з прокату високої якості. Осі в опорах закріплені від прокручування дюбелями 6. Підвісний блок 3 використовується для допоміжних робіт.
Кожна секція (рис. 5) складається з осі 1, на якій встановлені шківи 4, що обертаються на підшипниках кочення 2. В залежності від вантажопідйомності кронблока шківи встановлюють на двох роликових або здвоєних підшипниках з конічними роликами. Між підшипниками сусідніх шківів на осі є розпірні кільця 7, завдяки яким виключається тертя маточин суміжних шківів, що обертаються з різною частотою. Між зовнішніми кільцями роликопідшипників у маточинах шківів встановлюються розрізні пружинні кільця 3, а на осі — розпірні кільця 5 з проточкою і отворами для подачі мастила до підшипників. Через маслянки 11, поздовжні 8 і радіальні 6 отвори в осі мастило подається ручним насосом в порожнину між кільцями 3 та 5 підшипників шківа.
Для збереження мастила та захисту підшипників від забруднення використовуються фланцеві кришки 9, закріплені на маточинах шківів. В деяких конструкціях для цього використовуються лабіринтові ущільнення, що складаються з кілець, запресованих у маточину, які входять в кільцевий паз маточини сусіднього шківа. Осьові зазори підшипників регулюються гайкою12, яку утримує від відкручування гвинт 10 або стопорна шайба.
Шківи та підшипники кронблоків зношуються нерівномірно. Найбільшому зношенню піддаються підшипники і канавки шківа, які огинаються ходовою струною талевого каната, і сусідніх з ним шківів, що швидко обертаються. Секційне розташування шківів дозволяє забезпечити їх рівномірне зношування шляхом повороту кожної секції на 1800 або їх перестановки, якщо число шківів у секціях однакове. Завдяки цьому збільшується термін служби кронблока.
Секції шківів закриваються кожухами. Для запобігання вискакування каната з канавки шківа зазор між шківами і кожухом не повинен перевищувати 0,15 діаметра каната.
Див. також
Література
- Мала гірнича енциклопедія : у 3 т. / за ред. В. С. Білецького. — Д. : Донбас, 2004. — Т. 1 : А — К. — 640 с. — ISBN 966-7804-14-3.
- Баграмов Р. А. Буровые машины и комплексы. — Москва: Недра, 1988. — С. 129, 148—150. (рос.)
- Северинчик М. А. Машины и оборудование для бурения скважин. — Москва: Недра, 1986. — С. 249, 256—259, 260—275. (рос.)
- Бойко В. С., Бойко Р. В. Тлумачно-термінологічний словник-довідник з нафти і газу: у 2-х томах. — Київ : Міжнародна економічна фундація, 2004. — Т. 1: А–К. — 560 с.
- Бойко В. С., Бойко Р. В. Тлумачно-термінологічний словник-довідник з нафти і газу: у 2-х томах. — Львів : Апріорі, 2006. — Т. 2: Л–Я. — 800 с.
- Орловський В. М., Білецький В. С., Вітрик В. Г., Сіренко В. І. Бурове і технологічне обладнання: навчальний посібник для студентів спеціальностей 184 «Гірництво» і 185 «Нафтогазова інженерія та технології» / Харківський національний університет міського господарства імені О. М. Бекетова, НТУ «ХПІ», ТОВ НТП «Бурова техніка». — Львів : Новий Світ—2000, 2021. — 358 с. — ISBN 978-617-7519-56-9.